几种 I/O 模型
为什么 Redis 中要使用 I/O 多路复用这种技术呢?
首先,Redis 是跑在单线程中的,所有的操作都是按照顺序线性执行的,但是由于读写操作等待用户输入或输出都是阻塞的,所以 I/O 操作在一般情况下往往不能直接返回,这会导致某一文件的 I/O 阻塞导致整个进程无法对其它客户提供服务,而 I/O 多路复用就是为了解决这个问题而出现的。
阻塞IO
先来看一下传统的阻塞 I/O 模型到底是如何工作的:当使用 read 或者 write 对某一个文件描述符(File Descriptor 以下简称 FD)进行读写时,如果当前 FD 不可读或不可写,整个 Redis 服务就不会对其它的操作作出响应,导致整个服务不可用。
这也就是传统意义上的,也就是我们在编程中使用最多的阻塞模型:

public static void main(String[] args) throws IOException {ServerSocket serverSocket = new ServerSocket(9999);// 新建一个线程用于接收客户端连接// 伪异步 IOnew Thread(() -> {while (true) {System.out.println("开始阻塞, 等待客户端连接");try {Socket socket = serverSocket.accept();// 每一个新来的连接给其创建一个线程去处理new Thread(() -> {byte[] data = new byte[1024];int len = 0;System.out.println("客户端连接成功,阻塞等待客户端传入数据");try {InputStream inputStream = socket.getInputStream();// 阻塞式获取数据直到客户端断开连接while ((len = inputStream.read(data)) != -1) {// 或取到数据System.out.println(new String(data, 0, len));// 处理数据}} catch (IOException e) {e.printStackTrace();}}).start();} catch (IOException e) {e.printStackTrace();}}}).start();}
如果接受到了一个客户端连接而不采用对应的一个线程去处理的话,首先 serverSocket.accept(); 无法去获取其它连接,其次 inputStream.read() 可以看到获取到数据后需要处理完成后才能处理接收下一份数据,正因如此在阻塞 I/O 模型的场景下我们需要为每一个客户端连接创建一个线程去处理
阻塞模型虽然开发中非常常见也非常易于理解,但是由于它会影响其他 FD 对应的服务,所以在需要处理多个客户端任务的时候,往往都不会使用阻塞模型。
非阻塞IO

可以看到是通过服务端应用程序不断的轮询内核数据是否准备好,如果数据没有准备好的话,内核就返回一个 BWOULDBLOCK 错误,那么应用程序就继续轮询直到数据准备好了为止,在 Java 中的 NIO(非阻塞I/O, New I/O) 底层是通过多路复用 I/O 模型实现的。而现实的场景也是诸如 netty,redis,nginx,nodejs 都是采用的多路复用 I/O 模型,因为在非阻塞 I/O 这种场景下需要我们不断的去轮询,也是会消耗大量的 CPU 资源的,一般很少采用这种方式。我们这里手写一段伪代码来看下
Socket socket = serverSocket.accept();// 不断轮询内核,哪个 socket 的数据是否准备好了while (true) {data = socket.read();if (data != BWOULDBLOCK) {// 表示获取数据成功doSomething();}}
多路复用IO
阻塞式的 I/O 模型并不能满足这里的需求,我们需要一种效率更高的 I/O 模型来支撑 Redis 的多个客户(redis-cli),这里涉及的就是 I/O 多路复用模型了
Java 中的 NIO 就是采用的多路复用机制,他在不同的操作系统有不同的实现,在 windows 上采用的是 select ,在 unix/linux 上是 epoll。而 poll 模型是对 select 稍许升级大致相同。
最先出现的是 select 。后由于 select 的一些痛点比如它在 32 位系统下,单进程支持最多打开 1024 个文件描述符(linux 对 IO 等操作都是通过对应的文件描述符实现的 socket 对应的是 socket 文件描述符),poll 对其进行了一些优化,比如突破了 1024 这个限制,他能打开的文件描述符不受限制(但还是要取决于系统资源),而上述 2 中模型都有一个很大的性能问题导致产生出了 epoll。后面会详细分析

在 I/O 多路复用模型中,最重要的函数调用就是 select,该方法的能够同时监控多个文件描述符的可读可写情况,当其中的某些文件描述符可读或者可写时,select 方法就会返回可读以及可写的文件描述符个数。
关于 select 的具体使用方法,在网络上资料很多,这里就不过多展开介绍了;
与此同时也有其它的 I/O 多路复用函数 epoll/kqueue/evport,它们相比 select 性能更优秀,同时也能支撑更多的服务。
Reactor 设计模式
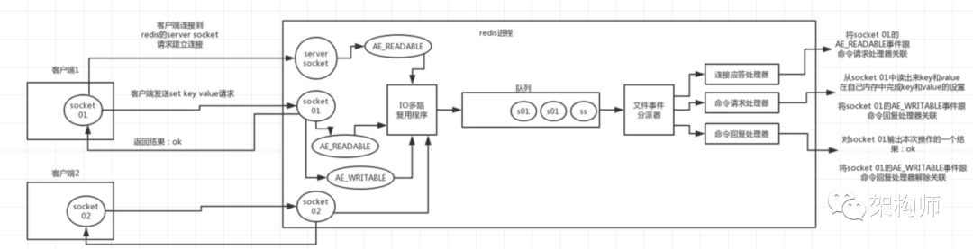
Redis 服务采用 Reactor 的方式来实现文件事件处理器(每一个网络连接其实都对应一个文件描述符)
Redis基于Reactor模式开发了网络事件处理器,这个处理器被称为文件事件处理器。它的组成结构为4部分:多个套接字、IO多路复用程序、文件事件分派器、事件处理器。因为文件事件分派器队列的消费是单线程的,所以Redis才叫单线程模型。




消息处理流程
尽管多个文件事件可能会并发地出现,但I/O多路复用程序总是会将所有产生事件的套接字都推到一个队列里面,然后通过这个队列,以有序(sequentially)、同步(synchronously)、每次一个套接字的方式向文件事件分派器传送套接字:当上一个套接字产生的事件被处理完毕之后(该套接字为事件所关联的事件处理器执行完毕), I/O多路复用程序才会继续向文件事件分派器传送下一个套接字。
虽然整个文件事件处理器是在单线程上运行的,但是通过 I/O 多路复用模块的引入,实现了同时对多个 FD(文件描述符) 读写的监控,提高了网络通信模型的性能,同时也可以保证整个 Redis 服务实现的简单
文件事件处理器
文件事件
当 Socket 变得可读时(比如客户端对redis执行write操作,或者close操作),或者有新的可以应答的 Socket 出现时(客户端对redis执行connect操作),Socket就会产生一个AE_READABLE事件。
当 Socket 变得可写的时候(客户端对redis执行read操作),Socket 会产生一个AE_WRITABLE事件。
IO 多路复用程序可以同时监听 AE_REABLE 和 AE_WRITABLE 两种事件,如果一个Socket同时产生了这两种事件,那么文件事件分派器优先处理 AE_READABLE 事件,然后才是 AE_WRITABLE 事件。
文件事件处理器
如果是客户端要连接redis,那么会为 Socket 关联连接应答处理器。
如果是客户端要写数据到redis,那么会为 Socket 关联命令请求处理器。
如果是客户端要从redis读数据,那么会为 Socket 关联命令回复处理器。
客户端与redis通信的一次流程
在 Redis 启动初始化的时候,Redis 会将连接应答处理器跟 AE_READABLE 事件关联起来,接着如果一个客户端跟Redis发起连接,此时会产生一个 AE_READABLE 事件,然后由连接应答处理器来处理跟客户端建立连接,创建客户端对应的 Socket,同时将这个 Socket 的 AE_READABLE 事件跟命令请求处理器关联起来。
当客户端向Redis发起请求的时候(不管是读请求还是写请求,都一样),首先就会在 Socket 产生一个 AE_READABLE 事件,然后由对应的命令请求处理器来处理。这个命令请求处理器就会从Socket中读取请求相关数据,然后进行执行和处理。
接着Redis这边准备好了给客户端的响应数据之后,就会将Socket的AE_WRITABLE事件跟命令回复处理器关联起来,当客户端这边准备好读取响应数据时,就会在 Socket 上产生一个 AE_WRITABLE 事件,会由对应的命令回复处理器来处理,就是将准备好的响应数据写入 Socket,供客户端来读取。
命令回复处理器写完之后,就会删除这个 Socket 的 AE_WRITABLE 事件和命令回复处理器的关联关系。
多路复用模块
I/O 多路复用模块封装了底层的 select、epoll、avport 以及 kqueue 这些 I/O 多路复用函数,为上层提供了相同的接口。

整个 I/O 多路复用模块抹平了不同平台上 I/O 多路复用函数的差异性,提供了相同的接口
子模块的选择
因为 Redis 需要在多个平台上运行,同时为了最大化执行的效率与性能,所以会根据编译平台的不同选择不同的 I/O 多路复用函数作为子模块,提供给上层统一的接口;在 Redis 中,我们通过宏定义的使用,合理的选择不同的子模块:
ifdef HAVE_EVPORTinclude "ae_evport.c"elseifdef HAVE_EPOLLinclude "ae_epoll.c"elseifdef HAVE_KQUEUEinclude "ae_kqueue.c"elsecinclude "ae_select.c"endifendif
因为 select 函数是作为 POSIX 标准中的系统调用,在不同版本的操作系统上都会实现,所以将其作为保底方案:

Redis 会优先选择时间复杂度为 $O(1)$ 的 I/O 多路复用函数作为底层实现,包括 Solaries 10 中的 evport、Linux 中的 epoll 和 macOS/FreeBSD 中的 kqueue,上述的这些函数都使用了内核内部的结构,并且能够服务几十万的文件描述符。
但是如果当前编译环境没有上述函数,就会选择 select 作为备选方案,由于其在使用时会扫描全部监听的描述符,所以其时间复杂度较差 $O(n)$,并且只能同时服务 1024 个文件描述符,所以一般并不会以 select 作为第一方案使用。
动图理解
通常的一次的请求结果如下图所示:

但是,服务器往往不会只处理一次请求,往往是多个请求,这一个请求,这时候每来一个请求,就会生成一个进程或线程。

在这些请求线程或者进程中,大部分都处于等待阶段,只有少部分是接收数据。这样一来,非常耗费资源,而且这些线程或者进程的管理,也是个事儿。

于是,有人想到一个办法:我们只用一个线程或者进程来和系统内核打交道,并想办法把每个应用的I/O流状态记录下来,一有响应变及时返回给相应的应用。

或者下图:

select、poll、epoll
select, poll, epoll 都是I/O多路复用的具体实现,他们出现是有先后顺序的。
select是第一个实现 (1983 左右在BSD里面实现的)。
select 被实现后,发现诸多问题,然后1997年实现了poll,对select进行了改进,select和poll是很类似的。
再后来,2002做出重大改进实现了epoll。
epoll和 select/poll 有着很大的不同:
例如:select/poll的处理流程如下:

而epoll的处理流程如下:

为啥Redis单线程模型也能效率这么高?
作者:Rico
原文:hogwartsrico.github.io/2020/06/24/Redis-and-Multiplexing/
END
版权申明:内容来源网络,版权归原创者所有。除非无法确认,我们都会标明作者及出处,如有侵权烦请告知,我们会立即删除并表示歉意。谢谢。





