Elasticsearch设计的理念是分布式搜索引擎,底层其实是基于lucene。核心思想是在多台机器上启动多个es进程实例,组成一个es集群。
es中存储数据的基本单位是索引,比如说你现在要在es中存储一些订单数据,你就应该在es创建一个索引order_idx,所有的订单数据都会写入这个索引里面去,一个索引差不多相当于mysql中的一个数据库。为了方面记忆,可以跟传统的数据库对比来看,但记住不是一样的概念。
index(database) -> type(table) --> mapping(struct) --> document(行) --> field(字段的值)
很多情况下,一个index里可能就只有一个type,但是确实如果说一个index里有多个type的情况,你可以认为index就像一个数据库,一个数据库有多个type表,每个表有多个document行,每行也会有多个field字段的值,而mapping对应这个type的表结构定义,但在es7.x已经被移除。

你创建一个索引,这个索引可以拆分成多个shard,每个shard存储部分数据。拆分多个shard是有好处的。一是支持横向扩展。比如你的数据量是3T,3个shard,每个shard就1T的数据,若现在数据量增加到4T,怎么扩展呢?简单,重新建一个有4个shard的索引,将数据导进去;而是提供性能,数据分布在多个shard,即多台服务器上,所有的操作,都会在多台机器上并行分布式执行。提高了吞吐量和性能。
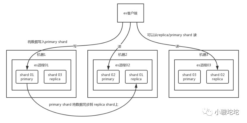
接着就是多个shard的数据实际是有多个备份,就是说每个shard都会有个primary shard,负责写入数据,但是有多个replica shard。primary shard写入数据之后,会将数据同步到其他几个replica shard上去。

通过这个replica的方案,每个shard的数据都有多个备份,如果某台服务器挂了,没关系,还有别的数据副本在其他集群上,由此实现了高可用。
es集群多个节点,会自动选举一个节点为master节点,这个master节点其实就是干一些管理的工作,比如维护索引元数据,负责切换primary shard和replica shard身份等,如果master节点挂了,那么会重新选举一个节点为master节点。
如果非master节点挂了,那么master节点会让宕机的primary shard的身份转移到其他机器上replica shard。接着你要是修复了那个宕机节点机器,重启之后,master节点会控制将缺失的replica shard分配过去,同步后续修改的数据等操作, 让集群正常工作。
简单来说,非master节点宕机之后,节点上primary shard就没有了。那么master会让primary shard对应的replica shard(其他机器)切换成primary shard 。当宕机服务器修复之后,修复后的的节点不在是primary shard,而是replica shard。
上述其实就是elsaticsearch作为分布式搜索引擎的最基本的架构设计。




