华为云云耀云服务器 L 实例是一种轻量级、高性能、高可靠、高安全的云服务器产品,适用于各种场景,如网站建设、跨境电商店铺管理、视频服务器搭建、轻量企业业务系统等。它提供了多种配置规格,满足不同的性能需求和价格预算。
BT(宝塔)面板可视化的服务器管理软件,支持一键 LAMP/LNMP/监控/网站/FTP/数据库/JAVA 等 100 多项服务器管理功能。可以通过 Web 端轻松管理服务器,提升运维效率。例如:管理网站、管理文件、图表化监控、计划任务等功能。本文介绍如何使用宝塔面板管理您的服务器。
以下将介绍如何在华为云云耀云服务器 L 实例上安装和使用宝塔面板,以及如何通过宝塔面板管理服务器的基本操作。
准备工作
在创建云耀云服务器 L 实例之前,请先注册华为帐号并开通华为云,并为帐号。请保证帐号有足够的资金,以免创建云耀云服务器 L 实例失败。
请注册华为帐号、开通华为云,并进行实名认证。
如果您已开通华为云并进行实名认证,请忽略此步骤。
为帐号。
在控制台界面上方,单击“费用与成本”,选择“ 资金管理 > ”,为帐号。

第一步:购买并配置云耀云服务器 L 实例
购买云耀云服务器 L 实例
① 访问云耀云服务器 L 实例主页:
其中,当前云耀云服务器 L 实例搞活动,点击购买按钮,就会跳转到领取优惠券的楼层。新注册的华为云 V0 新用户有专享礼券,领券购买包年低至 105 元!在华为云 828 营销季期间购买,还会有更多优惠!
② 下方的实例展示卡片中,挑选您需要的配置,单击“购买”。
③ 根据界面提示,设置云耀云服务器 L 实例参数,选择合适的镜像以便快速搭建环境。
这里,我们可以看到云耀云服务器 L 实例提供了非常丰富的镜像,包括宝塔面板、企业建站系统 WordPress、Docker 可视化 Portainer、一站式 DevOps 平台 GitLab 等,根据实际需求配置相关参数。
④ 单击“去支付”,根据页面提示完成支付。
⑤ 单击“返回华为云云耀云服务解决方案控制台”,查看已创建的云耀云服务器 L 实例。

运行 nginx_huaweicloud.sh 脚本设置 Nginx 安全级别
① 在资源卡片上选择更多操作按钮(三个小点),单击“重置密码”。
② 根据界面提示,设置云服务器的新密码,并确认新密码。
运行中的云服务器需重启后新密码才能生效,默认勾选“自动重启”。
③ 单击“确认”。
④ 在资源卡片上,单击“远程登录”。
⑤ 根据界面提示,输入用户名密码登录云服务器。
用户名为 root,密码为步骤 2 设置的密码。
⑥ 执行如下命令,运行 nginx_huaweicloud.sh 脚本
wget -N && bash nginx_huaweicloud.sh
因为 Nginx 安全级别过高,可能导致部分镜像功能不可用。可通过运行 nginx_huaweicloud.sh 脚本解决。
须知:云服务器没有初始密码,在第一次使用云服务器时,请先设置密码。密码丢失或密码过期时,亦需要通过重置密码获取新的密码。
配置安全组
① 单击云耀云服务器 L 实例卡片,进入资源管理页面。
② 在左侧列表中选择“云耀云服务器 L 实例”菜单,单击云服务器名称,进入云服务器详情页面。

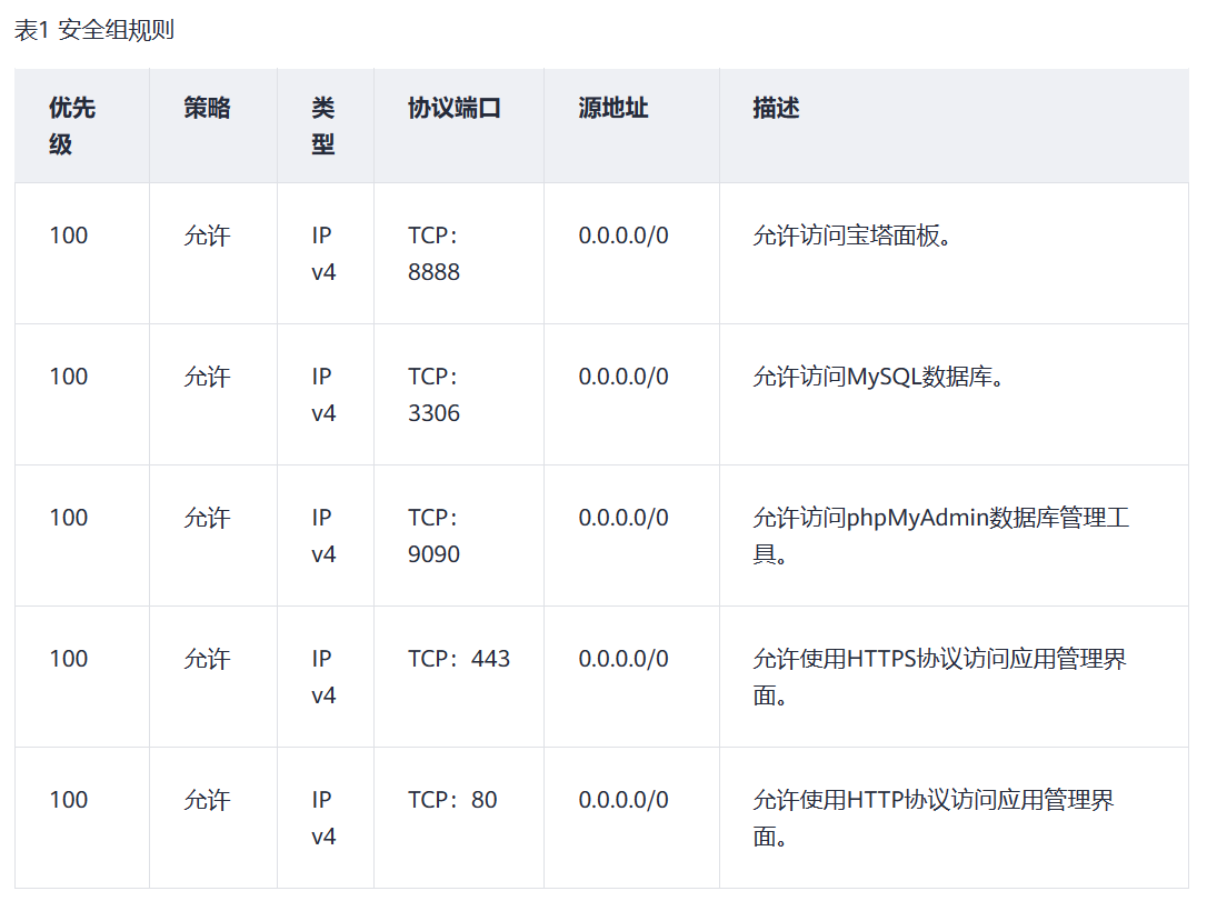
③ 选择“安全组”页签,单击“添加规则”,添加如下规则,单击“确定”。
本例只添加常用规则,您可根据需要添加更多规则。

配置结果示例:

添加并解析域名(可选)
请为服务器添加并解析域名保护网站安全,并且方便您的用户访问网站。如果您仅为个人开发或测试使用,可以不添加域名。
① 选择“域名”页签,单击“添加域名”。
② 输入域名,例如 domaintest.com,单击“确定”。
请确保这里的域名已注册,如果您还没有域名,请单击“前往购买”注册域名(付费)

③ 单击 domaintest.com 域名操作列表中的“解析域名”,设置域名前缀。
前缀和域名组成新的子域名。支持将域名或者子域名解析至当前云服务器公网 IP。若域名前缀为空,表示将域名 domaintest.com 解析至当前服务器公网 IP。
④ 在“域名”页签查看解析的域名。
⑤ 备案域名。
要想通过域名成功访问服务器,必须备案域名。
第二步:初始化宝塔面板
获取宝塔管理界面的管理员用户名及密码。
登录云服务器,运行 sudo cat /credentials/password.txt 命令行获取宝塔管理界面用户名及密码。可查看到管理员用户名为 administrator。

您也可以登录云服务器,运行 cd /www/server/panel && btpython tools.py panel passwd administrator 命令直接设置管理员密码。其中,“passwd”为管理员 administrator 的密码。例如 cd /www/server/panel && btpython tools.py panel abc123456 administrator,指管理员 administrator 的密码为 abc123456。
在服务器“概览”页“镜像信息”中,单击“管理”登录管理界面进入安装向导。

输入步骤 1 获取的用户名密码,单击“登录”。

登录后如果出现如下提示,请单击“未有账号,免费注册”在宝塔官网注册。
在宝塔官网注册后,在这里输入注册的手机号和密码登录宝塔面板。

安装基础组合软件。
请选择 LNMP(推荐)或者 LAMP 基础组合软件,单击“一键安装”,等待安装直至结束。
后续也可以在“软件商店”中自行选择并安装其他软件。

至此,您已获得一台完备的宝塔面板应用云耀云服务器 L 实例。您可以开始使用宝塔面板,也可以按照部署宝塔面板中的步骤,进行管理软件、管理文件、管理日志、管理数据库操作。
第三步:部署宝塔面板
本节简介常用操作,更多指导详见宝塔官网。
管理软件
在“软件商城”菜单中,可以对软件进行安装、卸载等管理操作。
您可以直接搜索软件名称安装软件,也可以根据分类安装您需要的软件。PHP 扩展是增强 PHP 语言功能的插件,请安装 PHP 扩展插件。
选择“软件商店 > 已安装”,单击 PHP 软件后的“设置”。
选择“安装扩展”,单击“安装”,根据业务需求选择安装 PHP 扩展插件。

选择“服务”,单击“重启”,重启 PHP 服务后插件生效。

管理文件
在“文件”菜单中,您可以对文件进行复制、粘贴、剪切、删除、重命名、压缩、刷新、新建文件、新建目录等操作。

管理日志
在“日志”菜单中,根据不同的日志类型将日志做了分类,您可以点击不同类型的日志页签查看、清空日志。

管理数据库
在宝塔面板中,推荐使用 phpMyAdmin 管理数据库,包括修改密码、导入/导出数据、创建用户、开启或关闭远程访问、日志配置等。
在“数据库”菜单中,单击数据库页签,例如 MySQL。
单击“添加数据库”,为云耀云服务器 L 实例添加数据库,并设置访问权限。

单击“phpMyAdmin”,出现 phpMyAdmin 访问安全提示,选择“通过面板访问”。
输入数据库的用户名密码。

单击“登录”,进入可视化数据库界面。

以上就是通过华为云云耀云服务器 L 实例,如何使用宝塔面板管理服务器的简单介绍,希望对您有所帮助。如果您想了解更多关于华为云云耀云服务器 L 实例或宝塔面板的信息,欢迎访问华为云官网或宝塔面板官网,或者联系华为云的人员。
通过华为云云耀云服务器 L 实例,使用宝塔面板实现服务器的全方位监控和管理
- 2023-08-18海南
本文字数:2770 字
阅读完需:约 9 分钟
华为云云耀云服务器 L 实例是一种轻量级、高性能、高可靠、高安全的云服务器产品,适用于各种场景,如网站建设、跨境电商店铺管理、视频服务器搭建、轻量企业业务系统等。它提供了多种配置规格,满足不同的性能需求和价格预算。
BT(宝塔)面板可视化的服务器管理软件,支持一键 LAMP/LNMP/监控/网站/FTP/数据库/JAVA 等 100 多项服务器管理功能。可以通过 Web 端轻松管理服务器,提升运维效率。例如:管理网站、管理文件、图表化监控、计划任务等功能。本文介绍如何使用宝塔面板管理您的服务器。
以下将介绍如何在华为云云耀云服务器 L 实例上安装和使用宝塔面板,以及如何通过宝塔面板管理服务器的基本操作。
准备工作
在创建云耀云服务器 L 实例之前,请先注册华为帐号并开通华为云,并为帐号。请保证帐号有足够的资金,以免创建云耀云服务器 L 实例失败。
请注册华为帐号、开通华为云,并进行实名认证。
如果您已开通华为云并进行实名认证,请忽略此步骤。
为帐号。
在控制台界面上方,单击“费用与成本”,选择“ 资金管理 > ”,为帐号。
第一步:购买并配置云耀云服务器 L 实例
购买云耀云服务器 L 实例
① 访问云耀云服务器 L 实例主页:
其中,当前云耀云服务器 L 实例搞活动,点击购买按钮,就会跳转到领取优惠券的楼层。新注册的华为云 V0 新用户有专享礼券,领券购买包年低至 105 元!在华为云 828 营销季期间购买,还会有更多优惠!
② 下方的实例展示卡片中,挑选您需要的配置,单击“购买”。
③ 根据界面提示,设置云耀云服务器 L 实例参数,选择合适的镜像以便快速搭建环境。
这里,我们可以看到云耀云服务器 L 实例提供了非常丰富的镜像,包括宝塔面板、企业建站系统 WordPress、Docker 可视化 Portainer、一站式 DevOps 平台 GitLab 等,根据实际需求配置相关参数。
④ 单击“去支付”,根据页面提示完成支付。
⑤ 单击“返回华为云云耀云服务解决方案控制台”,查看已创建的云耀云服务器 L 实例。
运行 nginx_huaweicloud.sh 脚本设置 Nginx 安全级别
① 在资源卡片上选择更多操作按钮(三个小点),单击“重置密码”。
② 根据界面提示,设置云服务器的新密码,并确认新密码。
运行中的云服务器需重启后新密码才能生效,默认勾选“自动重启”。
③ 单击“确认”。
④ 在资源卡片上,单击“远程登录”。
⑤ 根据界面提示,输入用户名密码登录云服务器。
用户名为 root,密码为步骤 2 设置的密码。
⑥ 执行如下命令,运行 nginx_huaweicloud.sh 脚本
wget -N && bash nginx_huaweicloud.sh
因为 Nginx 安全级别过高,可能导致部分镜像功能不可用。可通过运行 nginx_huaweicloud.sh 脚本解决。
须知:云服务器没有初始密码,在第一次使用云服务器时,请先设置密码。密码丢失或密码过期时,亦需要通过重置密码获取新的密码。
配置安全组
① 单击云耀云服务器 L 实例卡片,进入资源管理页面。
② 在左侧列表中选择“云耀云服务器 L 实例”菜单,单击云服务器名称,进入云服务器详情页面。
③ 选择“安全组”页签,单击“添加规则”,添加如下规则,单击“确定”。
本例只添加常用规则,您可根据需要添加更多规则。
配置结果示例:
添加并解析域名(可选)
请为服务器添加并解析域名保护网站安全,并且方便您的用户访问网站。如果您仅为个人开发或测试使用,可以不添加域名。
① 选择“域名”页签,单击“添加域名”。
② 输入域名,例如 domaintest.com,单击“确定”。
请确保这里的域名已注册,如果您还没有域名,请单击“前往购买”注册域名(付费)
③ 单击 domaintest.com 域名操作列表中的“解析域名”,设置域名前缀。
前缀和域名组成新的子域名。支持将域名或者子域名解析至当前云服务器公网 IP。若域名前缀为空,表示将域名 domaintest.com 解析至当前服务器公网 IP。
④ 在“域名”页签查看解析的域名。
⑤ 备案域名。
要想通过域名成功访问服务器,必须备案域名。
第二步:初始化宝塔面板
获取宝塔管理界面的管理员用户名及密码。
登录云服务器,运行 sudo cat /credentials/password.txt 命令行获取宝塔管理界面用户名及密码。可查看到管理员用户名为 administrator。
您也可以登录云服务器,运行 cd /www/server/panel && btpython tools.py panel passwd administrator 命令直接设置管理员密码。其中,“passwd”为管理员 administrator 的密码。例如 cd /www/server/panel && btpython tools.py panel abc123456 administrator,指管理员 administrator 的密码为 abc123456。
在服务器“概览”页“镜像信息”中,单击“管理”登录管理界面进入安装向导。
输入步骤 1 获取的用户名密码,单击“登录”。
登录后如果出现如下提示,请单击“未有账号,免费注册”在宝塔官网注册。
在宝塔官网注册后,在这里输入注册的手机号和密码登录宝塔面板。
安装基础组合软件。
请选择 LNMP(推荐)或者 LAMP 基础组合软件,单击“一键安装”,等待安装直至结束。
后续也可以在“软件商店”中自行选择并安装其他软件。
至此,您已获得一台完备的宝塔面板应用云耀云服务器 L 实例。您可以开始使用宝塔面板,也可以按照部署宝塔面板中的步骤,进行管理软件、管理文件、管理日志、管理数据库操作。
第三步:部署宝塔面板
本节简介常用操作,更多指导详见宝塔官网。
管理软件
在“软件商城”菜单中,可以对软件进行安装、卸载等管理操作。
您可以直接搜索软件名称安装软件,也可以根据分类安装您需要的软件。PHP 扩展是增强 PHP 语言功能的插件,请安装 PHP 扩展插件。
选择“软件商店 > 已安装”,单击 PHP 软件后的“设置”。
选择“安装扩展”,单击“安装”,根据业务需求选择安装 PHP 扩展插件。
选择“服务”,单击“重启”,重启 PHP 服务后插件生效。
管理文件
在“文件”菜单中,您可以对文件进行复制、粘贴、剪切、删除、重命名、压缩、刷新、新建文件、新建目录等操作。
管理日志
在“日志”菜单中,根据不同的日志类型将日志做了分类,您可以点击不同类型的日志页签查看、清空日志。
管理数据库
在宝塔面板中,推荐使用 phpMyAdmin 管理数据库,包括修改密码、导入/导出数据、创建用户、开启或关闭远程访问、日志配置等。
在“数据库”菜单中,单击数据库页签,例如 MySQL。
单击“添加数据库”,为云耀云服务器 L 实例添加数据库,并设置访问权限。
单击“phpMyAdmin”,出现 phpMyAdmin 访问安全提示,选择“通过面板访问”。
输入数据库的用户名密码。
单击“登录”,进入可视化数据库界面。
以上就是通过华为云云耀云服务器 L 实例,如何使用宝塔面板管理服务器的简单介绍,希望对您有所帮助。如果您想了解更多关于华为云云耀云服务器 L 实例或宝塔面板的信息,欢迎访问华为云官网或宝塔面板官网,或者联系华为云的人员。
8 月 22 日-9 月 15 日,华为云 828 营销季火热进行中!多款明星产品和解决方案汇聚一堂,为千行百业及个人开发者提供技术支持、降低上云成本、实现创新发展。即刻登录华为云官网,畅享华为云 828 营销季专属福利,抓住上云采购好时机!8 月 22 日-9 月 15 日,华为云 828 营销季火热进行中!多款明星产品和解决方案汇聚一堂,为千行百业及个人开发者提供技术支持、降低上云成本、实现创新发展。即刻登录华为云官网,畅享华为云 828 营销季专属福利,抓住上云采购好时机!




