自从今年鼎石科技公开了自家的DorisDB后(相关视频见B站), Apache Doris 在社区中掀起了一波热潮, 我也跟风来学习一下,相关总结与大家分享。
首先简单的说下啥是Doris吧,Doris是一个基于mpp的交互式SQL数据仓库,是一个面向多种数据分析场景的、 兼容MySQL协议的, 高性能的, 分布式关系型列式数据库,用于报告和分析。它最初的名字是Palo,由百度开发。在于2018年捐赠给Apache软件基金会后,它被命名为Doris。Doris主要集成了谷歌Mesa和Apache Impala技术,基于面向列的存储引擎,可以通过MySQL客户端进行通信。
现在你了解了啥是Doris,我想你肯定想知道它适合应用在那些场景中,目前Doris可以满足企业级用户的多种分析需求,包括OLAP多维分析,定制报表,实时数据分析,Ad-hoc数据分析等。具体的业务场景包括:
数据仓库建设 OLAP/BI分析 用户行为分析 广告数据分析 系统监控分析 探针分析 APM(Application Performance Management)
简单的来说,传统数仓能做的事Doris也能做,查询分析引擎能干的事Doris也能搞定,总之一句话,存储、计算、查询Doris统一搞定,实时、离线统一数据源。要问Doris 为啥这么牛逼,一出生就决定了,没办法,就这么的牛!

把Doris吹的有点过了,接下来让我们好好了解了解它吧, 这篇我们先了解它的基本概念和架构,后期持续讲解。
DorisDB基本概念
FE:FrontEnd Doris的前端节点,负责管理元数据,管理客户端连接,进行查询规划,查询调度等工作。 BE:BackEnd Doris的后端节点,负责数据存储,计算执行,以及compaction,副本管理等工作。 Broker:Doris中和外部HDFS/对象存储等外部数据对接的中转服务,辅助提供导入导出功能。 Tablet:Doris 表的逻辑分片,也是Doris中副本管理的基本单位,每个表根据分区和分桶机制被划分成多个Tablet存储在不同BE节点上。
架构图

组件介绍
Doris 集群由FE和BE构成, 可以使用MySQL客户端访问Doris集群。
FE
FE接收MySQL客户端的连接, 解析并执行SQL语句。
管理元数据, 执行SQL DDL命令, 用Catalog记录库, 表, 分区, tablet副本等信息。 FE高可用部署, 使用复制协议选主和主从同步元数据, 所有的元数据修改操作, 由FE leader节点完成, FE follower节点可执行读操作。元数据的读写满足顺序一致性。FE的节点数目采用2n+1, 可容忍n个节点故障。当FE leader故障时, 从现有的follower节点重新选主, 完成故障切换。 FE的SQL layer对用户提交的SQL进行解析, 分析, 改写, 语义分析和关系代数优化, 生产逻辑执行计划。 FE的Planner负载把逻辑计划转化为可分布式执行的物理计划, 分发给一组BE。 FE监督BE, 管理BE的上下线, 根据BE的存活和健康状态, 维持tablet副本的数量。 FE协调数据导入, 保证数据导入的一致性。
BE
BE管理tablet副本, tablet是table经过分区分桶形成的子表, 采用列式存储。 BE受FE指导, 创建或删除子表。 BE接收FE分发的物理执行计划并指定BE coordinator节点, 在BE coordinator的调度下, 与其他BE worker共同协作完成执行。 BE读本地的列存储引擎, 获取数据, 通过索引和谓词下沉快速过滤数据。 BE后台执行compact任务, 减少查询时的读放大。 数据导入时, 由FE指定BE coordinator, 将数据以fanout的形式写入到tablet多副本所在的BE上。
其他组件
Hdfs Broker: 用于从Hdfs中导入数据到Doris集群。
数据流和控制流
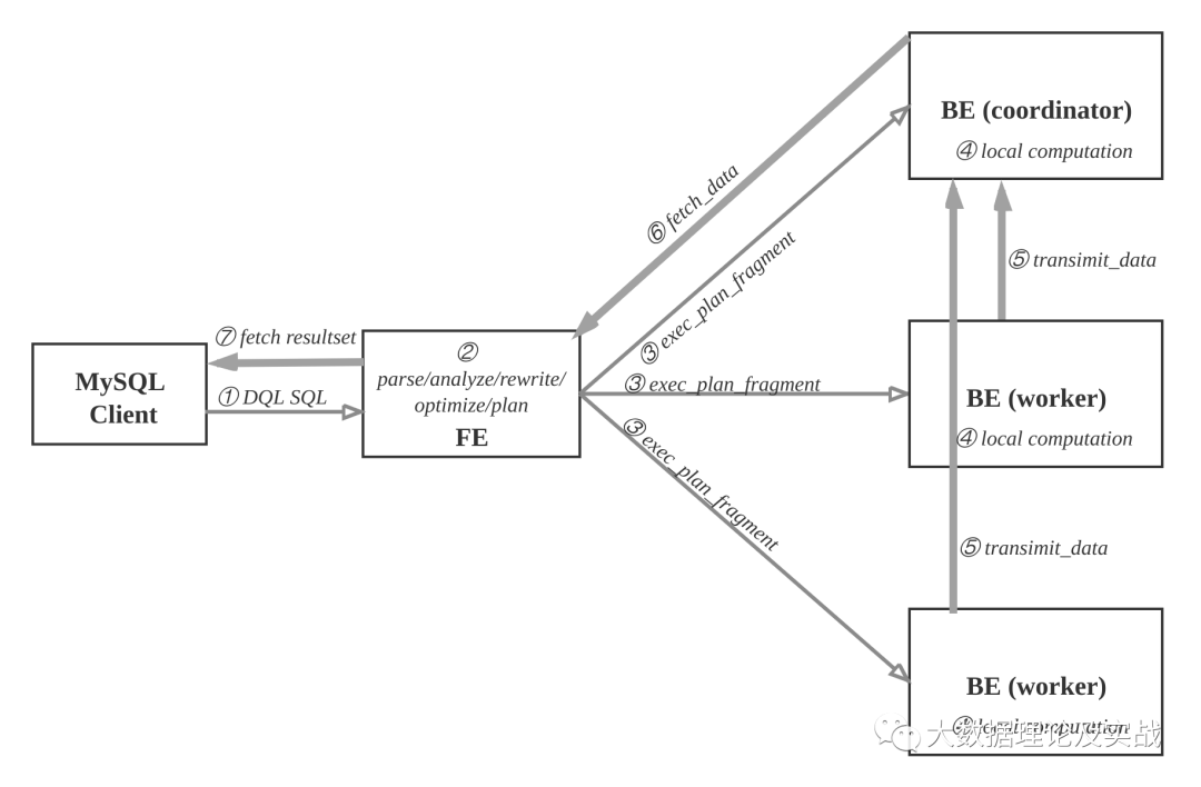
查询
查询流程图:

用户可使用MySQL客户端连接FE,执行SQL查询, 获得结果。
查询流程如下:
① MySQL客户端执行DQL SQL命令。 ② FE解析, 分析, 改写, 优化和规划, 生成分布式执行计划。 ③ 分布式执行计划由 若干个可在单台be上执行的plan fragment构成, FE执行exec_plan_fragment, 将plan fragment分发给BE,指定其中一台BE为coordinator。 ④ BE执行本地计算, 比如扫描数据。 ⑤ 其他BE调用transimit_data将中间结果发送给BE coordinator节点汇总为最终结果。 ⑥ FE调用fetch_data获取最终结果。 ⑦ FE将最终结果发送给MySQL client。
执行计划在BE上的实际执行过程比较复杂, 采用向量化执行方式,比如一个算子产生4096个结果,输出到下一个算子参与计算,而非batch方式或者one-tuple-at-a-time。
思考:在开篇中我说了Doris继承了Apache Impala的技术,这里Doris为什么要指定其中一台BE为coordinator呢,这里和Impala的查询过程中有何不同呢,在这里Doris做了什么优化呢?
数据导入
数据导入功能是将原始数据按照相应的模型进行清洗转换并加载到Doris中,方便查询使用。Doris提供了多种导入方式,用户可以根据数据量大小、导入频率等要求选择最适合自己业务需求的导入方式。
用户创建表之后, 导入数据填充表.
支持导入数据源有: 本地文件, HDFS、Kafka和S3等。 支持导入方式有: 批量导入, 流式导入, 实时导入. 支持的数据格式有: CSV, Parquet, ORC等. 导入发起方式有: 用RESTful接口, 执行SQL命令.
数据导入的流程如下:

① 用户选择一台BE作为协调者, 发起数据导入请求, 传入数据格式, 数据源和标识此次数据导入的label, label用于避免数据重复导入. 用户也可以向FE发起请求, FE会把请求重定向给BE。 ② BE收到请求后, 向FE master节点上报, 执行loadTxnBegin, 创建全局事务。因为导入过程中, 需要同时更新base表和物化索引的多个bucket, 为了保证数据导入的一致性, 用事务控制本次导入的原子性。 ③ BE创建事务成功后, 执行streamLoadPut调用, 从FE获得本次数据导入的计划. 数据导入, 可以看成是将数据分发到所涉及的全部的tablet副本上, BE从FE获取的导入计划包含数据的schema信息和tablet副本信息。 ④ BE从数据源拉取数据, 根据base表和物化索引表的schema信息, 构造内部数据格式。 ⑤ BE根据分区分桶的规则和副本位置信息, 将发往同一个BE的数据, 批量打包, 发送给BE, BE收到数据后, 将数据写入到对应的tablet副本中。 ⑥ 当BE coordinator节点完成此次数据导入, 向FE master节点执行loadTxnCommit, 提交全局事务, 发送本次数据导入的 执行情况, FE master确认所有涉及的tablet的多数副本都成功完成, 则发布本次数据导入使数据对外可见, 否则, 导入失败, 数据不可见, 后台负责清理掉不一致的数据。
关于数据导入详情见:数据导入
更改元数据
更改元数据的操作有: 创建数据库, 创建表, 创建物化视图, 修改schema等等. 这样的操作需要:
持久化到永久存储的设备上; 保证高可用, 复制FE多实例上, 避免单点故障; 有的操作需要在BE上生效, 比如创建表时, 需要在BE上创建tablet副本.
元数据的更新操作流程如下:

① 用户使用MySQL client执行SQL的DDL命令, 向FE的master节点发起请求; 比如: 创建表. ② FE检查请求合法性, 然后向BE发起同步命令, 使操作在BE上生效; 比如: FE确定表的列类型是否合法, 计算tablet的副本的放置位置, 向BE发起请求, 创建tablet副本. ③ BE执行成功, 则修改内存的Catalog. 比如: 将 table, partition, index, tablet 的副本信息保存在Catalog中. ④ FE追加本次操作到EditLog并且持久化. ⑤ FE通过复制协议将EditLog的新增操作项同步到FE的follower节点. ⑥ FE的follower节点收到新追加的操作项后, 在自己的Catalog上按顺序播放, 使得自己状态追上FE master节点.
上述执行环节出现失败, 则本次元数据修改失败。
思考:为什么操作先要在BE上生效再修改内存的Catalog呢?在开篇中我说了Doris继承了Apache Impala的技术,那么Impala在修改元数据的时候具体流程又是如呢?
Doris元数据设计
名词解释
FE:Frontend,即 Doris 的前端节点。主要负责接收和返回客户端请求、元数据以及集群管理、查询计划生成等工作。 BE:Backend,即 Doris 的后端节点。主要负责数据存储与管理、查询计划执行等工作。 bdbje:Oracle Berkeley DB Java Edition。在 Doris 中,我们使用 bdbje 完成元数据操作日志的持久化、FE 高可用等功能。
整体架构

如上图,Doris 的整体架构分为两层。多个 FE 组成第一层,提供 FE 的横向扩展和高可用。多个 BE 组成第二层,负责数据存储于管理。这里主要介绍 FE 这一层中,元数据的设计与实现方式。
FE 节点分为 follower 和 observer 两类。各个 FE 之间,通过 bdbje(BerkeleyDB Java Edition)进行 leader 选举,数据同步等工作。
follower 节点通过选举,其中一个 follower 成为 leader 节点,负责元数据的写入操作。当 leader 节点宕机后,其他 follower 节点会重新选举出一个 leader,保证服务的高可用。
observer 节点仅从 leader 节点进行元数据同步,不参与选举。可以横向扩展以提供元数据的读服务的扩展性。
元数据结构
Doris 的元数据是全内存的。每个 FE 内存中,都维护一个完整的元数据镜像。在百度内部,一个包含2500张表,100万个分片(300万副本)的集群,元数据在内存中仅占用约 2GB。(当然,查询所使用的中间对象、各种作业信息等内存开销,需要根据实际情况估算。但总体依然维持在一个较低的内存开销范围内。)
同时,元数据在内存中整体采用树状的层级结构存储,并且通过添加辅助结构,能够快速访问各个层级的元数据信息。
下图是 Doris 元信息所存储的内容。

如上图,Doris 的元数据主要存储4类数据:
用户数据信息。包括数据库、表的 Schema、分片信息等。 各类作业信息。如导入作业,Clone 作业、SchemaChange 作业等。 用户及权限信息。 集群及节点信息。
数据流

元数据的数据流具体过程如下:
只有 leader FE 可以对元数据进行写操作。写操作在修改 leader 的内存后,会序列化为一条log,按照 key-value 的形式写入 bdbje。其中 key 为连续的整型,作为 log id,value 即为序列化后的操作日志。 日志写入 bdbje 后,bdbje 会根据策略(写多数/全写),将日志复制到其他 non-leader 的 FE 节点。non-leader FE 节点通过对日志回放,修改自身的元数据内存镜像,完成与 leader 节点的元数据同步。 leader 节点的日志条数达到阈值后(默认 10w 条),会启动 checkpoint 线程。checkpoint 会读取已有的 image 文件,和其之后的日志,重新在内存中回放出一份新的元数据镜像副本。然后将该副本写入到磁盘,形成一个新的 image。之所以是重新生成一份镜像副本,而不是将已有镜像写成 image,主要是考虑写 image 加读锁期间,会阻塞写操作。所以每次 checkpoint 会占用双倍内存空间。 image 文件生成后,leader 节点会通知其他 non-leader 节点新的 image 已生成。non-leader 主动通过 http 拉取最新的 image 文件,来更换本地的旧文件。 bdbje 中的日志,在 image 做完后,会定期删除旧的日志。
元数据目录
元数据目录通过 FE 的配置项 meta_dir
指定。bdb/
目录下为 bdbje 的数据存放目录。image/
目录下为 image 文件的存放目录。
image.[logid]
是最新的 image 文件。后缀logid
表明 image 所包含的最后一条日志的 id。image.ckpt
是正在写入的 image 文件,如果写入成功,会重命名为image.[logid]
,并替换掉旧的 image 文件。VERSION
文件中记录着cluster_id
。cluster_id
唯一标识一个 Doris 集群。是在 leader 第一次启动时随机生成的一个 32 位整型。也可以通过 fe 配置项cluster_id
来指定一个 cluster id。ROLE
文件中记录的 FE 自身的角色。只有FOLLOWER
和OBSERVER
两种。其中FOLLOWER
表示 FE 为一个可选举的节点。(注意:即使是 leader 节点,其角色也为FOLLOWER
)
元数据读写与同步
用户可以使用 mysql 连接任意一个 FE 节点进行元数据的读写访问。如果连接的是 non-leader 节点,则该节点会将写操作转发给 leader 节点。leader 写成功后,会返回一个 leader 当前最新的 log id。之后,non-leader 节点会等待自身回放的 log id 大于回传的 log id 后,才将命令成功的消息返回给客户端。这种方式保证了任意 FE 节点的 Read-Your-Write 语义。
注:一些非写操作,也会转发给 leader 执行。比如
SHOW LOAD
操作。因为这些命令通常需要读取一些作业的中间状态,而这些中间状态是不写 bdbje 的,因此 non-leader 节点的内存中,是没有这些中间状态的。(FE 之间的元数据同步完全依赖 bdbje 的日志回放,如果一个元数据修改操作不写 bdbje 日志,则在其他 non-leader 节点中是看不到该操作修改后的结果的。)leader 节点会启动一个 TimePrinter 线程。该线程会定期向 bdbje 中写入一个当前时间的 key-value 条目。其余 non-leader 节点通过回放这条日志,读取日志中记录的时间,和本地时间进行比较,如果发现和本地时间的落后大于指定的阈值(配置项:
meta_delay_toleration_second
。写入间隔为该配置项的一半),则该节点会处于不可读的状态。此机制解决了 non-leader 节点在长时间和 leader 失联后,仍然提供过期的元数据服务的问题。各个 FE 的元数据只保证最终一致性。正常情况下,不一致的窗口期仅为毫秒级。我们保证同一 session 中,元数据访问的单调一致性。但是如果同一 client 连接不同 FE,则可能出现元数据回退的现象。(但对于批量更新系统,该问题影响很小)
宕机恢复
leader 节点宕机后,其余 follower 会立即选举出一个新的 leader 节点提供服务。 当多数 follower 节点宕机时,元数据不可写入。当元数据处于不可写入状态下,如果这时发生写操作请求,目前的处理流程是 FE 进程直接退出。后续会优化这个逻辑,在不可写状态下,依然提供读服务。 observer 节点宕机,不会影响任何其他节点的状态。也不会影响元数据在其他节点的读写。
思考:
1、如果只留一个 leader节点,其他follower 节点都宕机,那么按理来说 Doris 依然能正常提供服务
2、如过这里 leader节点宕机,只留下一个 follower 节点那么 Doris 还能正常提供服务嘛
关注公众号,接收更多干货!





