最近要发D-SMART OB专版,所以对OB的关注会多一些,每天思考的问题大多数也和OB有关。昨天发现D-SMART在Oracle之外的数据库日志分析方面还存在不小的差距,因此组织同事开始弥补差距。当然也免不了重点照顾一下OB的日志。
日志是一个DBA开始运维一种新数据库中首先要接触的可观测性能力,在能看懂某种数据库的日志之前,这个数据库对DBA来说是个黑匣子,其实针对所有的IT基础设施甚至应用软件都是如此,当你学会看这种软件的日志的时候,你已经能够真正的“运维”这个软件系统了。作为复杂的分布式数据库系统,比起普通的软件或者集中式数据库来说,日志难免也要复杂一些。首先每个OBSERVER、rootserivce等组件都会有独立的日志文件,如果分布式数据库的节点多了,没有一个统一的日志中心还真不太好去做日志管理和分析。
其次是OB数据库在日志方面也不太友好,产生的日志数量也太庞大了。在我们实验室的测试环境中安装了一套Oceanbase 4.2.1,这是OB 4的第一个LTS版本。在某个observer节点上,20号下午13点多我清理过一次日志,到了22号14点的时候,这个observer已经产生了差不多20GB的日志文件了。再加上OB的日志格式没有Oracle那么赏心悦目(也许是看了三十年Oracle的日志,看其他日志都不大习惯),因此想在庞大的OB数据库里看日志是件十分麻烦的事情。

当然OB的同学也会强烈给你推荐OCP,在OCP里查看日志信息还是挺方便的。不过对于我这种sqlplus出身的DBA来说,还是有点不习惯GUI的管理界面。前阵子和几个已经在深度使用OB的朋友说起这事。这个也是O记DBA出身的朋友说自从开始用OB之后,再也没有通过命令去运维过OB,一直都是用OCP的。看样子我也要改变下自己的习惯,多用用OCP了。

OB的日志级别与其他数据库类似,一般来说,我们需要关注 ERROR 和 WARN 级别的告警日志,因为它们可能反映了系统的故障或异常,需要及时进行处理。另外,EDIAG 和 WDIAG 级别的日志也可以帮助我们诊断问题的原因和解决方案,但它们通常是 OceanBase 数据库开发者使用的,不一定适合数据库管理员。在目前4.2.1版本里,哪怕是把日志级别设置为WARN,还是会有大量的用于诊断的EDIAG/WDIAG信息会显示在observer.log中,这个小bug也导致了OB的日志量过大。OceanBase 数据库有多个日志文件,其中最重要的是在oceanbase/log目录下的四个:
lobserver.log:记录了 OceanBase 数据库的主要运行日志,包括 SQL 执行、事务处理、分区管理、存储引擎、网络通信等模块的日志信息。
lelection.log:记录了 OceanBase 数据库的选举日志,包括分区选举、租户选举、集群选举等模块的日志信息。
lrootservice.log:记录了 OceanBase 数据库的根服务日志,包括租户管理、表空间管理、表管理、分区管理、备份恢复、平衡等模块的日志信息。
ltrace.log:记录了在OceanBase中做数据库trace的信息。
这些日志文件都有一个对应的 .wf 后缀的文件,例如 observer.log.wf,它们是 WARNING 日志文件,只记录 WARN 及高于 WARN 级别的日志信息。我们可以通过这些文件快速定位系统的告警信息。可能是OB的同学也觉得自己的日志数量太庞大了,因此在一般情况下如果你手头无法访问OCP,需要手工查看OB的日志,不建议你去看*.log文件,而是去检查*.log.wf文件,否则你会被海量的日志文件搞崩溃的。

在查看OB的日志的时候,我们需要关注一下日志的格式。OB日志中最主要的内容包括(1)时间戳;(2)日志级别;(3)错误号(3-A)附加错误号,可能是内部错误号;(4)出错位置;(5)错误信息。
现在你可能已经知道OB的日志文件或者错误信息怎么看了,不过这只是万里长征走出了第一步。下面你还需要像了解Oracle 错误代码一样了解OB的错误号都代表了什么。OB的《参考手册》里有相关OB错误号的描述。

不过这些资料不一定是最新的,可能与OB最新的版本有些差异。幸亏OB是有开源版本的,你可以下载OB源码,打开src/share/ob_errno.def文件来查看最新的错误信息。

OB的-1~-999是预留的错误号,而-1000~-1999和-2001~-3000分别是兼容MySQL server和MySQL client的。大于4000的才是OB原生的错误代码。ob_errno.def的格式是这样的:

通过ob_errno.def我们可以了解OB错误代码的分段情况。日常把这些号段记下来,对于遇到错误的时候快速判断错误可能的原因还是很有帮助的。这里我整理了一张号段表,有兴趣的朋友可以把图截下来保存起来。在Oracle数据库中我也积累过类似的号段表,把号段表背下来,下回遇到在不方便查看电脑的时候,看一眼错误号,也能大致定位出数据库故障或者某个报错大致的定位。下表是针对OB4.X的告警号段,对于OB 3.X,告警信息的含义可能会有一些不同。不过从OB4开始,这些号段相对就比较稳定了。

除了这个文件外,deps/oblib/src/lib/ob_errno.h文件中也定义了一些重要的错误码,有兴趣去读读这个文件也是会有收获的。
学会简单地看OB的日志后,下一步就是要区分哪些告警是致命的,会影响到OB集群的健康,或者影响到业务系统,这些日志是需要产生告警的。其他的日志哪怕级别是ERROR或者WARN,也不需要立即处置,只需要在做巡检、优化的时候关注就可以了。

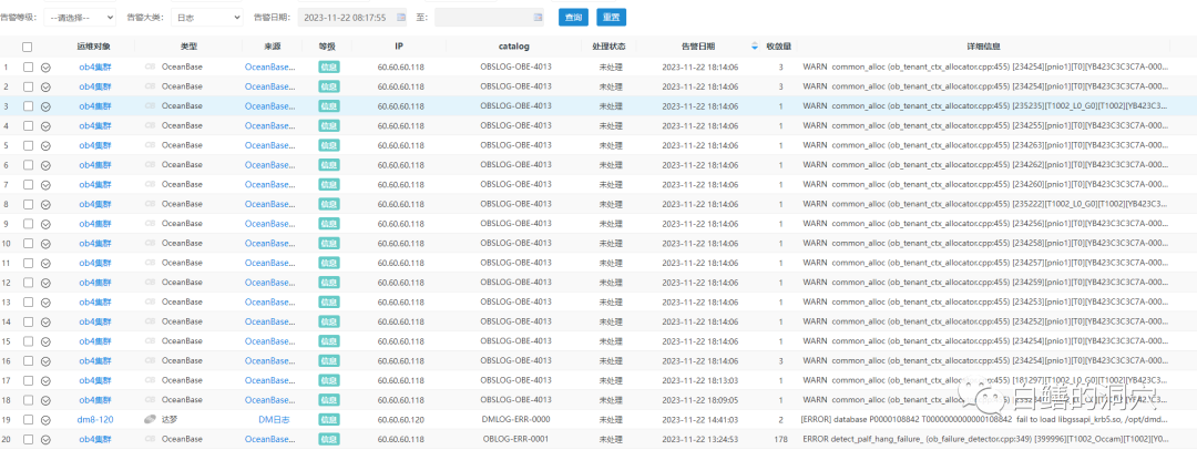
比如在D-SMART中,我们看到昨晚产生了大量的-4013,这些告警虽然不会引发OB集群故障,但是客户端应用会因为租户内存不足而出现报错。运维人员就需要给租户扩内存了。

而更多的日志告警在优化中心中可以查看,其处理的紧急程度没有产生告警的急迫,完全可以在每个月的巡检中做自动的分析。针对OB的日志自动分析工具还在开发中,所以大家看到的这些日志项的状态还是“未分析”,自动分析工具完成后,这些日志会被异步分析。在异步分析中发现某些日志的告警的危害性很高,也会补充发送日志告警。




