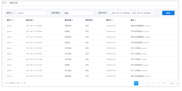
● 摘要
查看所有用户在Insight系统中的操作。
● 步骤
1.选择菜单[系统→操作日志],进入操作日志查看界面。

2.设置操作人、操作类型,可进行模糊搜索。
3.设置操作时间,可搜索一定时间范围内的操作日志,默认近1天。
4.单击表头的三角按钮,可对数据进行排序。
● 摘要
查看当前系统中License信息,也可使用新License更新系统当前License。
● 前提
如更新License,需提前获取License文件,并保存在本地。
● 步骤
1.选择菜单[系统→LICENSE],进入License管理界面。

2.单击更新License按钮,弹出更新License窗口。

3.选择本地License文件并上传,单击确认按钮。
● 摘要
对系统的配置进行设置。
● 步骤
1.通用配置
选择菜单[系统→系统配置],在通用配置中可以设置系统历史数据保留天数、会话超时时间设置、账户并发登录数和是否使用验证码登录。设置完成后点击右上角保存生效。

2.备份配置
如需使用新增salve、新增team功能,还需要在备份配置中进行挂载配置。其中,挂载备份文件的目录为配置的挂载目录,nfs服务器IP为配置挂载目录所在的服务器,组件备份目录统一配置选择是,配置目录与挂载备份文件目录相同。设置完成后点击右上角保存生效。

3.安装规则配置
可以在此设置用户名前缀和密码前缀,还可以查看DN监听端口、DBAgent监听端口、CN监听端口、GTM监听端口、Loadsever监听端口内容以及服务端口。设置完成后点击右上角保存生效。

4.探活页面配置
可以给F5服务器探活配置一个http接口。设置完成后点击右上角保存生效。

5.license配置
在此设置组件实际核数采集间隔和license到期提前告警阈值。设置完成后点击右上角保存生效。

6.服务器SQL报表配置

● 摘要
提供慢日志相关的专家建议。
● 步骤
1.选择菜单[系统→专家建议],进入专家建议界面。

2.点击新增按钮,弹出新增专家建议界面。

3.选择描述,填写阈值与优化建议,点击确定按钮。
4.点击编辑按钮,弹出编辑专家建议界面。

5.点击删除按钮,可删除已有专家建议。




