上一篇文章将openGauss 一主一备升级到了6.0版本(详见openGauss 一主一备 从5.0 LTS 版本升级至 6.0 LTS 版本实战),本篇文章将为你介绍如何手动进行主备切换。
主备架构概述
openGauss 主备数据库通过复制技术实现数据同步,主数据库负责处理业务请求,并将数据变更记录到 WAL(Write-Ahead Logging)日志中,备用数据库通过读取主数据库的 WAL 日志来保持与主数据库的数据同步。主备切换是为了确保数据库的高可用性,当主数据库出现故障时,能够切换到备用数据库,以保证业务的连续性。
主备切换的方式有以下两种:
- switchover:主备之间的角色切换,通常用于计划内的切换,如主节点出于维护的需要,需要手动进行主备切换,将备节点切换为主,主节点切换成备节点。
- failover:主节点发生故障后,备节点提升为主,保证系统可用性。
环境说明
当前环境如下:
| 角色 | 主机名 | IP地址 | 操作系统版本 | 数据库版本 |
|---|---|---|---|---|
| 主 | master | 10.10.10.165 | Kylin Linux V10 | openGauss 6.0.0 |
| 从 | slave | 10.10.10.166 | Kylin Linux V10 | openGauss 6.0.0 |
当前主节点10.10.10.165,备节点为10.10.10.166,运行在银河麒麟的操作系统上。
switchover切换
switchover需要主备节点都正常的情况下,才可以完成。如果主库宕机状态下执行switchover,会因为无法获取主库状态而超时退出switchover。
查看主备情况
查看所有节点状态
###切换omm用户
# su - omm
###查看所有节点状态
[omm@master ~]$ gs_om -t status --detail
[ Cluster State ]
cluster_state : Normal
redistributing : No
current_az : AZ_ALL
[ Datanode State ]
node node_ip port instance state
------------------------------------------------------------------------------------------------------------
1 master 10.10.10.165 15400 6001 /opt/software/openGauss5.0/install/data/dn P Primary Normal
2 slave 10.10.10.166 15400 6002 /opt/software/openGauss5.0/install/data/dn S Standby Normal
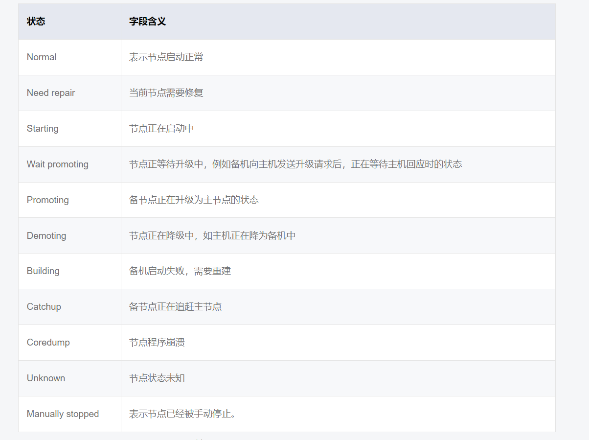
节点状态参数说明:
!
执行主备切换
使用omm用户登录到备节点,执行以下命令,完成切换即可。
[root@slave ~]# su - omm
Last login: Fri Nov 8 12:20:56 CST 2024 on pts/0
[omm@slave ~]$ gs_ctl switchover -D /opt/software/openGauss5.0/install/data/dn
[2024-11-08 12:25:00.619][102526][][gs_ctl]: gs_ctl switchover ,datadir is /opt/software/openGauss5.0/install/data/dn
[2024-11-08 12:25:00.619][102526][][gs_ctl]: switchover term (1)
[2024-11-08 12:25:00.629][102526][][gs_ctl]: waiting for server to switchover........
[2024-11-08 12:25:05.723][102526][][gs_ctl]: done
[2024-11-08 12:25:05.723][102526][][gs_ctl]: switchover completed (/opt/software/openGauss5.0/install/data/dn)
注意:
1、对于同一数据库,上一次主备切换未完成,不能执行下一次切换。
2、当业务正在操作时,发起switchover,可能主机的线程无法停止导致switchover显示超时,实际后台仍然在运行,等主机线程停止后,switchover即可完成。
验证切换结果
switchover完成后,执行如下命令查看当前主备信息:
###刷新主备配置信息
$ gs_om -t refreshconf
Generating dynamic configuration file for all nodes.
Successfully generated dynamic configuration file.
###切换检查(可以看到 10.10.10.166,从 Standby Normal变为了 Primary Normal)
[omm@slave ~]$ gs_om -t status --detail
[ Cluster State ]
cluster_state : Normal
redistributing : No
current_az : AZ_ALL
[ Datanode State ]
node node_ip port instance state
------------------------------------------------------------------------------------------------------------
1 master 10.10.10.165 15400 6001 /opt/software/openGauss5.0/install/data/dn P Standby Normal
2 slave 10.10.10.166 15400 6002 /opt/software/openGauss5.0/install/data/dn S Primary Normal
可以看到当前主库为10.10.10.166,备库为10.10.10.165
###新主库插入测试数据
INSERT INTO t_user(id, name, age) VALUES
(1008, 'Kim',19),
(1009, 'Annie ',16);
###新备库查询数据
openGauss=# select * from t_user;
id | name | age
------+--------+-----
1001 | Ross | 17
1002 | Julie | 19
1003 | Tom | 20
1004 | Joan | 21
1005 | Joes | 18
1006 | Lily | 19
1007 | Linda | 17
1008 | Kim | 19
1009 | Annie | 16
(9 rows)
failover切换
failover的过程是在备库独立完成的,不需要和主库进行交互。如果主库运行正常,执行failover会导致双主发生。
模拟主节点宕机
将数据库主实例所处节点进行关机,以达到模拟主实例挂机的效果。将主节点关机后,目前仅剩备节点,使用omm用户登录备节点后使用gs_om查询状态,会发现gs_om运行非常慢,且无法返回集群信息,所以在此需要使用gs_ctl工具查询集群状态,发现备库处于 Standby Need repair(Disconnected)。
--使用gs_om查询会卡住
[omm@master ~]$ gs_om -t status --detail
--使用gs_ctl来进行查询
[omm@master ~]$ gs_ctl query -Cv -D /opt/software/openGauss5.0/install/data/dn
[2024-11-08 13:25:28.334][17440][][gs_ctl]: gs_ctl query ,datadir is /opt/software/openGauss5.0/install/data/dn
HA state:
local_role : Standby
static_connections : 1
db_state : Need repair
detail_information : Disconnected
Senders info:
No information
Receiver info:
No information
###以上-D指定的是数据目录,当前数据库安装的数据目录/opt/software/openGauss5.0/install/data/dn
备节点执行failover切换
在当前备节点执行以下命令完成切换:
[omm@master ~]$ gs_ctl failover -D /opt/software/openGauss5.0/install/data/dn
[2024-11-08 13:26:11.898][17799][][gs_ctl]: gs_ctl failover ,datadir is /opt/software/openGauss5.0/install/data/dn
[2024-11-08 13:26:11.898][17799][][gs_ctl]: failover term (1)
[2024-11-08 13:26:11.904][17799][][gs_ctl]: waiting for server to failover...
.
[2024-11-08 13:26:12.945][17799][][gs_ctl]: done
[2024-11-08 13:26:12.946][17799][][gs_ctl]: failover completed (/opt/software/openGauss5.0/install/data/dn)
查询状态
###使用gs_om查询还是会卡住
[omm@master ~]$ gs_om -t status --detail
###使用 gs_ctl 进行查询
[omm@master ~]$ gs_ctl query -Cv -D /opt/software/openGauss5.0/install/data/dn
[2024-11-08 13:26:44.070][18724][][gs_ctl]: gs_ctl query ,datadir is /opt/software/openGauss5.0/install/data/dn
HA state:
local_role : Primary
static_connections : 1
db_state : Normal
detail_information : Normal
Senders info:
No information
Receiver info:
No information
###当前运行节点为1台
恢复故障节点
将关机的主机重新开机,然后再查询状态
[omm@master ~]$ gs_om -t status --detail
[ Cluster State ]
cluster_state : Degraded
redistributing : No
current_az : AZ_ALL
[ Datanode State ]
node node_ip port instance state
------------------------------------------------------------------------------------------------------------
1 master 10.10.10.165 15400 6001 /opt/software/openGauss5.0/install/data/dn P Primary Normal
2 slave 10.10.10.166 15400 6002 /opt/software/openGauss5.0/install/data/dn S Down Manually stopped
可以看到节点上的实例状态为Down。
恢复到主备状态
如果直接在备节点使用gs_om -t start或者gs_ctl start -D /opt/software/openGauss5.0/install/data/dn启动后,可能出现双主的情况,会导致整个集群出现问题。
[omm@master ~]$ gs_om -t status --detail
[ Cluster State ]
cluster_state : Unavailable
redistributing : No
current_az : AZ_ALL
[ Datanode State ]
node node_ip port instance state
------------------------------------------------------------------------------------------------------------
1 master 10.10.10.165 15400 6001 /opt/software/openGauss5.0/install/data/dn P Primary Normal
2 slave 10.10.10.166 15400 6002 /opt/software/openGauss5.0/install/data/dn S Primary Normal
###可以看到上面出现双主问题
解决办法:
如果已经出现双主机模式,那么需要先将打算作为备实例的节点先关闭服务,然后启动实例时指定运行模式为standby,
##备节点关闭
gs_ctl stop -D /opt/software/openGauss5.0/install/data/dn
##备节点启动
gs_ctl start -M standby -D /opt/software/openGauss5.0/install/data/dn


验证结果
启动后,使用refreshconf刷新集群配置信息:
[omm@master ~]$ gs_om -t refreshconf
Generating dynamic configuration file for all nodes.
Successfully generated dynamic configuration file.
[omm@master ~]$ gs_om -t status --detail
[ Cluster State ]
cluster_state : Degraded
redistributing : No
current_az : AZ_ALL
[ Datanode State ]
node node_ip port instance state
------------------------------------------------------------------------------------------------------------
1 master 10.10.10.165 15400 6001 /opt/software/openGauss5.0/install/data/dn P Primary Normal
2 slave 10.10.10.166 15400 6002 /opt/software/openGauss5.0/install/data/dn S Standby Need repair(WAL)

查询当前实例状态时,standby节点状态提示“Need repair(WAL)”。
在备节点上执行以下命令进行修复,修复中会有faild报错,可以忽略,主要看最后几行都执行成功即可:
[omm@slave ~]$ gs_ctl build -D /opt/software/openGauss5.0/install/data/dn
[2024-11-08 13:00:25.623][12030][][gs_ctl]: gs_ctl incremental build ,datadir is /opt/software/openGauss5.0/install/data/dn
[2024-11-08 13:00:25.623][12030][][gs_ctl]: fopen build pid file "/opt/software/openGauss5.0/install/data/dn/gs_build.pid" success
[2024-11-08 13:00:25.623][12030][][gs_ctl]: fprintf build pid file "/opt/software/openGauss5.0/install/data/dn/gs_build.pid" success
[2024-11-08 13:00:25.624][12030][][gs_ctl]: fsync build pid file "/opt/software/openGauss5.0/install/data/dn/gs_build.pid" success
waiting for server to shut down..... done
server stopped
[2024-11-08 13:00:27.662][12030][dn_6001_6002][gs_ctl]: Get repl_auth_mode is and repl_uuid is
[2024-11-08 13:00:27.669][12030][dn_6001_6002][gs_ctl]: build try host(10.10.10.165) port(15401) success
[2024-11-08 13:00:27.670][12030][dn_6001_6002][gs_rewind]: set gaussdb state file when incremental build:db state(BUILDING_STATE), server mode(STANDBY_MODE), build mode(INC_BUILD).
[2024-11-08 13:00:27.693][12030][dn_6001_6002][gs_rewind]: connected to server: host=10.10.10.165 port=15401 dbname=postgres application_name=gs_rewind connect_timeout=5 rw_timeout=600
[2024-11-08 13:00:27.715][12030][dn_6001_6002][gs_rewind]: connect to primary success
[2024-11-08 13:00:27.719][12030][dn_6001_6002][gs_rewind]: get pg_control success
[2024-11-08 13:00:27.719][12030][dn_6001_6002][gs_rewind]: target server was interrupted in mode 2.
[2024-11-08 13:00:27.719][12030][dn_6001_6002][gs_rewind]: sanityChecks success
[2024-11-08 13:00:27.719][12030][dn_6001_6002][gs_rewind]: find last checkpoint at 0/4B32AC0 and checkpoint redo at 0/4B32A40 from source control file
[2024-11-08 13:00:27.719][12030][dn_6001_6002][gs_rewind]: find last checkpoint at 0/4B32240 and checkpoint redo at 0/4B32240 from target control file
[2024-11-08 13:00:27.744][12030][dn_6001_6002][gs_rewind]: find max lsn success, find max lsn rec (0/4B32240) success.
[2024-11-08 13:00:27.744][12030][dn_6001_6002][gs_rewind]: Get repl_auth_mode is and repl_uuid is
[2024-11-08 13:00:27.749][12030][dn_6001_6002][gs_rewind]: build try host(10.10.10.165) port(15401) success
[2024-11-08 13:00:27.750][12030][dn_6001_6002][gs_rewind]: request lsn is 0/4B32240 and its crc(source, target):[406373680, 3196163370]
[2024-11-08 13:00:27.755][12030][dn_6001_6002][gs_rewind]: build try host(10.10.10.165) port(15401) success
[2024-11-08 13:00:27.756][12030][dn_6001_6002][gs_rewind]: request lsn is 0/4B321A0 and its crc(source, target):[1420499081, 1310807395]
[2024-11-08 13:00:27.761][12030][dn_6001_6002][gs_rewind]: build try host(10.10.10.165) port(15401) success
[2024-11-08 13:00:27.761][12030][dn_6001_6002][gs_rewind]: request lsn is 0/4B32080 and its crc(source, target):[428762520, 2353216142]
[2024-11-08 13:00:27.767][12030][dn_6001_6002][gs_rewind]: build try host(10.10.10.165) port(15401) success
[2024-11-08 13:00:27.767][12030][dn_6001_6002][gs_rewind]: request lsn is 0/4B31F48 and its crc(source, target):[1942017569, 1250331274]
[2024-11-08 13:00:27.773][12030][dn_6001_6002][gs_rewind]: build try host(10.10.10.165) port(15401) success
[2024-11-08 13:00:27.773][12030][dn_6001_6002][gs_rewind]: request lsn is 0/4B31E28 and its crc(source, target):[603467580, 3056955434]
[2024-11-08 13:00:27.779][12030][dn_6001_6002][gs_rewind]: build try host(10.10.10.165) port(15401) success
[2024-11-08 13:00:27.780][12030][dn_6001_6002][gs_rewind]: request lsn is 0/4B31D08 and its crc(source, target):[2885812938, 2885812938]
[2024-11-08 13:00:27.780][12030][dn_6001_6002][gs_rewind]: find common checkpoint 0/4B31D08
[2024-11-08 13:00:27.780][12030][dn_6001_6002][gs_rewind]: find diverge point success
[2024-11-08 13:00:27.780][12030][dn_6001_6002][gs_rewind]: read checkpoint redo (0/4B31D08) success before rewinding.
[2024-11-08 13:00:27.780][12030][dn_6001_6002][gs_rewind]: rewinding from checkpoint redo point at 0/4B31D08 on timeline 1
[2024-11-08 13:00:27.780][12030][dn_6001_6002][gs_rewind]: diverge xlogfile is 000000010000000000000004, older ones will not be copied or removed.
[2024-11-08 13:00:27.783][12030][dn_6001_6002][gs_rewind]: targetFileStatThread success pid 140323422025472.
[2024-11-08 13:00:27.783][12030][dn_6001_6002][gs_rewind]: reading source file list
[2024-11-08 13:00:27.783][12030][dn_6001_6002][gs_rewind]: traverse_datadir start.
[2024-11-08 13:00:27.783][12030][dn_6001_6002][gs_rewind]: Get log directory guc is /var/log/omm/omm/pg_log/dn_6002
[2024-11-08 13:00:27.807][12030][dn_6001_6002][gs_rewind]: filemap_list_to_array start.
[2024-11-08 13:00:27.808][12030][dn_6001_6002][gs_rewind]: filemap_list_to_array end sort start. length is 2018
[2024-11-08 13:00:27.808][12030][dn_6001_6002][gs_rewind]: sort end.
[2024-11-08 13:00:27.816][12030][dn_6001_6002][gs_rewind]: targetFileStatThread return success.
[2024-11-08 13:00:27.827][12030][dn_6001_6002][gs_rewind]: reading target file list
[2024-11-08 13:00:27.832][12030][dn_6001_6002][gs_rewind]: traverse target datadir success
[2024-11-08 13:00:27.832][12030][dn_6001_6002][gs_rewind]: reading WAL in target
[2024-11-08 13:00:27.832][12030][dn_6001_6002][gs_rewind]: could not read WAL record at 0/4B322E0: invalid record length at 0/4B322E0: wanted 32, got 0
[2024-11-08 13:00:27.833][12030][dn_6001_6002][gs_rewind]: calculate totals rewind success
[2024-11-08 13:00:27.833][12030][dn_6001_6002][gs_rewind]: need to copy 60MB (total source directory size is 109MB)
[2024-11-08 13:00:27.833][12030][dn_6001_6002][gs_rewind]: starting background WAL receiver
[2024-11-08 13:00:27.833][12030][dn_6001_6002][gs_rewind]: Starting copy xlog, start point: 0/4B31D08
[2024-11-08 13:00:27.833][12030][dn_6001_6002][gs_rewind]: in gs_rewind proecess,so no need remove.
[2024-11-08 13:00:27.840][12030][dn_6001_6002][gs_rewind]: build try host(10.10.10.165) port(15401) success
[2024-11-08 13:00:27.841][12030][dn_6001_6002][gs_rewind]: check identify system success
[2024-11-08 13:00:27.841][12030][dn_6001_6002][gs_rewind]: send START_REPLICATION 0/4000000 success
Begin fetching files
Progress: [==================================================] 100% (61721/61721KB). fetch files
Finish fetching files
[2024-11-08 13:00:28.301][12030][dn_6001_6002][gs_rewind]: execute file map success
[2024-11-08 13:00:28.313][12030][dn_6001_6002][gs_rewind]: find minRecoveryPoint success from xlog insert location 0/4B37148
[2024-11-08 13:00:28.313][12030][dn_6001_6002][gs_rewind]: update pg_control file success, minRecoveryPoint: 0/4B37148, ckpLoc:0/4B32AC0, ckpRedo:0/4B32A40, preCkp:0/4B329A0
[2024-11-08 13:00:28.316][12030][dn_6001_6002][gs_rewind]: update pg_dw file success
[2024-11-08 13:00:28.317][12030][dn_6001_6002][gs_rewind]: xlog end point: 0/4B37148
[2024-11-08 13:00:28.317][12030][dn_6001_6002][gs_rewind]: waiting for background process to finish streaming...
[2024-11-08 13:00:32.903][12030][dn_6001_6002][gs_rewind]: truncating and removing old xlog files
[2024-11-08 13:00:32.911][12030][dn_6001_6002][gs_rewind]: truncate and remove old xlog files success
[2024-11-08 13:00:32.911][12030][dn_6001_6002][gs_rewind]: creating backup label and updating control file
[2024-11-08 13:00:32.911][12030][dn_6001_6002][gs_rewind]: create backup label success
[2024-11-08 13:00:32.911][12030][dn_6001_6002][gs_rewind]: read checkpoint redo (0/4B31D08) success.
[2024-11-08 13:00:32.911][12030][dn_6001_6002][gs_rewind]: read checkpoint rec (0/4B31D08) success.
[2024-11-08 13:00:32.912][12030][dn_6001_6002][gs_rewind]: dn incremental build completed.
[2024-11-08 13:00:32.917][12030][dn_6001_6002][gs_rewind]: build try host(10.10.10.165) port(15401) success
[2024-11-08 13:00:32.917][12030][dn_6001_6002][gs_rewind]: fetching MOT checkpoint
[2024-11-08 13:00:32.936][12030][dn_6001_6002][gs_ctl]: waiting for server to start...
.0 LOG: [Alarm Module]can not read GAUSS_WARNING_TYPE env.
0 LOG: [Alarm Module]Host Name: slave
0 LOG: [Alarm Module]Host IP: slave. Copy hostname directly in case of taking 10s to use 'gethostbyname' when /etc/hosts does not contain <HOST IP>
0 LOG: [Alarm Module]Cluster Name: dbCluster
0 LOG: [Alarm Module]Invalid data in AlarmItem file! Read alarm English name failed! line: 58
0 WARNING: failed to open feature control file, please check whether it exists: FileName=gaussdb.version, Errno=2, Errmessage=No such file or directory.
0 WARNING: failed to parse feature control file: gaussdb.version.
0 WARNING: Failed to load the product control file, so gaussdb cannot distinguish product version.
The core dump path is an invalid directory
2024-11-08 13:00:32.973 672d9af0.1 [unknown] 140367339682176 [unknown] 0 dn_6001_6002 00000 0 [BACKEND] LOG: base_page_saved_interval is 400, ori is 400.
2024-11-08 13:00:32.977 672d9af0.1 [unknown] 140367339682176 [unknown] 0 dn_6001_6002 DB010 0 [REDO] LOG: Recovery parallelism, cpu count = 2, max = 4, actual = 2
2024-11-08 13:00:32.977 672d9af0.1 [unknown] 140367339682176 [unknown] 0 dn_6001_6002 DB010 0 [REDO] LOG: ConfigRecoveryParallelism, true_max_recovery_parallelism:4, max_recovery_parallelism:4
2024-11-08 13:00:32.981 672d9af0.1 [unknown] 140367339682176 [unknown] 0 dn_6001_6002 00000 0 [BACKEND] LOG: [Alarm Module]can not read GAUSS_WARNING_TYPE env.
2024-11-08 13:00:32.981 672d9af0.1 [unknown] 140367339682176 [unknown] 0 dn_6001_6002 00000 0 [BACKEND] LOG: [Alarm Module]Host Name: slave
2024-11-08 13:00:32.981 672d9af0.1 [unknown] 140367339682176 [unknown] 0 dn_6001_6002 00000 0 [BACKEND] LOG: [Alarm Module]Host IP: slave. Copy hostname directly in case of taking 10s to use 'gethostbyname' when /etc/hosts does not contain <HOST IP>
2024-11-08 13:00:32.981 672d9af0.1 [unknown] 140367339682176 [unknown] 0 dn_6001_6002 00000 0 [BACKEND] LOG: [Alarm Module]Cluster Name: dbCluster
2024-11-08 13:00:32.981 672d9af0.1 [unknown] 140367339682176 [unknown] 0 dn_6001_6002 00000 0 [BACKEND] LOG: [Alarm Module]Invalid data in AlarmItem file! Read alarm English name failed! line: 58
2024-11-08 13:00:32.982 672d9af0.1 [unknown] 140367339682176 [unknown] 0 dn_6001_6002 00000 0 [BACKEND] LOG: loaded library "security_plugin"
2024-11-08 13:00:32.983 672d9af0.1 [unknown] 140367339682176 [unknown] 0 dn_6001_6002 01000 0 [BACKEND] WARNING: could not create any HA TCP/IP sockets
2024-11-08 13:00:32.984 672d9af0.1 [unknown] 140367339682176 [unknown] 0 dn_6001_6002 00000 0 [BACKEND] LOG: InitNuma numaNodeNum: 1 numa_distribute_mode: none inheritThreadPool: 0.
2024-11-08 13:00:32.985 672d9af0.1 [unknown] 140367339682176 [unknown] 0 dn_6001_6002 01000 0 [BACKEND] WARNING: Failed to initialize the memory protect for g_instance.attr.attr_storage.cstore_buffers (1024 Mbytes) or shared memory (3696 Mbytes) is larger.
2024-11-08 13:00:33.030 672d9af0.1 [unknown] 140367339682176 [unknown] 0 dn_6001_6002 00000 0 [CACHE] LOG: set data cache size(805306368)
2024-11-08 13:00:33.106 672d9af0.1 [unknown] 140367339682176 [unknown] 0 dn_6001_6002 00000 0 [SEGMENT_PAGE] LOG: Segment-page constants: DF_MAP_SIZE: 8156, DF_MAP_BIT_CNT: 65248, DF_MAP_GROUP_EXTENTS: 4175872, IPBLOCK_SIZE: 8168, EXTENTS_PER_IPBLOCK: 1021, IPBLOCK_GROUP_SIZE: 4090, BMT_HEADER_LEVEL0_TOTAL_PAGES: 8323072, BktMapEntryNumberPerBlock: 2038, BktMapBlockNumber: 25, BktBitMaxMapCnt: 512
2024-11-08 13:00:33.130 672d9af0.1 [unknown] 140367339682176 [unknown] 0 dn_6001_6002 00000 0 [BACKEND] LOG: gaussdb: fsync file "/opt/software/openGauss5.0/install/data/dn/gaussdb.state.temp" success
2024-11-08 13:00:33.131 672d9af0.1 [unknown] 140367339682176 [unknown] 0 dn_6001_6002 00000 0 [BACKEND] LOG: create gaussdb state file success: db state(STARTING_STATE), server mode(Standby), connection index(1)
2024-11-08 13:00:33.159 672d9af0.1 [unknown] 140367339682176 [unknown] 0 dn_6001_6002 00000 0 [BACKEND] LOG: max_safe_fds = 972, usable_fds = 1000, already_open = 18
The core dump path is an invalid directory
.
[2024-11-08 13:00:35.020][12030][dn_6001_6002][gs_ctl]: done
[2024-11-08 13:00:35.020][12030][dn_6001_6002][gs_ctl]: server started (/opt/software/openGauss5.0/install/data/dn)
[2024-11-08 13:00:35.023][12030][dn_6001_6002][gs_ctl]: fopen build pid file "/opt/software/openGauss5.0/install/data/dn/gs_build.pid" success
[2024-11-08 13:00:35.023][12030][dn_6001_6002][gs_ctl]: fprintf build pid file "/opt/software/openGauss5.0/install/data/dn/gs_build.pid" success
[2024-11-08 13:00:35.032][12030][dn_6001_6002][gs_ctl]: fsync build pid file "/opt/software/openGauss5.0/install/data/dn/gs_build.pid" success
修复完成后,查看实例状态
[omm@master ~]$ gs_om -t status --detail
[ Cluster State ]
cluster_state : Normal
redistributing : No
current_az : AZ_ALL
[ Datanode State ]
node node_ip port instance state
------------------------------------------------------------------------------------------------------------
1 master 10.10.10.165 15400 6001 /opt/software/openGauss5.0/install/data/dn P Primary Normal
2 slave 10.10.10.166 15400 6002 /opt/software/openGauss5.0/install/data/dn S Standby Normal
可以看到数据库当前的实例状态正常。




