本篇博客将会带着大家从 0 到 1 搭建后端程序员无人不知的 瑞吉外卖 项目!
如果对您有帮助欢迎三连加关注一波支持!
首先向大家简单介绍一下《瑞吉外卖》:


瑞吉外卖对象转换器公共字段自动填充文件上传/下载 阿里云短信_nginx 自动填充识别-CSDN博客
因为本篇主要测试服务器,如果不了解的朋友可以看我的这篇博客,就不再一一赘述!
Flexus 云服务器 X 实例使用
感谢华为老板的优惠券!
用优惠券之后 0 元,再次感谢!欢迎大家购买一个,动手跟我一起试试





1. 购买 Flexus 云服务器 X 实例后,第一次使用需要重置密码并妥善保管哟!

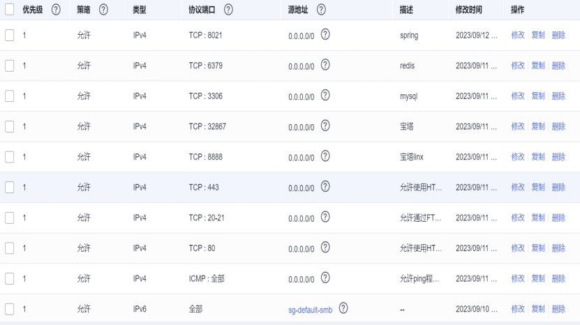
1. 配置安全组
访问应用需开通 8888 端口、访问 MySQL 数据库需开通 3306 端口其他瑞吉外卖需要的端口我都放在这里:



瑞吉外卖部署
也可以参考我的这篇博客:Linux实战 小技巧 Linux软件安装部署 瑞吉外卖部署Linux-CSDN博客
安装 jdk

编辑
yum install java-1.8.0-openjdk* -y
那个黑马的安装包传输太慢了(特别特别慢)我就直接 yum 下载了


vim /etc/profile
JAVA_HOME=/usr/local/btjdk/jdk8
PATH=$JAVA_HOME/bin:$PATH
[root@iZ2vcj205omxei1f3i9kh3Z bin]# source /etc/profile
[root@iZ2vcj205omxei1f3i9kh3Z bin]# java -version
安装 tomcat
Linux-17-软件安装_安装Tomcat_哔哩哔哩_bilibili


「喜欢这篇文章,您的关注和赞赏是给作者最好的鼓励」
关注作者
【版权声明】本文为墨天轮用户原创内容,转载时必须标注文章的来源(墨天轮),文章链接,文章作者等基本信息,否则作者和墨天轮有权追究责任。如果您发现墨天轮中有涉嫌抄袭或者侵权的内容,欢迎发送邮件至:contact@modb.pro进行举报,并提供相关证据,一经查实,墨天轮将立刻删除相关内容。




