关键字:
中电科金仓、KingbaseFlySync、KFS、KFSMC、电科金仓、数据校验、数据比对、不停业务校验存量数据
1. 功能描述
Oracle-Kingbase ES数据库组合,不停机迁移完成后,源端有增量业务数据,目标端 offline 状态时,通过闪回查询,校验迁移的存量数据。
2. 使用场景介绍
Oracle-Kingbase ES数据库组合,不停机迁移完成后,源端有增量业务的情况下,校验迁移的存量数据的场景。
3. 配置使用方式介绍
1.参考《Kingbase FlySync 安装部署手册》部署金仓数据同步管理平台(KFSMC)、同步程序(KFS),并启动服务
2.KFSMC的部署管理-节点管理,添加KFS节点。
1) 登录KFSMC
2) 点击部署管理-节点管理-新建,添加KFS源端、目标端节点
3) 点击数据校验-任务管理,新建校验任务,选择详细校验,高级参数设置SCN值
4) 点击数据校验-调度管理,新建调度任务,关联校验任务
5) 点击数据校验-调度管理-立即执行,或等待校验任务定时自动调起
6) 点击数据校验-查看结果,查看校验任务执行结果
4. 示例
4.1 前置条件
1.参考《Kingbase FlySync 安装部署手册》部署金仓数据同步管理平台(KFSMC)、同步程序(KFS),目标端KFS保持offline状态
2.参考《Kingbase FlySync 不停机迁移方案-Oracle》迁移数据,记录迁移使用的日志号
3.KFSMC的部署管理-节点管理,已添加KFS节点。
4.此处以Oracle-Kingbase ES组合为例

4.2 操作步骤
1.获取Oracle不停机迁移使用的日志号。此处为验证存量数据校验功能,所以查询当前数据,并手动获取当前数据库日志号


2.登录金仓数据同步管理平台KFSMC,点击数据校验-任务管理-新建,填写任务信息




(此处为了便于检查,设置了展示全部数据)
3.选择校验对象界面,依次点击源端、目标端选择,选择要校验的表,点击完成








4.源端修改库表数据,模拟业务修改数据


5.点击数据校验-调度管理-新建,执行任务选择上面创建的数据校验任务。创建完成后,点击立即执行(或等待校验任务定时自动调起)



4.3 结果展示
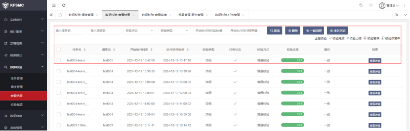
执行任务调度后,可点击数据校验-查看结果,查看数据校验任务的执行结果。可以看到,校验结果是指定日志号之前的存量数据。








4.4 注意事项
1. 设置的 scn 较老时,可能会报快照过旧
2. 当前只支持 Oracle-Kingbase ES链路
参考资料
《Kingbase FlySync 安装部署手册》、《Kingbase FlySync 管理手册》、《Kingbase FlySync 版本限制手册》、《Kingbase FlySync 不停机迁移方案-Oracle》




