关键字:
中电科金仓、KingbaseFlySync、KFS、KFSMC、电科金仓、数据校验、数据比对、同构数据库校验
1. 功能描述
中电科金仓自研的异构数据同步软件 KFS(Kingbase FlySync)中的数据校验模块支持同构、异构数据库的数据一致性校验。
2. 使用场景介绍
在数据库迁移、数据汇聚、容灾备份和大数据平台建设等场景下,需要确认两端数据的一致性的场景。
3. 配置使用方式介绍
1.参考《Kingbase FlySync 安装部署手册》部署金仓数据同步管理平台(KFSMC)、同步程序(KFS),并启动服务
2.KFSMC的部署管理-节点管理,添加KFS节点。
1) 登录KFSMC
2) 点击部署管理-节点管理-新建,添加KFS源端、目标端节点
3) 点击数据校验-任务管理,新建校验任务
4) 点击数据校验-调度管理,新建调度任务,关联校验任务
5) 点击数据校验-调度管理-立即执行,或等待校验任务定时自动调起
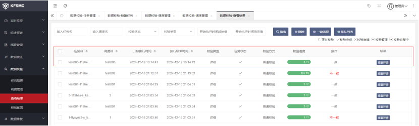
6) 点击数据校验-查看结果,查看校验任务执行结果
4. 示例
4.1
1.参考《Kingbase FlySync 安装部署手册》部署金仓数据同步管理平台(KFSMC)、同步程序(KFS),并启动服务
2.KFSMC的部署管理-节点管理,已添加KFS节点。
3.此处以Kingbase ES-Kingbase ES组合为例

4.2 操作步骤
1.登录金仓数据同步管理平台KFSMC,点击数据校验-任务管理-新建,填写任务信息


2.选择校验对象界面,依次点击源端、目标端选择,选择要校验的表,点击完成






3.点击数据校验-调度管理-新建,执行任务选择上面创建的数据校验任务。创建完成后,点击立即执行(或等待校验任务定时自动调起)


4.3 结果展示
执行任务调度后,可点击数据校验-查看结果,查看数据校验任务的执行结果



4.4 注意事项
1. 需要为Kingbase FlySync支持的数据实时同步的关系型数据库组合
参考资料
《Kingbase FlySync 安装部署手册》、《Kingbase FlySync 管理手册》、《Kingbase FlySync 版本限制手册》




