
近期,受老朋友之邀,测试了由 NineData 公司近期开放的NineData免费社区版。这是一款数据库开发平台,可支持数十种数据源。数据库开发平台,在现代数据管理中扮演着不可或缺的角色,其通过提供高效的SQL开发环境、便捷的结构变更工具、严谨的语句审核与优化机制以及强大的数据复制能力,显著提升了开发效率和数据管理质量。开发者可以借助平台快速编写和调试SQL语句,轻松应对数据库结构的变化,并通过自动审核和优化功能确保查询性能与安全性。同时,平台支持实时数据复制与同步,为分布式系统和高可用架构提供了坚实保障。使用数据库开发平台不仅降低了运维成本,还增强了数据安全性和系统稳定性,为企业实现业务扩展和数字化转型提供了强有力的支持,是提升竞争力和推动可持续发展的关键工具。NineData 公司产品正是提供了上述能力,也成为很多企业用户的又一选择。这里针对平台做了简单测试,也方便很多数据库从业者快速了解这一平台。
1).安装部署
NineData 的安装部署是非常简单的,一方面用户可以直接使用SaaS的版本,也可以私有化安装部署。针对新发布的社区版本,官方还很贴心的提供了Docker镜像,简单拉起即可。我是通过在本地的镜像拉取方式做了部署。当在后台看到如下图片,就代表顺利启动。



2).功能概述
在上述页面中可见,NineData 内置了丰富的功能,DBA的很多操作都可以基于此平台去完成。我将整个功能大致分为四类,也对应四类使用人群。


1).创建用户
Ninedata已经默认提供了多种角色(普通成员、开发环境管理员、生产环境管理员及系统管理员),这对应于常见的不同场景用户。


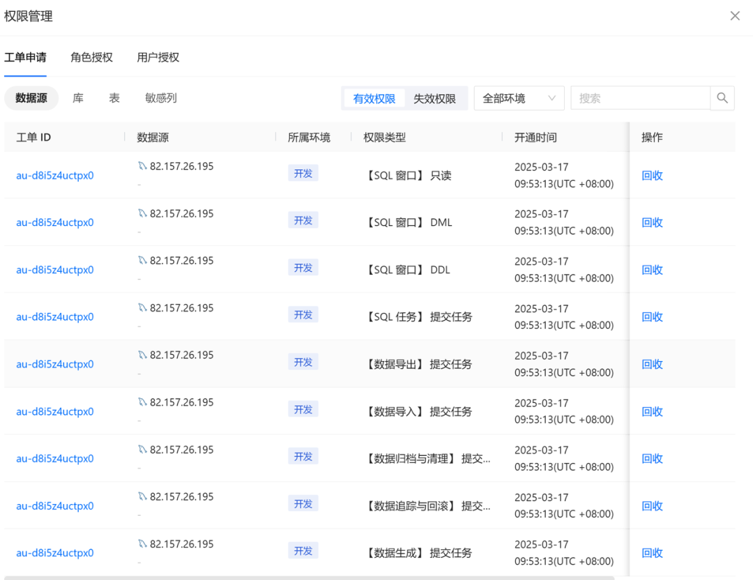
2).权限管理



3).数据源管理

4).敏感数据



1).SQL 开发

2).数据生成


3).数据导出


4).结构变更



1).数据复制






2).数据比对




文章转载自韩锋频道,如果涉嫌侵权,请发送邮件至:contact@modb.pro进行举报,并提供相关证据,一经查实,墨天轮将立刻删除相关内容。




