

前言





说一下XML中的标签
在XML文件中有9个顶级标签,下面简单的介绍下各个标签的作用,至于标签的具体使用和其中的参数的含义,我会另起一篇文章来解释
cache:对给定命名空间的缓存配置。cache-ref:对其他命名空间缓存配置的引用。delete:映射相应的删除语句。insert:映射相应的插入语句。select:映射相应的查询语句。update:映射相应的更新语句。sql:可被其他语句引用的可重用语句块。parameterMap:已被废弃!老式风格的参数映射。更好的办法是使用内联参数,此元素可能在将来被移除。resultMap:是最复杂也是最强大的元素,用来描述如何从数据库结果集中来加载对象。
Mybatis是如何将sql执行结果封装为目标对象并返回的?都有哪些映射形式?
第一种是使用<resultMap>标签,逐一定义列名和对象属性名之间的映射关系。
第二种是使用sql列的别名功能,将列别名书写为对象属性名,比如USER_NAME AS NAME,Mybatis会忽略列名的大小写,直接找到和值对应的对象属性名
有了列名与属性名的映射关系后,Mybatis通过反射创建对象,同时使用反射给对象的属性逐一赋值并返回,那些找不到映射关系的属性,是无法完成赋值的。
Mybatis中的动态SQL,说下怎么用吧
foreach:用来循环容器的标签。concat:模糊查询。choose (when, otherwise)标签:choose标签是按顺序判断其内部when标签中的test条件出否成立,如果有一个成立,则 choose 结束。当 choose 中所有 when 的条件都不满则时,则执行 otherwise 中的sql。类似于Java 的 switch 语句,choose 为 switch,when 为 case,otherwise 则为 default。if:判断结论是否成立。where:SQL语句的where条件。set:使用set标签可以将动态的配置SET关键字,和剔除追加到条件末尾的任何不相关的逗号。trim:trim是更灵活的去处多余关键字的标签,他可以实践where和set的效果。
Mybatis分页实现
mybatis框架分页实现,有几种方式,最简单的就是利用原生的sql关键字limit来实现,还有一种就是利用interceptor来拼接sql,实现和limit一样的功能,再一个就是利用PageHelper来实现
第一种limit关键字不用多说了吧,第二种拦截器其实就是拦截相应的会话进行拦截,实现动态添加limit,而第三种就是内部帮助我们实现了拦截器的功能,不用自己来实现了,可以认为底层都是通过limit关键字来获取分页数据的
#{}和${}的区别是什么?
${}是字符串替换,相当于直接显示数据,#{}是预编译处理,相当于对数据加上双引号
即#是将传入的值当做字符串的形式,先替换为?号,然后调用PreparedStatement的set方法来赋值,而$是将传入的数据直接显示生成sql语句。
使用#{}可以有效的防止SQL注入,提高系统安全性(语句的拼接),如果使用在order by 中就需要使用 ${}。
最大区别在于:#{} 传入值时,sql解析参数是带引号的,而${}传入值时,sql解析参数是不带引号的。
通常一个Xml映射文件,都会写一个Dao接口与之对应,这个Dao接口的工作原理是什么?Dao接口里的方法,参数不同时,方法能重载吗?
Dao接口,就是人们常说的Mapper接口,接口的全限名,就是映射文件中的namespace的值,接口的方法名,就是映射文件中MappedStatement的id值,接口方法内的参数,就是传递给sql的参数。
Mapper接口是没有实现类的,当调用接口方法时,接口全限名+方法名拼接字符串作为key值,可唯一定位MappedStatement,Dao接口里的方法,是不能重载的,因为是全限名+方法名的保存和寻找策略。

Dao接口的工作原理是JDK动态代理,Mybatis运行时会使用JDK动态代理为Dao接口生成代理proxy对象,代理对象proxy会拦截接口方法,转而执行MappedStatement所代表的sql,然后将sql执行结果返回。
Mybatis的Xml映射文件中,不同的Xml映射文件,id是否可以重复?
不同的Xml映射文件,如果配置了namespace,那么id可以重复;如果没有配置namespace,那么id不能重复;毕竟namespace不是必须的,只是最佳实践而已。
原因就是namespace+id是作为Map<String, MappedStatement>的key使用的,如果没有namespace,就剩下id,那么,id重复会导致数据互相覆盖。有了namespace,自然id就可以重复,namespace不同,namespace+id自然也就不同。
Mybatis是否可以映射Enum枚举类?
Mybatis可以映射枚举类,不单可以映射枚举类,Mybatis可以映射任何对象到表的一列上。映射方式为自定义一个TypeHandler,实现TypeHandler的setParameter()和getResult()接口方法。
TypeHandler有两个作用,一是完成从javaType至jdbcType的转换,二是完成jdbcType至javaType的转换,体现为setParameter()和getResult()两个方法,分别代表设置sql问号占位符参数和获取列查询结果。
Mybatis映射文件中,如果A标签通过include引用了B标签的内容,请问,B标签能否定义在A标签的后面,还是说必须定义在A标签的前面?
虽然Mybatis解析Xml映射文件是按照顺序解析的,但是,被引用的B标签依然可以定义在任何地方,Mybatis都可以正确识别。
原理是,Mybatis解析A标签,发现A标签引用了B标签,但是B标签尚未解析到,尚不存在,此时,Mybatis会将A标签标记为未解析状态,然后继续解析余下的标签,包含B标签,待所有标签解析完毕,Mybatis会重新解析那些被标记为未解析的标签,此时再解析A标签时,B标签已经存在,A标签也就可以正常解析完成了。
为什么说Mybatis是半自动ORM映射工具?它与全自动的区别在哪里?
Hibernate属于全自动ORM映射工具,使用Hibernate查询关联对象或者关联集合对象时,可以根据对象关系模型直接获取,所以它是全自动的。
而Mybatis在查询关联对象或关联集合对象时,需要手动编写sql来完成,所以,称之为半自动ORM映射工具
Mybatis是否支持延迟加载?如果支持,它的实现原理是什么?
Mybatis仅支持association关联对象和collection关联集合对象的延迟加载,association指的就是一对一,collection指的就是一对多查询。在Mybatis配置文件中,可以配置是否启用延迟加载lazyLoadingEnabled=true|false。
原理:使用CGLIB创建目标对象的代理对象,当调用目标方法时,进入拦截器方法,比如调用A.getB().getName(),拦截器invoke()方法发现A.getB()是null值,那么就会单独发送事先保存好的查询关联B对象的sql,把B查询上来,然后调用A.setB(b),于是a的对象b属性就有值了,接着完成A.getB().getName()方法的调用。这就是延迟加载的基本原理。

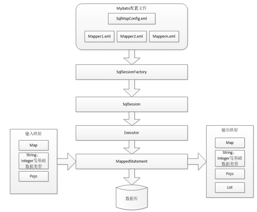
Mybatis都有哪些Executor执行器?它们之间的区别是什么?
Mybatis有三种基本的Executor执行器,SimpleExecutor、ReuseExecutor、BatchExecutor。
SimpleExecutor:每执行一次update或select,就开启一个Statement对象,用完立刻关闭Statement对象。
ReuseExecutor:执行update或select,以sql作为key查找Statement对象,存在就使用,不存在就创建,用完后,不关闭Statement对象,而是放置于Map<String, Statement>内,供下一次使用。简言之,就是重复使用Statement对象。
BatchExecutor:执行update(没有select,JDBC批处理不支持select),将所有sql都添加到批处理中(addBatch()),等待统一执行(executeBatch()),它缓存了多个Statement对象,每个Statement对象都是addBatch()完毕后,等待逐一执行executeBatch()批处理。与JDBC批处理相同。

在Mybatis配置文件中,可以指定默认的ExecutorType执行器类型,也可以手动给DefaultSqlSessionFactory的创建SqlSession的方法传递ExecutorType类型参数。
作用范围:Executor的这些特点,都严格限制在SqlSession生命周期范围内。
说一下Mybatis的一级、二级缓存的理解
一级缓存:一个sqlsession级别的,意思就是sqlsession只能访问自己的一级缓存的数据,默认Map结构存储。
一级缓存查询存在于每一个的sqlsession类的实例对象中,当第一次查询某一个数据时候,sqlsession类的实例对象会将该数据存入到一级缓存,其存储作用域为 Session,当 Session flush 或 close 之后,该 Session 中的所有 Cache 就将清空,默认打开一级缓存。
首先用户第一次查询sql时候,sql的查询结果就会被写入sqlsession一级缓存中的,这样用户第二次查询时,直接从一级缓存取出数据,而不是数据库。如果用户出现commit操作时,比如增删改查,这时sqlsession中一级缓存区域就会全部清空。清空之后再次去一级缓存查找不到,就会走数据库进行查找,然后再次存到缓存中。注意:缓存使用的数据结构也是map的。

二级缓存:二级缓存的范围就是mapper级别,也就是mapper以命名空间为单位创建缓存数据结构,默认Map结构。
二级缓存和 一级缓存一样的是,二级缓存的多个sqlsession去操作同一个mapper映射的sql语句,然后多个sqlsession可以共用二级缓存这样的一个思想,它是跨sqlsession的;可以自定义存储源,如Ehcache,默认不打开二级缓存,要开启二级缓存,使用二级缓存属性类需要实现Serializable序列化接口(可用来保存对象的状态),可在它的映射文件中配置<cache/>

总结下:mybatis的的一级缓存是SqlSession级别的缓存,一级缓存缓存的是对象,当SqlSession提交、关闭以及其他的更新数据库的操作发生后,一级缓存就会清空。二级缓存是SqlSessionFactory级别的缓存,同一个SqlSessionFactory产生的SqlSession都共享一个二级缓存,二级缓存中存储的是数据,当命中二级缓存时,通过存储的数据构造对象返回。查询数据的时候,查询的流程是二级缓存>一级缓存>数据库。
结束语
到了这里,也说了不少问题了,这些问题应该是面试中最常问到的关于Mybatis的问题了,也希望作为看官的你能够为此收获到一点一滴的知识点
可能你对于其中的某一个问题不了解,可能你对于其中的问题不熟悉,但是通过我这篇文章你学到了一些,这篇文章的目的就已经达到了,如果你觉得其中的某一个问题,某一句话帮助到你了,动个小手,点个关注吧
我是Captain,一个爱生活的普通程序员,也是你学习成长路上的小伙伴

求赞
好了,以上就是全部内容了,我是小鱼仙,你们的学习成长小伙伴
我希望有一天能够靠写字养活自己,现在还在磨练,这个时间可能会有很多年,感谢你们做我最初的读者和传播者。请大家相信,只要给我一份爱,我终究会还你们一页情的。

再次感谢大家能够读到这里,我后面会持续的更新技术文章以及一些记录生活的灵魂文章,如果觉得不错的,觉得【Captain】有点东西的话,求点赞、关注、分享三连
哦,对了!后续的更新文章我都会及时放到这里,欢迎大家点击观看,都是干货文章啊,建议收藏,以后随时翻阅查看
https://github.com/DayuMM2021/Java




