✓
达梦“1+X证书”
为深入贯彻《国家职业教育改革实施方案》、《关于在院校实施“学历证书”+若干职业技能等级证书制度试点方案》等相关文件精神,稳步推进“学历证书+若干职业技能等级证书”(简称“1+X证书”)制度试点工作,2022年达梦“1+X”职业技能等级证书申报工作已正式启动,欢迎相关院校组织申报。

✓
达梦“1+X证书”介绍
数据库管理系统职业技能等级证书(简称:达梦“1+X证书“),是国内首个数据库方向的“1+X证书”,证书涵盖数据库从业人员所需具备的运维、开发技能知识点,主要面向数据库管理员、数据库运维工程师、数据库开发工程师及数据库运营相关岗位,全方面培养数据库人才。在2021年的证书试点中,已有数十所院校近两千人次参与申报达梦“1+X证书”试点。
(点击上方图片,了解证书信息)
更多证书标准及考核成本方案请在职业技能等级证书信息管理服务平台下载。
✓
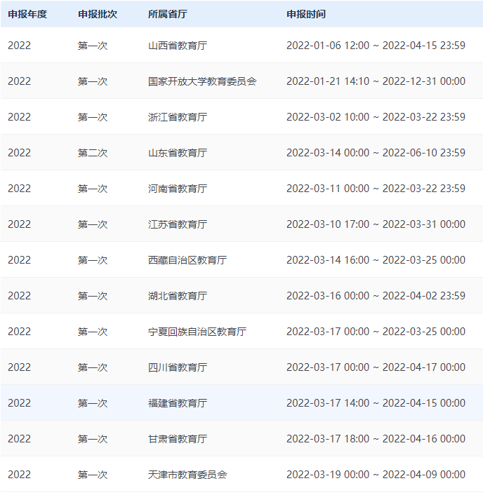
申报时间
各省申报时间不一,请意向申报院校以各省教育部门通知时间为准。先就部分已开启申报省市时间进行说明,其他省市的院校请关注各省教育部门通知。

✓
申报流程
1
申请试点
了解证书后,职业技能等级证书信息管理服务平台https://vslc.ncb.edu.cn/进行申报。经各省教育部门审批后成为试点。
2
参与师资培训
参与达梦组织的线上/线下师资培训。
3
申请教学资料
申请成为试点院校后,申请PPT、练习题等教学资源。相关配套教材,见下方教材简介。
4
试点院校安排教学
预计总课时64课时。由试点院校老师为参加认证考试的学生提供培训。
5
组织参与考试
在职业技能等级证书信息管理服务平台查看考试计划,报名和组织考试。
6
培训评价组织发证
由培训评价组织负责后续的考试成绩录入、证书发证等。
✓
配套教材
证书配套教材:《数据库管理系统初级(基础管理)》、《数据库管理系统中级(备份还原)》和《数据库管理系统高级(开发)》三册。

✓
申报咨询
1、QQ:2592468301(达梦培训中心)
2、座机:027-87588000-8018
3、邮箱:edu@dameng.com
4、联系人:韩老师18937104555(微信同号)
5、工作人员回访:扫码填写您的需求意向后,将有工作人员和您联系。

✓
关于我们
作为国家第四批职业技能等级证书培训评价组织,达梦数据在2021年、2022年已组织多起师资培训,吸引了来自北京、广东、山东、广西、湖北等省份近百所院校的老师参与。后续,我们将发挥企业自身优势,提高人才培养质量,畅通人才成长通道,为信息技术产业发展输送更多自主创新型人才。
目前,广西1+X证书制度试点建设秘书处与武汉达梦数据库股份有限公司联合举办“1+X”证书数据库管理系统(初级)广西公益师资线上培训正在招生中,本次培训费用免费,欢迎各院校老师报名参与!也欢迎各院校申报达梦“1+X证书”项目!
相关热点
师资培训丨达梦1+X证书广西公益师资培训,报名启动!
师资培训丨达梦1+X证书高级师资培训(3月)开班通知





