
行存IO基本框架
在了解行存的整个IO框架之前,首先需要对行存的文件结构有一定的了解。那么我们平常操作的表都是怎么样存储在我们的文件系统中呢?
就跟我们平常用的身份证号一样,在GaussDB(DWS)中,也有对应的ID号来标识各个对象:
OID(Object identifiers):对象的唯一标识。
每个表存在对应数据库的文件夹中,用relfilenode标识。
通过各种ID,我们就可以查看每个表对应的文件了。

例如表row1,可以直接查询对应的文件:
test=# select pg_relation_filepath('row1'); pg_relation_filepath---------------------- base/16385/55984(1 row)
对于行存来说,我们常有的印象是以行为单位进行读取和写入的,但是这个对于IO开销就过于严重了,因此GaussDB(DWS)采用和操作系统的思路,以页为基本单位进行读取和写入。
每个表的读取写入以页(文件块)为基本单位,页的大小是一个BLCKSZ,默认8KB,其结构如下:

Tuple保存了当前一行的数据,分为Header和Data两块,头部保存元组的相关信息(列数,事务信息,是否有Toast表等)。 每个Tuple最大为2kb,若Data过大无法压缩至2KB,则采用额外的Toast表存储,此时Tuple内的Data保存Toast表的相关信息。

本地缓存:
这里面的本地缓存介绍了三个比较常用的缓存结构,这里直接引用了官方的英文解释。
temp_buffers: Sets the maximum number of temporary buffers used by each database session. These are session-local buffers used only for access to temporary tables.
work_mem: Specifies the amount of memory to be used by internal sort operations and hash tables before writing to temporary disk files.
maintenance_work_mem: Specifies the maximum amount of memory to be used by maintenance operations, such as VACUUM, CREATE INDEX, and ALTER TABLE ADD FOREIGN KEY.
共享内存:可由整个Gaussdb共享
包括shared_buffer和wal_buffer, 分别用来存放Page和Clog,Wal Segment。
WalWriter,BgWriter:
主要是将共享内存的内容落盘,WalWriter一般是在事务提交时就需要落盘,但是有时候可以放弃一定的事务一致性原则,从而让WalWriter异步落盘加快速度。BgWriter负责将shared_buffer中的内容落盘。
外存管理:
负责上层与外存之间的文件交互。
IO管理框架:读取
读取的过程相对简单,就是从物理文件先装到shared_buffer中,然后从shared_buffers返回相关的结果。

shared_buffers中就是以Page为单位进行存储的,因为每个Page的大小是固定的,所以shared_buffers能存放的page个数也就是确定的。这里面就需要考虑一个问题,因为这个资源是共享的,如果一个线程读取了大量的文件,这样势必会使得其他线程的缓存命中率下降。
GaussDB在这里引入了Ringbuffer的机制,可以限制一个线程所使用的shared_buffers的大小,从而解决掉这个问题。
IO管理框架:写入
写入操作是增加的新的元组,Update操作相当于先Delete, Insert。
INSERT
增加一个新的元组和对应的line pointer的标记。

UPDATE
删除旧的元组,可以看见Tuple1的HEAD标记了Delete, Data在图中标记为了Delete只是为了说明这个Tuple被删除了。然后增加新的元组

将旧元组标记为Dead,然后插入新的元组,由Vacuum负责清理。当然,这里面Data变为DELETE只是用来描述删除的是此Tuple,实际上Data当中的值是不变的。
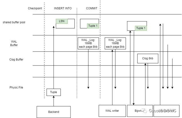
写入的整体逻辑:
GaussDB行存在写入时,将元组信息先写入到shared_buffers,然后用bgwriter刷入磁盘,这样在事务提交时就可以避免磁盘的IO开销,提升性能,为了保证一致性和恢复,使用wal日志和checkpoints可以实现日志先落盘(也可以异步)和redo等操作。

列存的IO管理框架
列存的存储单元为CU(CStore Unit)
CU的大小为8k对齐
适合大批量导入的场景
同一列的CU存在一个新文件中,大于1GB时,切换到新文件中。
列存用一个CUDesc的行存表描述CU的相关信息,可以理解成为一个Toast表。
CUDesc:行存表,记录CU的相关信息, 主要属性如下:
col_id,cu_id: 第col_id列,第cu_id个CU
min, max, row_count, size
cu_mode: information mask(RLE,LZ4,Delta表等)
cu_pointer:指向每一个CU,记录delete bitmap
magic:和CU头部的magic相同,校验使用
CU结构
和传统的文件结构类似,也是以头和压缩后的数据为主要结构。

列存索引
这里介绍两个索引,C-Btree和Psort索引。这也是各大数据库常用的两个索引,主要涉及的是IO相关的内容。
C-Btree
列存的Btree原理上并不是基于普通的Btree,而更像是一种B+树。
索引结构和行存无差别,同样以行存形式存储
C-Btree可以提升点查效率
存储key->ctid(cu_id, offset)
过程:
根据B-tree索引找到ctid集合
对集合进行批量排序(减少IO开销)
在CUDesc找到对应的cu_id,根据offset找到数据
举例,等值查询 n=49, 范围查询 23<n<64。

PSort
PSort是一个聚簇索引,对索引进行排序,然后将排序后的索引和行号存入一个新的表,用单独的列存表存储。
简单示意如下:

列存的读取和行存一样,也是设计了缓存,这样在重复查询的时候可以显著减少IO开销,提高性能。
读取过程:
根据where条件,做MIN/MAX过滤的谓词条件
加载CUDesc
MIN/MAX过滤
读取CU到CU Cache中
解析并填充
CacheMgr: 用来缓存CU到内存中,可以提高重复查询的性能。
CU的物理文件:
CStore_1.0: 当前基本不怎么实用
CStore_2.0: 重整了CU的文件结构,避免列数过多导致文件结构复杂。

写入框架如下 
通过以上内容可以看出因为涉及的场景不同,列存和行存的模型还是有区别的。尤其是列存的写入不通过缓存,直接进入磁盘,这点与行存有着很大的区别,行存因为首先写入shared_buffers,就需要很多额外的机制来保证一致性问题。而列存则相对简单。
之后小编将针对一些内容进行详细的讲解,比如:OS缓存和GaussDB(DWS)之间的缓存交互,以及OS缓存和磁盘之间的交互逻辑,这对于一致性的实现是很重要的。
各位小伙伴还有哪些想了解的内容,欢迎公众号后台留言哦~







