作者:沈亚军
爱可生研发团队成员,负责公司 DMP 产品的后端开发,爱好太广,三天三夜都说不完,低调低调...
本文来源:原创投稿
* 爱可生开源社区出品,原创内容未经授权不得随意使用,转载请联系小编并注明来源。
pod 是什么
为什么需要 pod
IPC方式通讯,需要运行在同一台主机。如果部署在 kubernetes 环境进程需要运行在容器内,所以可能考虑方案之一是把多个进程运行在同一个容器内以实现类似在同一个主机的部署模式。但是 container 的设计是每个容器运行一个单独的进程,除非进程本身会创建多个子进程,当然如果你选择在同一个容器内运行多个没有联系的进程的话,那么需要自己来管理其他进程,包括每个进程的生命周期(重启挂掉的进程)、日志的切割等。如果多个进程都在标准输出和标准错误输出上输出日志,就会导致日志的混乱,因此 docker 和 kubernetes 希望我们在一个容器内只运行一个进程。
Pod 做为一个可以独立运行的服务单元,简化了应用部署的难度,以更高的抽象层次为应用部署管提供了极大的方便。
Pod 做为最小的应用实例可以独立运行,因此可以方便的进行部署、水平扩展和收缩、方便进行调度管理与资源的分配。
Pod 中的容器共享相同的数据和网络地址空间,Pod 之间也进行了统一的资源管理与分配。
pause 容器
在 linux 环境下运行一个进程,该进程会继承父进程所有的namespace
,同时也可以使用unsharing
方式创建新的namespace
。如下使用unshare
方式运行 shell 并创建新的 PID、UTS、IPC 和 mount 命名空间。
sudo unshare --pid --uts --ipc --mount -f chroot rootfs bin/sh
其他进程可以使用系统调用setns
加入到新的命名空间,pod
的实现方式也是类似,通过如下命令演示如何手动创建一个简易的pod
## 首先运行一个 pause 容器
docker run -d --name pause -p 8880:80 --ipc=shareable gcr.io/google_containers/pause-amd64:3.0
## 创建 nginx 容器,并将其加入到 pause 容器 net ipc 和 pid namespace
$ cat <<EOF >> nginx.conf
error_log stderr;
events { worker_connections 1024; }
http {
access_log dev/stdout combined;
server {
listen 80 default_server;
server_name example.com www.example.com;
location {
proxy_pass http://127.0.0.1:2368;
}
}
}
EOF
docker run -d --name nginx -v `pwd`/nginx.conf:/etc/nginx/nginx.conf --net=container:pause --ipc=container:pause --pid=container:pause nginx
## 运行 ghost 容器 并将其加入到 pause 容器 network ipc 和 pid namespace
docker run -d --name ghost --net=container:pause --ipc=container:pause --pid=container:pause ghost
在 ghost 容器中使用 ps 可以看到 pause 和 nginx 进程,
USER PID %CPU %MEM VSZ RSS TTY STAT START TIME COMMAND
root 1 0.0 0.0 1032 4 ? Ss 10:06 0:00 pause
root 8 0.0 0.1 8864 3120 ? Ss 10:15 0:00 nginx: master process nginx -g daemon off;
101 38 0.0 0.1 9312 3088 ? S 10:15 0:00 nginx: worker process
node 48 0.3 6.9 969996 142296 ? Ssl 10:18 0:09 node current/index.js
通过 localhost:8080 访问 ghost 页面,那么应该能够看到 ghost 通过 Nginx 代理运行,因为 pause、nginx 和 ghost 容器之间共享 network namespace,如下图所示:

pod 常用方式
pod 使用方式可以被分为两种类型:
pod 内只运行一个容器。这种情况可把 pod 视为容器的包装器,kubernetes 通过管理 pod 方式管理容器;
pod 内运行多个需要共享资源紧密协作的容器。如下图所示,两个容器通过 Volume 共享文件,Filer Puller 从远端更新文件,Web Server 负责文件的展示。

它们是否有必要运行在同一个 kubernetes 节点?
它们代表一个整体,还是独立的组成部分?
它们是否有必要整体扩缩容?
Pod 的使用
创建 Pod
通过如下方式kubectl apply -f nginx-pod.yaml
创建 pod,并通过kubectl get pod
查看 pod 的状态,如下所示。
apiVersion: v1
kind: Pod
metadata:
name: nginx # pod 名称
spec:
containers: # 容器列表
- name: nginx # 容器名称
image: nginx:1.14.2 # 容器使用镜像
ports: # 容器端口映射
- containerPort: 80
kubectl describe pod nginx查看 pod 的状态,如下所示展示了 pod 部分信息,
Status字段是 pod 在其生命周期中的一个摘要介绍,Running 表示 pod 处于正常运行状态
Name: nginx
Namespace: default
.....
Start Time: Sat, 04 Jun 2022 09:24:36 +0000
Labels: <none>
.....
Status: Running
IP: 10.42.1.139
Containers:
nginx:
Container ID: docker://xxxx
Image: nginx:1.14.2
Image ID: docker-pullable://
.....
pod 的生命周期
Pod 创建完成后,遵循定义的生命周期,从 Pending 阶段开始,如果 pod 内至少一个容器启动正常,则进入 Running,然后根据 Pod 中的任何容器是否因故障终止而进入 Succeeded 或 Failed 阶段,pod 在其生命周期可能处于以下几种状态
Pending:Pod 已被 Kubernetes 集群接受,但一个或多个容器尚未准备好运行。这包括 Pod 等待调度所花费的时间以及通过网络下载容器镜像所花费的时间。 Running:Pod 已绑定到一个节点,并且所有容器都已创建。至少有一个容器仍在运行,或者正在启动或重新启动过程中。 Succeeded:Pod 中的所有容器都已成功终止,不会重新启动。 Failed:Pod 中的所有容器都已终止,并且至少有一个容器因故障而终止。也就是说,容器要么以非零状态退出,要么被系统终止。 Unknown:由于某种原因,无法获取 Pod 的状态。此阶段通常是由于与应该运行 Pod 的节点通信时出错而发生。
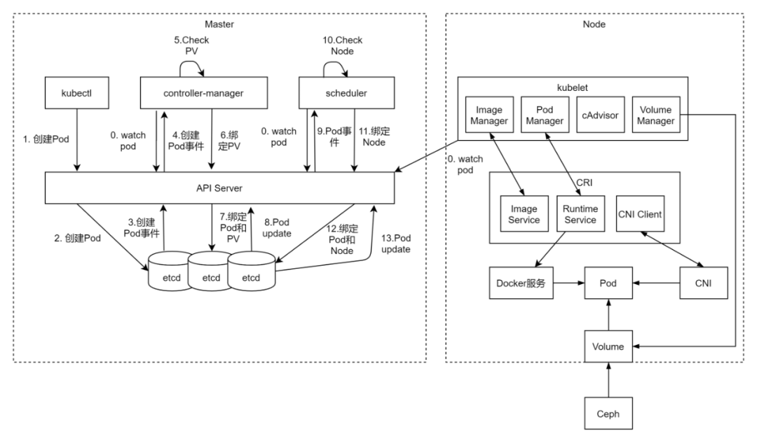
pod 创建流程

用户通过 Kubectl 提交 Pod`描述文件到 API Server; API Server 将 Pod 对象的信息存入 Etcd; Pod 的创建会生成事件,返回给 API Server; Controller 监听到事件; Pod 如果需要要挂载盘,Controller 会检查是否有满足条件的 PV; 若满足条件的 PV,Controller 会绑定 Pod 和 PV,将绑定关系告知 API Server; API Server 将绑定信息写入 Etcd; 生成 Pod Update 事件; Scheduler 监听到 Pod Update 事件; Scheduler 会为 Pod 选择 Node; 如有满足条件的 Node,Scheduler 会绑定 Pod 和 Node,并将绑定关系告知 API Server; API Server 将绑定信息写入 Etcd; 生成 Pod Update 事件; Kubelet 监听到 Pod Update 事件,创建 Pod; Kubelet 告知 CRI(容器运行时接口) 下载镜像; Kubelet 告知 CRI 运行容器; CRI 调用 Docker 运行容器; Kubelet 告知 Volume Manager,将盘挂在到 Node 同时挂载到 Pod; CRI 调用 CNI(容器网络接口) 配置容器网络;
相关推荐:
技术分享 | kubernetes 环境测试部署 MySQL 的随想
爱可生开源社区的 SQLE 是一款面向数据库使用者和管理者,支持多场景审核,支持标准化上线流程,原生支持 MySQL 审核且数据库类型可扩展的 SQL 审核工具。
| 类型 | 地址 |
|---|---|
| 版本库 | https://github.com/actiontech/sqle |
| 文档 | https://actiontech.github.io/sqle-docs-cn/ |
| 发布信息 | https://github.com/actiontech/sqle/releases |
| 数据审核插件开发文档 | https://actiontech.github.io/sqle-docs-cn/3.modules/3.7_auditplugin/auditplugin_development.html |
更多关于 SQLE 的信息和交流,请加入官方QQ交流群:637150065...





