
1. 实例 DAG 介绍
DataLeap 是火山引擎自研的一站式大数据中台解决方案,集数据集成、开发、运维、治理、资产管理能力于一身的大数据研发治理套件。在平台中,一个核心的功能为任务的调度,会根据任务设置的调度频率(月级,日级,小时级等)运行任务,从而生成对应的实例。
在数仓研发中,不同的表之间会存在依赖关系,而产生表数据的任务实例,也会因此存在依赖关系。只有在上游实例运行成功、下游实例到达设定的运行时间且资源充足的情况下,下游实例才会开始执行。所以,在日常的任务运维中,常常需要分析实例上下游的运行情况,根据具体的情况对实例进行置成功、重跑等操作。
而如何清晰地展示实例之间的关系,帮助用户快速地分析整个链路的运行情况,并完成问题定位和运维操作,则是实例 DAG 需要解决的问题。下面对比下优化前后的效果。
优化前:

可以看到在复杂链路中,将所有节点的关系全部展示出来,导致连线混乱,需要通过不停的拖拽、缩放,才能找到没有执行的上游节点。
优化后:

通过采用了将节点聚合的形式,简洁地展示上下游关系。同时,采用了将实例状态进行分类的形式,提供快捷操作的按钮,让用户可以只关注特定状态的实例,减少了无用信息对用户运维操作的干扰。下面将详细介绍优化的整体过程。
1.1 概念
任务:在 DataLeap 数据研发平台中,对数据执行一系列操作的定义。
实例:通过任务配置的执行频率(月级、天级等)而创建的一个任务的快照。
DAG:全称为 Directed Acyclic Graph,指有向无环图,具备严密的拓扑性质,有很强的流程表达能力。
DAG 布局:指根据有向无环图中边的方向,自动计算节点层级和位置的布局算法。
1.2 业务场景
以其中一个场景为例:
对于任务 test_3 在 2022-09-29 的实例进行分析可知。当前实例没有运行,是由于上游任务 test_2 在 2022-09-29 的实例运行失败导致的,那么此时可联系上游实例对应的任务的负责人,对实例进行处理(包括但不限于重跑,置成功等操作)。

2. 问题
在当前的实例 DAG 图中,用户在实际使用中会碰到如下问题:
复杂的实例 DAG 图无法渲染。
在一些业务方向中,会出现 DAG 图中有几千节点。由于数据处理的复杂和采用了 svg 的渲染方案,常常会导致前端浏览器的崩溃。
同层级节点过多,操作困难。
以下图为例,在分析上游实例中,是哪个实例没有运行,导致当前实例没有执行时,需要通过连续拖拽,才能定位到关注的上游实例。

查看节点依赖时,只能不断展开,在对不同的上游依赖进行展开时,会导致图展示混乱。

3. 需求分析
在通过用户调研及使用过程中发现,使用 DAG 进行分析时主要有以下场景:
当前实例已经到达指定运行时间,但是没有运行。
在这种情况下,用户关注的是上游没有运行的实例 运行失败的实例,联系上游实例的责任人进行问题定位。
当实例已经运行成功,但是完成时间比正常情况下有延迟。
在这种情况下,用户关注的是上游实例中,最晚完成的实例。从而判断是否对链路进行治理优化。
当实例运行失败,导致下游没有运行。
在这种情况下,用户关注的是依赖当前实例的所有下游实例,同时需要对下游实例进行聚合筛选,比如任务的优先级(代表任务的核心程度),以通知下游实例进行重跑等操作。
结合上面存在的问题可得到,主要原因是由于在复杂链路情况下,上述需求比较难满足。而在旧版的 DAG 中,针对简单链路和复杂链路的处理是一致的,为此,我们需要设计解决复杂链路场景下的方案。
4. 功能设计
针对上面存在的问题以及对需求的分析,我们可以进行如下的功能实现与设计:
4.1 渲染方案替换
将 svg 的渲染方案替换成 canvas 渲染,通过减少页面中 DOM 的数量,提高前端渲染性能。
4.2 不同场景的功能设计
通过上面的需求分析,我们设计了不同的功能模式以满足不同的需求。
| 模式名称 | 功能 |
|---|---|
| 通用模式 | 分析上游阻塞下游运行的原因、查看上游最晚完成的实例 |
| 统计模式 | 对依赖当前实例的所有下游进行分组查看 |
| 链路模式 | 分析两个实例之间的链路关系 |
4.2.1 通用模式
在通用模式中,用户关注的是节点上下游的关系,在复杂链路中快速找到阻塞节点,同时关注阻塞节点的信息。
针对复杂链路,我们设计了多种优化形式:
首先,在同一层的节点超过一定的数量(可自定义)后,所有节点将聚合在一起,我们称之为聚合节点。这种优化下,可以解决上面提到的由于同一层级节点过多,查找特定状态节点不便的问题。也支持点击聚合详情,通过列表的形式,查看所有被聚合的节点。并支持筛选,快速查找到关注的节点并通过展开,恢复与当前节点的依赖关系。

其次,以用户最关注的实例状态,对被聚合的节点进行分类,同时新增快捷展开操作。以下图为例,当前实例处于等待上游依赖完成状态,在这种情况下,用户关注的,则是上游没有开始执行的节点。在聚合节点中,可以清晰地看到存在一个实例,是在等待执行的,点击数字 1,即可快速展开实例。
在这个例子中,就将不需要关注的上游成功节点隐藏在列表中,突出图所需要关注的重点信息。

同时,为了降低节点展示过多导致图显示杂乱的情况,新增了收起功能及跳转功能。
收起功能是指在通过在聚合节点展开的节点的情况,或是在直接展开上 下游的情况下,都支持对某个上游 下游节点的整条链路收起,方便用户在浏览完一条链路后,恢复图之前的状态,继续浏览下一条链路,减少对后续分析的干扰。

跳转功能是在查看当前节点的上游的其他下游,或是下游的其他上游,此时,用户关注的节点已经转化为其他的上游 下游节点。所以,通过跳转新页面的形式,将需要关注的不同节点的上 下游信息区分开,减少在一张图中展示所有信息。

并且由于图中的节点承载信息的能力有限,在通过点击节点时,会在下方出现与选中实例相关信息,包括属性,日志等,协助用户运维任务。

4.2.2 统计模式
在统计模式中,用户关注的是依赖当前节点的下游节点,下游节点则可以分成直接下游和所有下游。所以设计了分层模式和合并模式,在这两种模式下,可以按照任务的属性(任务类型 实例状态 / 责任人等)作为分组维度。
分层模式:

合并模式:

4.2.3 链路模式
指定上游节点,一键展示指定节点与当前节点的链路信息,从而进行精准链路分析。

5. 技术实现
5.1 数据处理
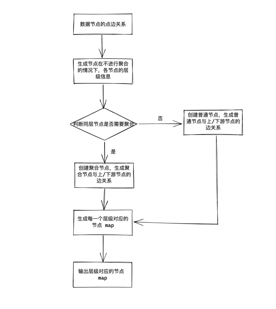
在原始数据中,是以一个数组的形式返回节点信息及依赖关系。所以,需要对数据进行处理形成图所需要的数据,同时,利用多个 map 对数据进行存储,方便后续对数据进行检索,减少时间复杂度。

5.2 自定义节点注册
实例节点的样式需要通过基础图形 Text(文本)、Rect(矩形)、Icon(图标)进行组合,以达到我们的设计要求。
5.3 图预处理
在前面提到,我们需要在复杂的图场景中,将超过一定数量的同层节点聚合起来,以达到清晰直观地传达图所要表达的信息的目的,所以需要对图的层级及节点进行处理,从而生成聚合节点和去掉多余的节点。

5.4 DAG 图布局
通常来说,DAG 的布局可以按照以下步骤实现。
去环:包括自环和非自环,为节点分层做准备。
节点分层:给所有节点安排合适的层级。
节点排序:同层级内节点排序,减少相邻层级中节点连续的交叉点数量。
节点坐标分配:根据分层和同层节点的排序计算节点位置。
而在我们的场景中,节点的层级是有明确含义的,比如在节点 A 处于节点 B 的上方一层,且 A, B 之间有连线连接,则可认为 A 是 B 的上游一层节点。因此与传统 DAG 布局产生了以下不同点,我们需要根据场景做定制。
节点所在层级固定:DAG 布局既能支持自动计算层级,也能接受直接指定节点分层。
可能产生同层级连线:将同一层级里有连线的节点进行分组,进行内部排序后,视为整体再参与当前层级的排序,以减少交叉点的数量。

6. 总结
从功能设计上,我们需要从用户的使用场景出发,区分不同的功能满足用户的诉求。同时,在前端领域中,针对大数据量的场景,需要判断这些大数据量的展示对用户是否存在价值,从大数据量中挖掘出用户的关注点并突出重点,方便用户快速地进行查看分析。
从技术实现上,我们需要结合业务,根据业务的特征去修改已有的 DAG 布局实现,以满足在不同的业务场景下,更好地将信息呈现给用户。
当然,当前的功能设计也存在不足之处,在当前的上游查看分析功能上,由于数据库查询存在瓶颈,只能分析一层的上游,在后续优化查询性能后,可以通过一键分析,直接查找到出现问题的根节点,可以帮助用户减少操作成本以提高分析效率。
7. 参考
Dag 布局流程参考:Sugiyama, Tagawa, Toda, et al., "Methods for Visual Understanding of Hierarchical System Structures" 链接:http://media.wix.com/ugd/6cbb0c_289d09ca219c4c9a8df5bf05c16214dc.pdf DAG 算法主体:Gansner, et al., "A Technique for Drawing Directed Graphs" 链接:https://www.researchgate.net/profile/Emden-Gansner/publication/3187542_A_Technique_for_Drawing_Directed_Graphs/links/5c0abd024585157ac1b04523/A-Technique-for-Drawing-Directed-Graphs.pdf
8. 关于我们
火山引擎大数据研发治理套件DataLeap
一站式数据中台套件,帮助用户快速完成数据集成、开发、运维、治理、资产、安全等全套数据中台建设,帮助数据团队有效的降低工作成本和数据维护成本、挖掘数据价值、为企业决策提供数据支撑。点击阅读原文立即体验产品!
欢迎加入字节跳动数据平台官方群,进行数据技术交流、获取更多内容干货



● 超百万人用它生成3D头像,这项技术刚刚中选了 SIGGRAPH Asia 2022
● Kitex Proxyless 之流量路由:配合 Istio 与 OpenTelemetry 实现全链路泳道
阅读原文,了解火山引擎大数据研发治理套件 DataLeap




