排行
数据库百科
核心案例
行业报告
月度解读
大事记
产业图谱
中国数据库
向量数据库
时序数据库
实时数据库
搜索引擎
空间数据库
图数据库
数据仓库
大调查
2021年报告
2022年报告
年度数据库
2020年openGauss
2021年TiDB
2022年PolarDB
2023年OceanBase
首页
资讯
活动
大会
学习
课程中心
推荐优质内容、热门课程
学习路径
预设学习计划、达成学习目标
知识图谱
综合了解技术体系知识点
课程库
快速筛选、搜索相关课程
视频学习
专业视频分享技术知识
电子文档
快速搜索阅览技术文档
文档
问答
服务
智能助手小墨
关于数据库相关的问题,您都可以问我
数据库巡检平台
脚本采集百余项,在线智能分析总结
SQLRUN
在线数据库即时SQL运行平台
数据库实训平台
实操环境、开箱即用、一键连接
数据库管理服务
汇聚顶级数据库专家,具备多数据库运维能力
数据库百科
核心案例
行业报告
月度解读
大事记
产业图谱
我的订单
登录后可立即获得以下权益
免费培训课程
收藏优质文章
疑难问题解答
下载专业文档
签到免费抽奖
提升成长等级
立即登录
登录
注册
登录
注册
首页
资讯
活动
大会
课程
文档
排行
问答
我的订单
首页
专家团队
智能助手
在线工具
SQLRUN
在线数据库即时SQL运行平台
数据库在线实训平台
实操环境、开箱即用、一键连接
AWR分析
上传AWR报告,查看分析结果
SQL格式化
快速格式化绝大多数SQL语句
SQL审核
审核编写规范,提升执行效率
PLSQL解密
解密超4000字符的PL/SQL语句
OraC函数
查询Oracle C 函数的详细描述
智能助手小墨
关于数据库相关的问题,您都可以问我
精选案例
新闻资讯
云市场
登录后可立即获得以下权益
免费培训课程
收藏优质文章
疑难问题解答
下载专业文档
签到免费抽奖
提升成长等级
立即登录
登录
注册
登录
注册
首页
专家团队
智能助手
精选案例
新闻资讯
云市场
微信扫码
复制链接
新浪微博
分享数说
采集到收藏夹
分享到数说
首页
/
基线预警的局限性
基线预警的局限性
白鳝的洞穴
2022-12-30
435
基线预警数据库运维监控中的重要手段之一,通过基线发现系统中某些指标存在的不合理波动,进而提前预警,是一种数据库运维监控中最为常用的手段,也是目前大多数企业正在使用的主要监控方案。
虽然大家都用基线预警,不过大家关注的基线指标与阈值都存在较大的差异。因为虽然大家使用的数据库的种类相同,但是大家的系统都存在较大的差异。具体用哪些指标来做预警,以及设定什么样的阈值,这是十分个性化的。实际上一个能够真正起作用的基线预警系统,里面都包含了大量的运维经验。
以每秒读时间这个指标为例,我们可以看出其取值范围波动是较大的,并且没有明显的聚集特性,此类指标我们该如何设置基线呢?确实也是有些头疼的事情。
再来看看另外一个数据库的共享缓存区命中率,其点的集中度还是比较集中,但是还是存在散落分布的,差异很大的值。这些值要不要告警呢?告警对我们的运维有什么意义呢?也真的说不清楚。而且如果我们运维数百套,甚至上千套类似的数据库系统,我们也无法对这些数据库系统设置合理的基线阈值。如果不去做个性化的设置,那么基线告警就不准确,运维告警工作陷入了两难的境地。
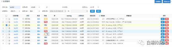
可能有朋友会说,干嘛不用动态基线或者智能基线。确实动态基线可以避免上面说的问题,但是动态基线就一定有意义吗?我们来看上面有一个严重的IO LATCNCY基线告警。
IO延时出现了较为严重的波动,但是这有代表了什么含义呢?要不要发短信告警呢?运维人员收到短信要不要去处置呢?要不要对这个告警做闭环管理呢?我们还是搞不清楚,运维告警的意义一方面是发现系统的隐患,另外一方面是在系统出现严重故障前提前警示。似乎这个被标称为“严重”的基线告警,对我们运维的帮助也没有那么大。
从上面的例子我们看到了基线告警的局限性,简单的单一指标异常为核心的基线告警并不能预示某类故障的发生,因此基线告警对于运维的作用就大大降低了。对基线告警进行简单的升级,通过规则引擎构建故障模型,会有更好的效果。比如刚才的这个通过动态基线产生的IO延时基线异常,如果再叠加一些其他的条件,就可以构建出一个更有指向性的告警出来。比如IO延时基线异常,同时操作系统出现大量的IO方面的告警,或者出现多路径链路切换,这样的告警其指向性就更强了,而且告警的价值也大大提高了。
从另外一个角度来看,IO延时基线异常,同时IO吞吐量也大幅提高,某条关键SQL的执行时间也变长了,这种告警也更具有价值。也更值得做闭环管理。
通过故障模型替代基线告警,还有一个好处,那就是告警的指向性更强,因此当告警发生时,诊断问题的原因也变得简单了很多,因为单一指标异常的可能原因过于复杂,大多数情况下让人无法入手分析。而故障模型叠加了很多其他因素,因此故障的指向性也更强了,分析问题的时候也就更容易了。这也是现在D-SMART的基线告警并不推送到告警台,而用故障模型告警替代的主要原因。
基线
数据库
文章转载自
白鳝的洞穴
,如果涉嫌侵权,请发送邮件至:contact@modb.pro进行举报,并提供相关证据,一经查实,墨天轮将立刻删除相关内容。
评论
领墨值
有奖问卷
意见反馈
客服小墨