
博主介绍:✌全网粉丝3W+,全栈开发工程师,从事多年软件开发,在大厂呆过。持有软件中级、六级等证书。可提供微服务项目搭建与毕业项目实战✌
博主作品:《微服务实战》专栏是本人的实战经验总结,《Spring家族及微服务系列》专注Spring、SpringMVC、SpringBoot、SpringCloud系列、Nacos等源码解读、热门面试题、架构设计等。除此之外还有不少文章等你来细细品味,更多惊喜等着你哦
开源项目:码云搜索CeaM/boot-mall
🍅文末关注公众号获取联系🍅精彩专栏推荐订阅👇🏻👇🏻 不然下次找不到哟
前言
本系统是基于Spring1Boot+MyBatis+Vue+Uniapp的前后端完全分离的图书阅读管理系统。值得一提的是前端使用了目前市场上较流行的组件elementui,在本系统里面对其进行了二次封装,使得页面更加的简洁与优雅,也提高了系统的可维护性。同时探究前端与后端是如何建立数据交互的,以及它为系统提供的服务和已经建好的多张表之间的关系。故课题研究的是这些技术的关联以及如何实现本系统,同时探究系统如何在Linux系统进行Docker容器化部署。
系统设计
1、系统运行环境
开发系统:Windows10左右
架构模式:MVC/前后端分离
JDK版本:Java JDK1.8
开发工具:IDEA
数据库版本:mysql5.7
数据库可视化工具:SQL yog或Navicat for MySQL
服务器:SpringBoot自带 apache tomcat
主要技术:Java、SpringBoot2、MyBatis、SpringSecurity、MySQL、Html、Vue、Elementui、uniapp等
注意:没有可以提供
2、系统架构设计

3、登录借鉴设计

系非功能性需求分析与可行性分析
2.5非功能性需求分析
非功能性需求:用户对软件质量属性、运行环境、资源约束、外部接口等方面的要求或期望,包括:
2.5.1性能需求:
用户在软件响应速度、结果精度、运行时资源消耗量等方面的要求。
2.5.2可行性需求:
用户在软件失效的频率、严重程度、易恢复性,以及故障可预测性等方面的要求。
2.5.3易用性需求:
用户在界面的易用性、美观性,以及对面向用户的文档和培训资料等方面的要求。
2.5.4安全性需求:
用户在身份证、授权控制、私密性等方面的要求。
2.5.5运行环境约束:
用户对软件系统运行环境的要求。
2.5.6外部接口:
用户对待开发软件系统与其它软件系统或设备之间的接口要求
2.6可行性分析
可行性分析是从不同的角度,对可能影响系统的各方面因素进行分析,确认系统在实际生活上是可行的。本系统只是单纯地从经济、法律、技术、操作可行性四个方面来分析说明。
2.6.1技术可行性
技术上的可行性分析主要分析技术条件能否顺利完成开发工作,软、硬件能否满足需要。本系统采用Vue+Elementui开发出友好美观的人机界面,便于用户理解、操作。数据库管理系统采用MySQL,它能够处理大量数据,同时保持数据的完整性、安全性和持久性。后端技术使用SpringBoot、MyBatis,这些技术在许多公司已经被商用了,因此本系统的开发平台已成熟可行。硬件方面,在科技飞速发展的今天,硬件更新速度越来越快,容量越来越大,可靠性越来越高,价格越来越便宜,因此硬件平台也能够满足本系统所需。
2.6.2经济可行性
项目放在阿里学生服务器或者本地虚拟机的linux环境,故可行。
2.6.3法律可行性
可行,自己写的项目,目的明确,没有违法违规。
2.6.4操作可行性
操作较为简单,而且当下信息科技发达,界面的设计也着实考虑到用户的体验,系统也是为用户而生。故操作是可行的,不存在难度大的操作。
运行截图
2、挂号处

3、门诊部
3.1、病例

3.2、处方

4、住院部
4.1、手术项目

4.2、床位

4.3、手术订单

5、药剂部
5.1、药品订单

5.2、药品

6、医院管理
6.1、排班

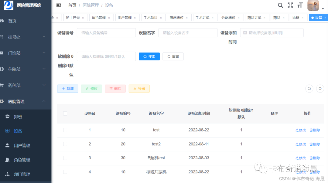
6.2、设备

6.3、用户管理

6.4、角色管理

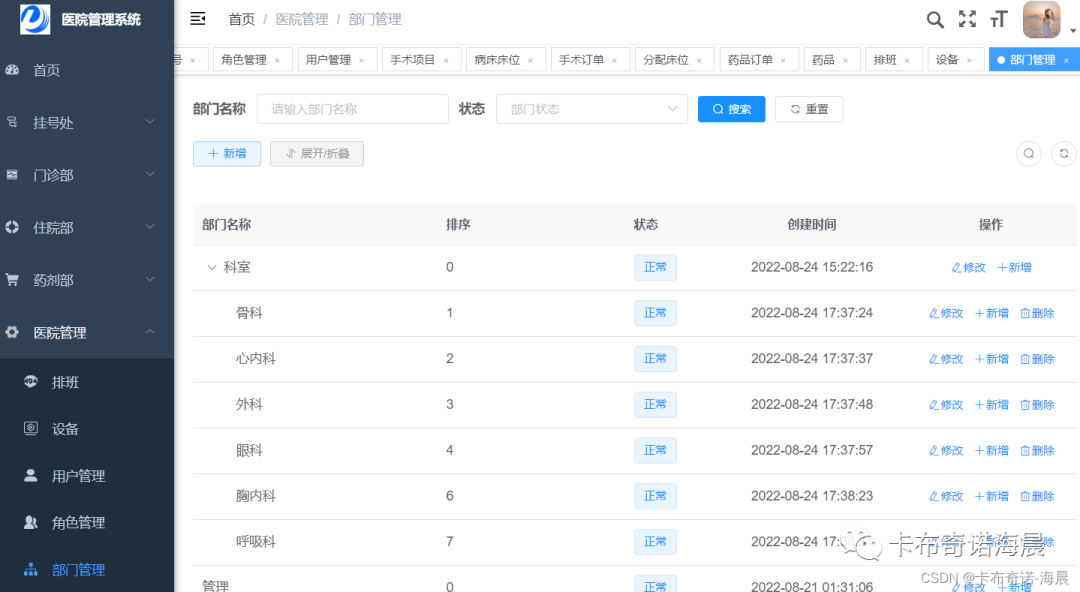
6.5、部门管理

7、系统管理
7.1、菜单管理

7.2、通知公告

8、检查项目
8.1、血糖结果

8.2、检查项目

8.3、血常规结果

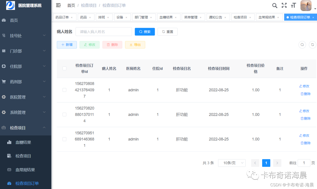
8.4、检查项目订单

实现代码
1、角色控制器
/*** <p>* 角色表 前端控制器* </p>** @author CeaM* @since 2023-01-28*/@RestController@AllArgsConstructor@RequestMapping("/api/roles")public class CeamSysRoleController {private final ICeamSysRoleService ceamSysRoleService;private final ICeamSysUserService ceamSysUserService;@GetMappingpublic ResponseEntity<IPage<CeaMSysRoleVO>> getRoles(PageableDTO pageable) {IPage<CeaMSysRoleVO> mapIPage = ceamSysRoleService.pageCeaMSysRoleVO(pageable);return ResponseEntity.ok(mapIPage);}@GetMapping(value = "/level")public ResponseEntity<Object> getLevel() {return new ResponseEntity<>(Dict.create().set("level", getLevels(null)), HttpStatus.OK);}@PutMapping(value = "/menu")public ResponseEntity<Object> updateMenu(@RequestBody CeaMSysRoleDTO roleDTO) {CeamSysRole role = ceamSysRoleService.getById(roleDTO.getId());getLevels(role.getLevel());ceamSysRoleService.updateMenu(roleDTO, role);return new ResponseEntity<>(HttpStatus.NO_CONTENT);}/*** 获取用户的角色级别* @return /*/private int getLevels(Integer level) {CeaMSysUserDTO user = ceamSysUserService.loadUserInfo(SecurityUtils.getUsername());List<RoleDTO> roleDTOS = ceamSysRoleService.listByUserId(user.getId());List<Integer> levels = roleDTOS.stream().map(RoleDTO::getLevel).collect(Collectors.toList());int min = Collections.min(levels);if (level != null) {if (level < min) {throw new ServiceException("权限不足,你的角色级别:" + min + ",低于操作的角色级别:" + level);}}return min;}}
2、接口
/*** <p>* 角色表 服务类* </p>** @author CeaM* @since 2023-01-28*/public interface ICeamSysRoleService extends IService<CeamSysRole> {IPage<CeaMSysRoleVO> pageCeaMSysRoleVO(PageableDTO pageable);/*** 获取用户权限信息* @param userId 用户信息* @return 权限信息*/Collection<SimpleGrantedAuthority> grantedAuthorities(Long userId);/**** @param userId 用户ID* @return RoleItemVOs*/List<RoleDTO> listByUserId(Long userId);void updateMenu(CeaMSysRoleDTO roleDTO, CeamSysRole role);}
3、实现类
/*** <p>* 角色表 服务实现类* </p>** @author CeaM* @since 2023-01-28*/@Slf4j@Service@AllArgsConstructorpublic class CeamSysRoleServiceImpl extends ServiceImpl<CeamSysRoleMapper, CeamSysRole> implements ICeamSysRoleService {private ICeamSysMenuService ceamSysMenuService;private ICeamRoleMenuService ceamRoleMenuService;@Overridepublic IPage<CeaMSysRoleVO> pageCeaMSysRoleVO(PageableDTO pageable) {LambdaQueryWrapper<CeamSysRole> queryWrapper = Wrappers.<CeamSysRole>lambdaQuery().eq(CeamSysRole::getDeleted, GlobalConstants.FALSE);Page<CeamSysRole> page = new Page<>(pageable.getPage(), pageable.getSize());// 手动设置当前页,不然分页失效page.setCurrent((long)pageable.getPage() + GlobalConstants.ONE);Page<CeamSysRole> ceamSysRolePage = page(page, queryWrapper);IPage<CeaMSysRoleVO> ceaMSysRoleVOIPage = PageVOUtil.copyToPageVO(ceamSysRolePage, CeaMSysRoleVO.class);for (CeaMSysRoleVO role : ceaMSysRoleVOIPage.getRecords()) {List<MenuDTO> menuDTOS = ceamSysMenuService.findByRoleId(role.getId(), GlobalConstants.ZERO);role.setMenus(menuDTOS);}return ceaMSysRoleVOIPage;}@Overridepublic Collection<SimpleGrantedAuthority> grantedAuthorities(Long userId) {List<RoleDTO> roleItemDTOS = this.baseMapper.listByUserId(userId);if (CollectionUtils.isEmpty(roleItemDTOS)) {throw new ServiceException("没有分配角色");}List<MenuDTO> menuDTOS = ceamSysMenuService.findByRoles(roleItemDTOS, GlobalConstants.ZERO);// 角色Set<String> permissions = roleItemDTOS.stream().filter(role -> StringUtils.isNotBlank(role.getName())).map(RoleDTO::getName).collect(Collectors.toSet());permissions.addAll(menuDTOS.stream().filter(menu -> StringUtils.isNotBlank(menu.getPermission())).map(MenuDTO::getPermission).collect(Collectors.toSet()));return permissions.stream().map(SimpleGrantedAuthority::new).collect(Collectors.toList());}@Overridepublic List<RoleDTO> listByUserId(Long userId) {return this.baseMapper.listByUserId(userId);}@Overridepublic void updateMenu(CeaMSysRoleDTO roleDTO, CeamSysRole role) {if (roleDTO.getMenus().size() > 0) {List<CeamRoleMenu> rolesMenusList = roleDTO.getMenus().stream().map(i -> {CeamRoleMenu rolesMenus = new CeamRoleMenu();rolesMenus.setRoleId(roleDTO.getId());rolesMenus.setMenuId(i.getId());return rolesMenus;}).collect(Collectors.toList());ceamRoleMenuService.remove(new LambdaQueryWrapper<CeamRoleMenu>().eq(CeamRoleMenu::getRoleId, roleDTO.getId()));ceamRoleMenuService.saveBatch(rolesMenusList);}}}
开源项目动向
后端、PC端目前已经开源,uniapp后期即将开源
1、首页

2、我的

非开源,想获取源码,关注公众号获取微信联系方式





