[导读] 前面写过篇介绍ZYNQ基本情况的文章,今天来肝一篇实战文章介绍AXI quad SPI 使用方法,如果你正使用ZYNQ的这个IP,希望对你有所帮助。初识AXI quad SPI

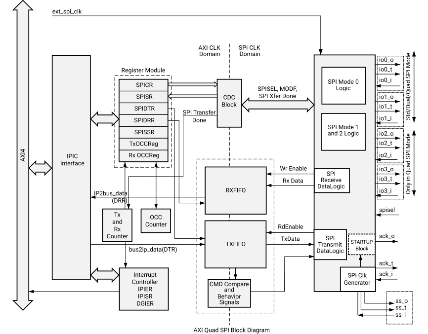
自《PG153 AXI Quad SPI v3.2》
支持:
Legacy Mode standard mode: 准SPI通常就称SPI,它是一种串行外设接口规范,有4根通信脚:SCK (时钟), CS(片选), MOSI(主出从入), MISO(主入从出)。 Dual/Quad SPI Mode:

在标准模式下,支持高达32个从站,这是非常灵活的指标。本文对于手册中的详细技术细节不做过多阐述,有兴趣的自行深入阅读研究。
该SPI IP能干神马呢?
完成如下这样一个应用场景:

所需要实现的需求用例为:
本文实现用例描述
利用AXI quad SPI 实现SPI外设控制器 实现SPI外设控制器驱动 实现多SPI从设备挂载在SPI总线 实现用户空间访问多从SPI物理从设备
从软件分层的视角来看,上述的需求需要实现下面的访问层级:

为什么要研究这个呢?实际用ZYNQ芯片做产品时,很有可能外部有多个SPI从设备芯片需要利用Linux访问,你或许会说ZYNQ的PS端不是自带了两个SPI控制器吗?但有时候项目中这两个SPI对应的引脚可能用做其他用途了,而一个复杂的项目中又不得不使用多个SPI从设备芯片时,本文所讨论的话题就能很好的解决这样的需求场景了。通过本文,你会发现,原来ZYNQ的SPI IP是如此灵活好用!
本文目的实战描述,如何一步一步从PL端设计:
block design 约束 综合 导出
乃至PS端:
SPI驱动配置 设备树修改 系统编译部署 设备驱动测试
按照这个流程,那么第一步需要设计PL端与PS端的配置,且看:
AXI Quad SPI 之配置
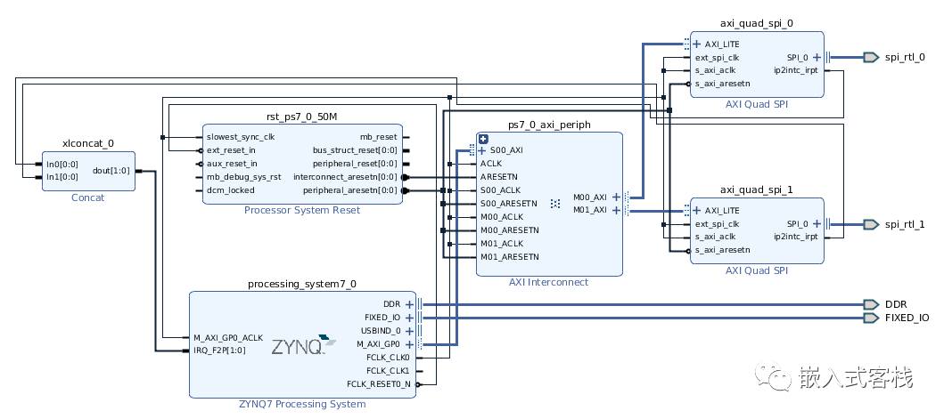
从IP catalog中按下图从ip库中添加如下IP:
ZYNQ7 processing System AXI interconnect AXI Quad SPI(可根据需要添加多个) Processing System Reset(添加ZYNQ7 processing System 点自动连线会自动添加,当然也可以手动添加) Concat

Block设计图
使能ZYNQ7 processing System的时钟PL Fabric clocks,用以驱动PL端的IP:
PL Fabric clocks设置
使能M AXI GP0接口如下:

双击AXI interconnect,设置2主1从:

双击axi_quad_spi_0设置如下,设置4个从设备(最多可支持32个从设备,PS端内置的SPI控制器1个最多支持3个从设备,从这一点可看出该IP的灵活性)

同样将axi_quad_spi_1设置为2个从设备接口。
然后按照前面的连线图,将各块连接好,做过硬件的盆友会比较适应,这就像画原理图一样,就将各IP建立了逻辑连接关系了。除此之外,对于一个ZYNQ的板子而言,你还需要做如下的PS端设置:
DDR RAM设置,根据自身的板子的内存芯片以及内存大小进行设置 Peripheral IO外设设置,比如SD卡,UART,QUAD SPI Flash,erthernet等 clock时钟系统设置,根据板子的情况进行设置CPU、DDR时钟频率、IO时钟等 ......
至于这些怎么配置,比较常见这里就不赘述了。
对于AXI quad SPI外设还有一个很重要的配置,就是其地址范围:

该地址最终将导出到设备树描述文件,用于SPI控制器驱动访问,从而让SPI控制器驱动得以与该IP通过AXI总线进行通信。
导出硬件文件
点击open elaborated design ,然后打开io ports进行管脚分配,这需要根据各自的硬件实际情况进行设置,比如我是这样设置的:

电平标准 是否上拉 驱动能力 .....
然后点击Run synthesis进行综合,成功之后点击生成bit stream。再点击export hardware,得到.hdf文件,这个文件用于构建内核。

将得到的硬件描述hdf文件以及bitstream文件拷贝至内核编译文件夹下:

配置编译内核
运行命令读取硬件描述文件:
petalinux-config --get-hw-description ../base.sdk
注:这里将hdf文件以及.bit文件放置在petalinux编译路径的上级目录的base.sdk,根据习惯可自行设置,只有上述命令传入的路径正确即可。
等待一段时间后,可得到一个配置界面,用于配置内核源、u-boot源、Image 等配置。
petalinux-config
根据实际情况配置好后,退出配置并保存配置。使用过的会比较熟悉,这里不赘述了。
配置设备树
编辑用户设备树文件,用户设备树文件在下面路径中:
./project-spec/meta-user/recipes-bsp/device-tree/files/system-user.dtsi
配置设备树如下:
/include/ "system-conf.dtsi"
/ {
};
&axi_quad_spi_0 {
status = "okay";
clock-names = "axi_clk", "axi4_clk", "spi_clk";
clocks = <&clkc 15>, <&clkc 15>, <&clkc 15>;
spi0_dev_0@0 {
compatible = "spidev";
reg = <0>;
spi-max-frequency = <500000>;
#address-cells = <1>;
#size-cells = <1>;
};
spi0_dev_1@1 {
compatible = "spidev";
reg = <1>;
spi-max-frequency = <500000>;
#address-cells = <1>;
#size-cells = <1>;
};
spi0_dev_2@2 {
compatible = "spidev";
reg = <2>;
spi-max-frequency = <500000>;
#address-cells = <1>;
#size-cells = <1>;
};
spi0_dev_3@3 {
compatible = "spidev";
reg = <3>;
spi-max-frequency = <500000>;
#address-cells = <1>;
#size-cells = <1>;
};
};
&axi_quad_spi_1 {
status = "okay";
clock-names = "axi_clk", "axi4_clk", "spi_clk";
clocks = <&clkc 15>, <&clkc 15>, <&clkc 15>;
spi1_dev_0@0 {
compatible = "spidev";
reg = <0>;
spi-max-frequency = <500000>;
#address-cells = <1>;
#size-cells = <1>;
};
spi1_dev_1@1 {
compatible = "spidev";
reg = <1>;
spi-max-frequency = <500000>;
#address-cells = <1>;
#size-cells = <1>;
};
};
这里直接使用内置spidev兼容从设备驱动,当然如果需要自己定义一个SPI设备驱动也是非常容易的,但是对于大部分普通的SPI从芯片而言直接使用spidev设备驱动即可,只需要在读写时按照芯片手册协议进行访问即可。
配置内核
运行下面命令进行内核配置:
petalinux-config -c kernel

内核配置
对于本应用而言,需要配置SPI驱动:
Device Drivers --->
+-SPI support--->
配置如下:
SPI控制器及设备驱动配置
这里调试中遇到一个奇怪的问题,CONFIG_SUSPEND需要禁止,否则控制器驱动加载不成功,目前还没有深入研究为什么不成功,猜想可能是主控制器驱动关于SUSPEND功能还不支持或者有bug,如果有哪位大神知道怎么解决请求留言指点。
Power management options --->
Suspend to RAM and standby

功能管理配置
退出并保存配置,然后运行下面命令编译系统:
petalinux-build
等待编译成功后,运行下面命令将bitstream文件包进BOOT.bin中。
petalipackage --boot --fsbl ./images/linux/zynq_fsbl.elf --fpga ../base.sdk/design_1_wrapper.bit --u-boot --force
将得到下面的输出信息,表示操作成功:
INFO: File in BOOT BIN: "/home/zynq/ALINX/spi_ip/ax_peta/images/linux/zynq_fsbl.elf"
INFO: File in BOOT BIN: "/home/zynq/ALINX/spi_ip/base.sdk/design_1_wrapper.bit"
INFO: File in BOOT BIN: "/home/zynq/ALINX/spi_ip/ax_peta/images/linux/u-boot.elf"
INFO: Generating zynq binary package BOOT.BIN...
INFO: Binary is ready.
WARNING: Unable to access the TFTPBOOT folder /tftpboot!!!
WARNING: Skip file copy to TFTPBOOT folder!!!
注:/home/zynq/ALINX/spi_ip/ax_peta 是本文工程的目录
测试SPI从设备
编写驱动测试程序,代码如下:
#include <stdio.h>
#include <string.h>
#include <unistd.h>
#include <fcntl.h>
int main(int argc, char **argv)
{
int fd;
int len;
unsigned char buf[10];
unsigned char tmp;
/* 验证输入参数个数 */
if(3 != argc)
{
printf("none para\n");
return -1;
}
/* 打开输入的设备文件, 获取文件句柄 */
fd = open(argv[1], O_RDWR);
if(fd < 0)
{
/* 打开文件失败 */
printf("Can't open file %s\r\n", argv[1]);
return -1;
}
int i = 0;
int j = 0;
len =strlen(argv[2]);
for(i=0;i<len;i++)
{
if(argv[2][i]>='0' && argv[2][i]<='9')
{
tmp = argv[2][i] - '0';
}
else if(argv[2][i]>='a' && argv[2][i]<='f')
{
tmp = argv[2][i] - 'a'+10;
}
else if(argv[2][i]>='A' && argv[2][i]<='F')
{
tmp = argv[2][i] - 'A'+10;
}
else
{
printf("Invalid input parameters \r\n");
return -1;
}
if(i%2==0)
buf[j] = tmp<<4;
else
{
buf[j] += tmp;
j++;
}
}
len = j;
printf("Test wr:");
for(i=0;i<len;i++)
printf(" %x",buf[i]);
write(fd, &buf[0], len);
printf("\n");
/* 操作结束后关闭文件 */
close(fd);
return 0;
}
编译:
arm-linux-gnueabihf-gcc test.c -o test
将编译所得的BOOT.BIN以及image.ub文件拷贝至制作好的SD的BOOT区,test文件拷贝至/home下。然后插上SD卡上电运行电路板:
登录控制台后,运行ls /dev查看spidev设备是否加载成功:
spidev设备挂载情况
可见spedev1.0、spidev1.1以及spidev2.0--spidev2.3加载成功,与预期一样。
然后运行测试程序:
root@ax_peta:/run/media/mmcblk0p2/home#./test /dev/spidev1.0 78aa
Test wr: 78 aa
用示波器或者逻辑分析仪观察对应引脚,将出现正确的SPI通信波形。
总结一下
至此,就基本实现了从PS端Linux用户空间访问PL端的SPI从设备了。当然实际项目中还有很多细节需要进一步研究:
CPOL/CPHA 组合四种模式设置 SPI通信速率设置 从设备应用协议程序编写 AXI Quad SPI FIFO特性的深入应用 AXI Quad SPI 其他模式及细节研究等
对于这些更细节的内容,相信在将基本框架搭建成功后,只要深入细致研究都不会有太大的难度。从本文可看出,ZYNQ之所以如此灵活好用,是其厂家或者第三方提供了大量成熟可供使用的IP以及配套的驱动程序。如有兴趣尝试用来开发项目,相信你会很快喜欢上这个体系的芯片,真的可以做到片上即可实现系统这一目标!





