暂无图片
暂无图片
暂无图片
暂无图片
暂无图片
数据库操作审计方法、存储介质及设备_CN116627944A_人大金仓.PDF
64
15页
1次
2023-08-29
免费下载
(19)国家知识产权局
(12)发明专利申请
(10)申请公布号
(43)申请公布日
(21)申请号 202310637475 .0
(22)申请日 2023 .05 .31
(71)申请人 北京人大金仓信息技术股份有限公
地址 100102 北京市朝阳区容达路7号院5
号楼1至3层101内二层201
(72)发明人 王凯龙 冷建全 
(74)专利代理机构 北京智汇东方知识产权代理
事务所(普通合伙) 11391
专利代理师 刘长江
(51)Int.Cl .
G06F
16/21
(2019 .01)
G06F
16/27
(2019 .01)
G06F
9/445
(2018 .01)
(54)发明名称
数据库操作审计方法存储介质及设备
(57)摘要
本发明提供了一种数据库操作审计方法
储介质及设备数据同步软件预置有读取插件
解析插件和写出插件及至少一个审计插件
审计插件依次设置在解析插件和写出插件之间
读取插件解析插件审计插件和写出插件按顺
序对数据进行处理数据库操作审计方法包括
启动读取插件解析插件审计插件和写出插件
在相邻的两个插件之间建立连接利用读取插件
读取数据库日志利用解析插件对数据库日志进
行解析得到增量事务数据利用审计插件对增
量事务数据进行审计利用写出插件获取审计完
成后的增量事务数据并将增量事务数据写出到
增量文件中利用数据同步软件对数据库操作进
行审计减少了对数据库的侵入性
权利要求书2页 说明书7页 附图5页
CN 116627944 A
2023.08.22
CN 116627944 A
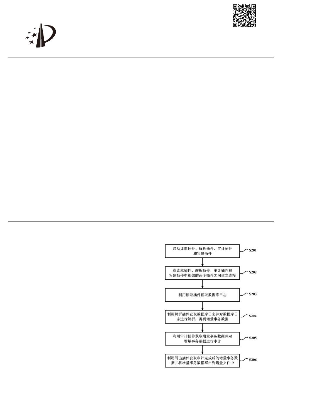
1 .种利用数据同步软件的数据库操作审计方法所述数据同步软件预置有读取插
解析插件和写出插件以及至少一个审计插件所述审计插件依次设置在所述解析插件
和所述写出插件之间所述读取插件所述解析插件所述审计插件和所述写出插件按顺序
对数据进行处理
所述数据库操作审计方法包括
启动所述读取插件所述解析插件所述审计插件和所述写出插件
在所述读取插件所述解析插件所述审计插件和所述写出插件中相邻的两个插件之
间建立连接
利用所述读取插件读取数据库日志
利用所述解析插件获取所述数据库日志并对所述数据库日志进行解析得到增量事务
数据
利用所述审计插件获取所述增量事务数据并对所述增量事务数据进行审计
利用所述写出插件获取审计完成后的增量事务数据并将所述增量事务数据写出到增
量文件中
2.根据权利要求1所述的数据库操作审计方法其中所述在所述读取插件所述解析
插件、所述审计插件和所述写出插件中相邻的两个插件之间建立连接的步骤包括
在所述读取插件所述解析插件所述审计插件和所述写出插件中相邻的两个插件之
间建立队列
3 .根据权利要求1所述的数据库操作审计方法其中所述在所述读取插件所述解析
插件、所述审计插件和所述写出插件中相邻的两个插件之间建立连接的步骤包括
在所述读取插件所述解析插件所述审计插件和所述写出插件中相邻的两个插件之
间建立共享内存
4 .根据权利要求1所述的数据库操作审计方法其中所述利用审计插件获取所述增量
事务数据并对所述增量事务数据进行审计的步骤之后包括
将审计后的所述增量事务数据记录到审计日志中
5 .根据权利要求1所述的数据库操作审计方法其中所述利用审计插件获取所述增量
事务数据并对所述增量事务数据进行审计的步骤之后包括
将审计记录发送到预设的接收端以供用户调取
6 .根据权利要求5所述的数据库操作审计方法其中所述接收端包括系统日志三方
数据库或者预警平台
7 .根据权利要求1所述的数据库操作审计方法其中在所述读取插件所述解析插件
所述审计插件和所述写出插件中相邻的两个插件之间建立连接的步骤之后包括
在每个插件建立线程所述线程用于对处理数据相邻的所述插件的所述线程利用两
个所述插件之间的连接传递数据
8.根据权利要求1所述的数据库操作审计方法其中所述利用所述解析插件获取所述
数据库日志并对所述数据库日志进行解析的步骤包括
利用所述解析插件对所述数据库日志进行解析得到数据库操作
将属于同一事务的所述数据库操作组成事务得到所述增量事务数据
9.一种机器可读存储介质其上存储有机器可执行程序所述机器可执行程序被处理
权 利 要 求 书
1/2
2
CN 116627944 A
2
of 15
免费下载
【版权声明】本文为墨天轮用户原创内容,转载时必须标注文档的来源(墨天轮),文档链接,文档作者等基本信息,否则作者和墨天轮有权追究责任。如果您发现墨天轮中有涉嫌抄袭或者侵权的内容,欢迎发送邮件至:contact@modb.pro进行举报,并提供相关证据,一经查实,墨天轮将立刻删除相关内容。

评论

关注
最新上传
暂无内容,敬请期待...
下载排行榜
Top250 周榜 月榜