暂无图片
暂无图片
暂无图片
暂无图片
暂无图片
CN202311335503.X-数据库数据的恢复方法、存储介质与设备.PDF
25
16页
0次
2024-03-20
免费下载
(19)国家知识产权局
(12)发明专利申请
(10)申请公布号
(43)申请公布日
(21)申请号 202311335503 .X
(22)申请日 2023 .10.16
(71)申请人 北京人大金仓信息技术股份有限公
地址 100102 北京市朝阳区容达路7号院5
号楼13101内二层201
(72)发明人 黄德敏 李翔 
(74)专利代理机构 北京智汇东方知识产权代理
事务所(普通合伙) 11391
专利代理师 刘长江
(51)Int.Cl .
G06F
11/14
(2006 .01)
G06F
16/23
(2019 .01)
G06F
16/18
(2019 .01)
G06F
16/17
(2019 .01)
(54)发明名称
数据库数据的恢复方法存储介质与设备
(57)摘要
本发明提供了一种数据库数据的恢复方法
存储介质与设备其中上述方法包括确定待恢
复的目标数据块对应的目标信息根据目标信息
在日志文件中获取对应的目标全页写日志全页
写日志用于记录数据块在某一检查点之后的基
础数据信息根据目标全页写日志对目标数据块
进行恢复通过此方法能够在日志文件中直接
找到目标数据块所对应的目标全页写日志从而
根据目标全页写日志中的记录恢复得到目标数
据块在某一检查点的基础数据随后继续根据后
续的日志记录进行更新恢复即直接跳转至目标
数据块在某一检查点的记录开始进行数据恢复
无需从零开始进行数据恢复进而提高数据块恢
复的速度
权利要求书2页 说明书9页 附图4页
CN 117271221 A
2023.12.22
CN 117271221 A
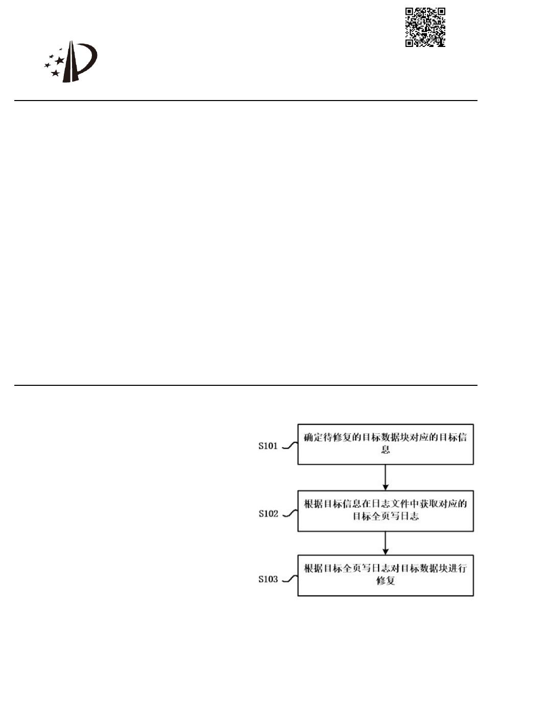
1 .一种数据库数据的恢复方法包括
确定待恢复的目标数据块对应的目标信息
根据所述目标信息在日志文件中获取对应的目标全页写日志所述全页写日志用于记
录数据块在某一检查点的基础数据信息
根据所述目标全页写日志对所述目标数据块进行恢复
2 .根据权利要求1所述的数据库数据的恢复方法其中
所述根据所述目标信息在日志文件中获取对应的目标全页写日志的步骤包括
对所述日志文件进行解析并读取至缓存中得到日志读缓存
判断所述日志读缓存是否为全页写日志
若是则根据所述目标信息在所述日志读缓存中获取所述目标全页写日志
3 .根据权利要求2所述的数据库数据的恢复方法其中
所述目标信息包括所述目标数据块的标识
所述根据所述目标信息在所述日志读缓存中获取所述目标全页写日志的步骤包括
根据所述目标数据块的标识确定所述目标全页写日志的索引号
根据所述索引号确定所述日志读缓存中是否存在所述目标全页写日志
若是则获取所述目标全页写日志
4 .根据权利要求1所述的数据库数据的恢复方法其中
所述目标信息包括所述目标数据块的大小
所述根据所述目标全页写日志对所述目标数据块进行恢复的步骤包括
根据所述目标信息计算恢复所述目标数据块所需的目标日志块在所述目标全页写日
志中的偏移量所述目标日志块用于记录所述目标数据块在某一检查点的基础数据信息
根据所述偏移量确定所述目标日志块在所述目标全页写日志中的起始点
根据所述目标数据块的大小从所述起始点开始复制相同大小的日志块至内存中作为
所述目标日志块
对所述目标日志块进行校验处理
在所述目标日志块通过所述校验处理的情况下根据所述目标日志块中的数据对所述
目标数据块进行数据恢复
根据所述日志文件中所述全页写日志之后的记录对所述目标数据块进行更新
5 .根据权利要求4所述的数据库数据的恢复方法其中
所述对所述目标日志块进行校验处理的步骤包括
判断所述目标日志块是否经过压缩处理
若是则判断所述目标日志块是否存在内存空洞
在所述目标日志块不存在内存空洞的情况下对所述目标日志块进行解压处理判定
所述目标日志块通过所述校验处理
6 .根据权利要求5所述的数据库数据的恢复方法其中
所述判断所述目标日志块是否存在内存空洞的步骤之后还包括
在所述目标日志块存在所述内存空洞的情况下对所述内存空洞进行零值填充;
判定填充完毕后的目标日志块通过所述校验处理
7 .根据权利要求1所述的数据库数据的恢复方法其中
权 利 要 求 书
1/2
2
CN 117271221 A
2
of 16
免费下载
【版权声明】本文为墨天轮用户原创内容,转载时必须标注文档的来源(墨天轮),文档链接,文档作者等基本信息,否则作者和墨天轮有权追究责任。如果您发现墨天轮中有涉嫌抄袭或者侵权的内容,欢迎发送邮件至:contact@modb.pro进行举报,并提供相关证据,一经查实,墨天轮将立刻删除相关内容。

评论

关注
最新上传
暂无内容,敬请期待...
下载排行榜
Top250 周榜 月榜