暂无图片
暂无图片
暂无图片
暂无图片
暂无图片
CN202310233870.2-数据库同步数据的处理方法、存储介质与设备.PDF
21
15页
0次
2024-03-20
免费下载
(19)国家知识产权局
(12)发明专利申请
(10)申请公布号
(43)申请公布日
(21)申请号 202310233870 .2
(22)申请日 2023 .03 .03
(71)申请人 北京人大金仓信息技术股份有限公
地址 100102 北京市朝阳区容达路7号院5
号楼1至3层101内二层201
(72)发明人 雷东 王凯龙 魏乾 
(74)专利代理机构 北京智汇东方知识产权代理
事务所(普通合伙) 11391
专利代理师 陈长山
(51)Int.Cl .
G06F
16/27
(2019 .01)
G06F
16/22
(2019 .01)
G06F
16/23
(2019 .01)
G06F
16/2455
(2019 .01)
(54)发明名称
数据库同步数据的处理方法存储介质与设
(57)摘要
本发明提供了一种数据库同步数据的处理
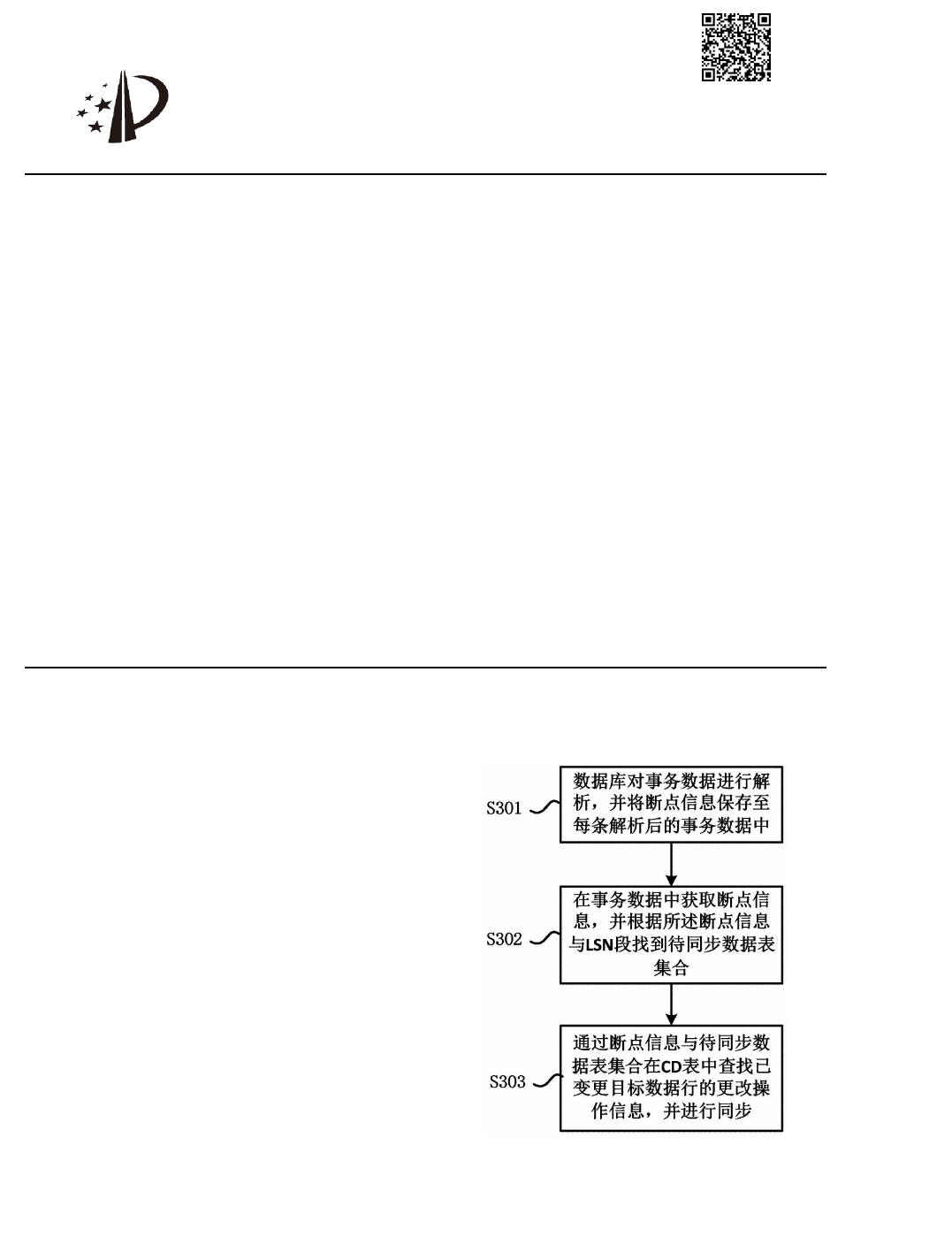
方法存储介质与设备其中上述方法包括数据
库对事务数据进行解析并将断点信息保存至每
条解析后的事务数据中在事务数据中获取断点
信息并根据断点信息与LSN段找到待同步数据
表集合通过断点信息与待同步数据表集合在CD
表中查找已变更目标数据行的更改操作信息
进行同步通过这种方法避免了断点与数据分
开存储会导致的不一致的问题保证了多张CD表
事件数据的有序性并且断点信息中记录了处理
时的唯序列号可以在处理任意行时提交断
点。
权利要求书2页 说明书8页 附图4页
CN 116244382 A
2023.06.09
CN 116244382 A
1 .一种数据库同步数据的处理方法包括
所述数据库对事务数据进行解析并将断点信息保存至每条解析后的事务数据中
在所述事务数据中获取所述断点信息并根据所述断点信息与LSN段找到待同步数据
表集合
通过所述断点信息与所述待同步数据表集合在CD表中查找已变更目标数据行的更改
操作信息并进行同步
2.根据权利要求1所述的数据库同步数据的处理方法其中
所述断点信息包括LSN段起始值、LSN段结束值以及已变更目标数据行序列号
所述根据所述断点信息与LSN段找到待同步数据表集合的步骤包括
获取所述LSN段中LSN最大值
判断所述LSN最大值是否为空
在所述LSN最大值不为空的情况下判断所述断点信息中所述LSN段起始值是否为空
在所述LSN段起始值不为空的情况下判断所述LSN段起始值是否小于所述LSN最大值
在所述LSN段起始值小于所述LSN最大值的情况下判断所述断点信息中所述LSN段结
束值是否为空
在所述LSN段结束值不为空的情况下查询所述LSN段起始值至所述LSN段结束值中的
日志信息得到所述待同步数据表集合
3 .根据权利要求1所述的数据库同步数据的处理方法其中
所述通过所述断点信息与所述待同步数据表集合在CD表中查找已变更目标数据行的
更改操作信息并进行同步的步骤包括
遍历所述待同步数据表集合
逐一处理所述待同步数据表集合中变更数据
4 .根据权利要求3所述的数据库同步数据的处理方法其中
所述断点信息还包括源表唯一标识
所述逐一处理所述待同步数据表集合中变更数据的步骤包括
判断所述待同步数据表集合中待同步数据表的源表唯一标识是否大于等于所述断点
信息中的源表唯一标识
若所述待同步数据表的源表唯一标识大于等于所述断点信息中的源表唯一标识则查
询并处理所述待同步数据表中的变更数据
将所述断点信息中的已变更目标数据行序列号设置为空
5 .根据权利要求4所述的数据库同步数据的处理方法其中
所述断点信息包括LSN段起始值、LSN段结束值以及已变更目标数据行序列号
所述查询并处理所述待同步数据表集合中的变更数据的步骤包括
查询所述CD表中位于所述断点信息中的所述LSN段起始值至所述LSN段结束值区间的
数据并生成变更数据表
遍历所述变更数据表中数据
逐一解析所述变更数据表中数据行序列号大于所述断点信息中所述已变更目标数据
行序列号的数据行
将经过解析的数据行的序列号赋值给所述断点信息中所述已变更目标数据行序列号
权 利 要 求 书
1/2
2
CN 116244382 A
2
of 15
免费下载
【版权声明】本文为墨天轮用户原创内容,转载时必须标注文档的来源(墨天轮),文档链接,文档作者等基本信息,否则作者和墨天轮有权追究责任。如果您发现墨天轮中有涉嫌抄袭或者侵权的内容,欢迎发送邮件至:contact@modb.pro进行举报,并提供相关证据,一经查实,墨天轮将立刻删除相关内容。

评论

关注
最新上传
暂无内容,敬请期待...
下载排行榜
Top250 周榜 月榜