暂无图片
暂无图片
暂无图片
暂无图片
暂无图片
【GoldenDB专利】跨数据库的物化视图的增量刷新方法和装置_​202311174523.3_金篆信科有限责任公司.PDF
37
25页
1次
2024-07-11
免费下载
(19)国家知识产权局
(12)发明专利申请
(10)申请公布号
(43)申请公布日
(21)申请号 202311174523 .3
(22)申请日 2023 .09 .12
(71)申请人 金篆信科有限责任公司
地址 100176 北京市大兴区北京经济技术
开发区科谷一街10号院8号楼18
京自庄组
(72)发明人 许华方 
(74)专利代理机构 北京华夏泰和知识产权代理
有限公司 11662
专利代理师 田然
(51)Int.Cl .
G06F
16/23
(2019 .01)
G06F
16/25
(2019 .01)
G06F
16/27
(2019 .01)
(54)发明名称
跨数据库的物化视图的增量刷新方法和装
(57)摘要
本申请实施例涉及一种跨数据库的物化视
图的增量刷新方法装置电子设备及存储介质
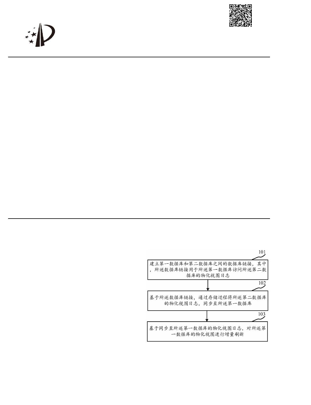
上述方法包括建立第一数据库和第二数据库之
间的数据库链接其中所述数据库链接用于所
述第一数据库访问所述第二数据库的物化视图
日志基于所述数据库链接通过存储过程将所
述第二数据库的物化视图日志同步至所述第一
数据库基于同步至所述第一数据库的物化视图
日志对所述第一数据库的物化视图进行增量刷
由此可以通过存储过程来实现跨数据库的
物化视图的增量刷新可以减少对第二数据库的
基表访问压力
权利要求书2页 说明书17页 附图5页
CN 117390036 A
2024.01.12
CN 117390036 A
1 .一种跨数据库的物化视图的增量刷新方法其特征在于所述方法包括
建立第一数据库和第二数据库之间的数据库链接其中所述数据库链接用于所述第
一数据库访问所述第二数据库的物化视图日志
基于所述数据库链接通过存储过程将所述第二数据库的物化视图日志同步至所述
第一数据库
基于同步至所述第一数据库的物化视图日志对所述第一数据库的物化视图进行增量
刷新
2 .根据权利要求1所述的方法其特征在于所述基于所述数据库链接通过存储过程
将所述第二数据库的物化视图日志,同步至所述第一数据库包括
获取所述第二数据库的第一名称所述第二数据库的物化视图日志的第二名称和所述
数据库链接的第三名称
确定所述第一名称所述第二名称和所述第三名称是否符合预设同步条件
在所述第一名称所述第二名称和所述第三名称符合所述预设同步条件的情况下
于所述数据库链接通过存储过程将所述第二数据库的物化视图日志同步至所述第一数
据库
3 .根据权利要求1所述的方法其特征在于所述基于所述数据库链接通过存储过程
将所述第二数据库的物化视图日志,同步至所述第一数据库包括
确定是否存在目标任务其中所述目标任务为处于通过所述数据库链接同步所述第
二数据库的物化视图日志的状态的任务
在不存在所述目标任务的情况下基于所述数据库链接通过存储过程将所述第二数
据库的物化视图日志同步至所述第一数据库
4 .根据权利要求1所述的方法其特征在于所述基于所述数据库链接通过存储过程
将所述第二数据库的物化视图日志,同步至所述第一数据库包括
确定第一标识,其中所述第一标识对应当前时间
通过所述数据库链接将所述第二数据库的物化视图日志中采用第二标识标记的行数
据同步至所述第一数据库其中所述第二标识大于第三标识所述第二标识对应所述第二
数据库的物化视图中行数据的更新时间所述第三标识对应上次将所述第二数据库的物化
视图日志同步至所述第一数据库的时间
采用所述第一标识标记所述第一数据库的物化视图日志中本次同步的行数据
将所述第三标识更新为所述第一标识
5 .根据权利要求4所述的方法其特征在于所述将所述第二数据库的物化视图日志中
采用第二标识标记的行数据同步至所述第一数据库包括
按照第二标识的大小顺序将所述第二数据库的物化视图日志对应的行数据分批同步
至所述第一数据库其中同一批次从所述第二数据库同步至所述第一数据库的行数据的
第二标识相同
6 .根据权利要求15之一所述的方法其特征在于在所述基于同步至所述第一数据库
的物化视图日志对所述第一数据库的物化视图进行增量刷新之后所述方法还包括
确定所述第一数据库的物化视图的刷新方式
从同步至所述第一数据库的物化视图日志中确定最大标识其中标识用于表示行数
权 利 要 求 书
1/2
2
CN 117390036 A
2
of 25
免费下载
【版权声明】本文为墨天轮用户原创内容,转载时必须标注文档的来源(墨天轮),文档链接,文档作者等基本信息,否则作者和墨天轮有权追究责任。如果您发现墨天轮中有涉嫌抄袭或者侵权的内容,欢迎发送邮件至:contact@modb.pro进行举报,并提供相关证据,一经查实,墨天轮将立刻删除相关内容。

文档被以下合辑收录

评论

关注
最新上传
暂无内容,敬请期待...
下载排行榜
Top250 周榜 月榜