暂无图片
暂无图片
暂无图片
暂无图片
暂无图片
【GoldenDB专利】访问日志分析方法和系统、电子设备、可读 介质_CN202210754692_中兴通讯股份有限公司.pdf
68
13页
0次
2024-12-30
免费下载
(19)国家知识产权局
(12)发明专利申请
(10)申请公布号
(43)申请公布日
(21)申请号 202210754692 .3
(22)申请日 2022 .06 .29
(71)申请人 中兴通讯股份有限公司
地址 518057 广东省深圳市南山区高新技
术产业园科技南路中兴通讯大厦
(72)发明人 徐继旺 周悦来 孙先江 
(74)专利代理机构 北京天昊联合知识产权代理
有限公司 11112
专利代理师 姜春咸 郑旭丽
(51)Int.Cl.
H04L
9/40
(2022 .01)
H04L
41/069
(2022 .01)
(54)发明名称
访问日志分析方法和系统电子设备可读
介质
(57)摘要
本申请提供了一种访问日志分析方法和系
电子设备计算机可读介质访问日志分析方
法包括接收内容分发网络设备组上传的用户访
问日志文件对所述用户访问日志文件进行聚合
统计运算得到的聚合统计运算结果根据所述聚
合统计运算结果向内容分发管理系统发送控制
信号所述控制信号用于指示所述内容分发管理
系统对加速内容资源的管理策略和所述内容分
发网络设备组中的目标内容分发网络设备的缓
存策略中的至少一个进行调整
权利要求书2页 说明书8页 附图2页
CN 117353962 A
2024.01.05
CN 117353962 A
1 .一种访问日志分析方法该方法包括
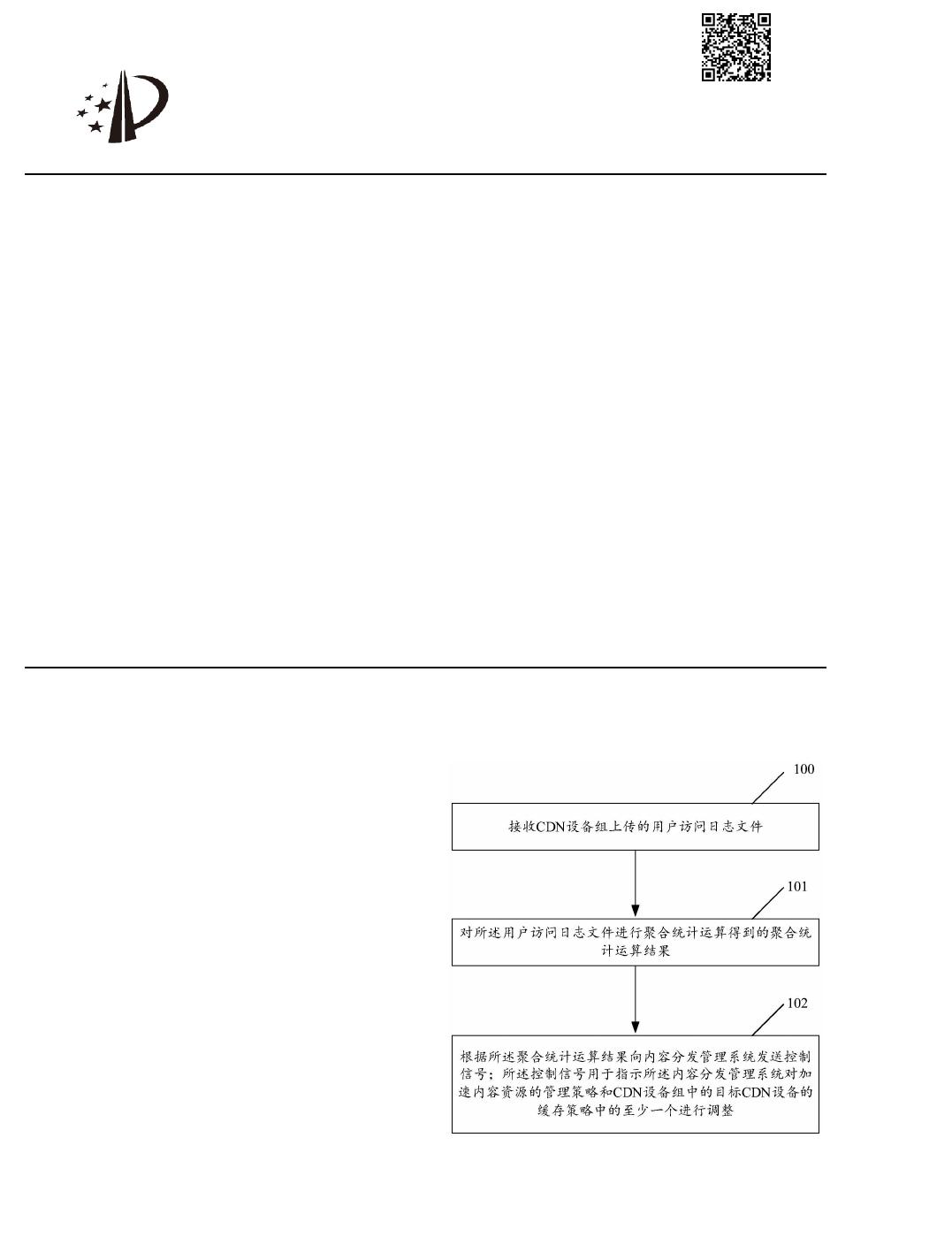
接收内容分发网络设备组上传的用户访问日志文件
对所述用户访问日志文件进行聚合统计运算得到的聚合统计运算结果
根据所述聚合统计运算结果向内容分发管理系统发送控制信号所述控制信号用于指
示所述内容分发管理系统对加速内容资源的管理策略和所述内容分发网络设备组中的目
标内容分发网络设备的缓存策略中的至少一个进行调整
2 .根据权利要求1所述的访问日志分析方法其中所述根据所述聚合统计运算结果向
内容分发管理系统发送控制信号包括
基于所述聚合统计运算结果得到用户行为分析结果
基于所述用户行为分析结果得到所述控制信号其中所述控制信号用于指示所述内
容分发管理系统对所述加速内容资源的管理策略进行调整
3 .根据权利要求2所述的访问日志分析方法其中所述基于所述聚合统计运算结果得
到用户行为分析结果包括
根据所述聚合统计运算结果计算第一目标域名的访问热度值
4 .根据权利要求1所述的访问日志分析方法其中所述根据所述聚合统计运算结果向
内容分发管理系统发送控制信号包括
基于所述聚合统计运算结果按预设策略进行处理得到告警信息
基于对所述告警信息进行分析判断得到所述控制信号其中所述控制信号用于指示
所述内容分发管理系统对加速内容资源的管理策略和所述内容分发网络设备组中的目标
内容分发网络设备的缓存策略中的至少一个进行调整
5 .根据权利要求4所述的访问日志分析方法其中所述基于所述聚合统计运算结果按
预设策略进行处理得到告警信息包括
根据所述聚合统计运算结果判断第二目标域名是否具有加速权限
在所述第二目标域名不具有加速权限的情况下生成所述告警信息
6 .根据权利要求1所述的访问日志分析方法所述对所述用户访问日志文件进行聚合
统计运算得到的聚合统计运算结果后该方法还包括
将所述聚合统计运算结果显示在网站门户上
7 .根据权利要求1所述的访问日志分析方法所述对所述用户访问日志文件进行聚合
统计运算得到的聚合统计运算结果之前该方法还包括
对所述用户访问日志文件进行预处理其中预处理后的用户访问日志文件满足分布
式文件存储系统的存储格式
8.一种访问日志分析系统包括
日志文件获取模块用于接收内容分发网络设备组上传的用户访问日志文件
日志文件数据处理模块用于对所述用户访问日志文件进行聚合统计运算得到的聚合
统计运算结果
控制模块用于根据所述聚合统计运算结果向内容分发管理系统发送控制信号所述
控制信号用于指示所述内容分发管理系统对加速内容资源的管理策略和所述内容分发网
络设备组中的目标内容分发网络设备的缓存策略中的至少一个进行调整
9 .根据权利要求8所述的访问日志分析系统还包括
权 利 要 求 书
1/2
2
CN 117353962 A
2
of 13
免费下载
【版权声明】本文为墨天轮用户原创内容,转载时必须标注文档的来源(墨天轮),文档链接,文档作者等基本信息,否则作者和墨天轮有权追究责任。如果您发现墨天轮中有涉嫌抄袭或者侵权的内容,欢迎发送邮件至:contact@modb.pro进行举报,并提供相关证据,一经查实,墨天轮将立刻删除相关内容。

评论

关注
最新上传
暂无内容,敬请期待...
下载排行榜
Top250 周榜 月榜