
作者:Satoshi Nakamoto
邮箱:satoshin@gmx.com
网站:www.bitcoin.org
[摘要]:本文提出了一种完全通过点对点技术实现的电子现金系统,它使得在线支付
能够直接由一方发起并支付给另外一方,中间不需要通过任何的金融机构。虽然数
字签名(Digital signatures)部分解决了这个问题,但是如果仍然需要第三方的支持
才能防止双重支付(double-spending)的话,那么这种系统也就失去了存在的价值。
我们(we)在此提出一种解决方案,使现金系统在点对点的环境下运行,并防止双重支
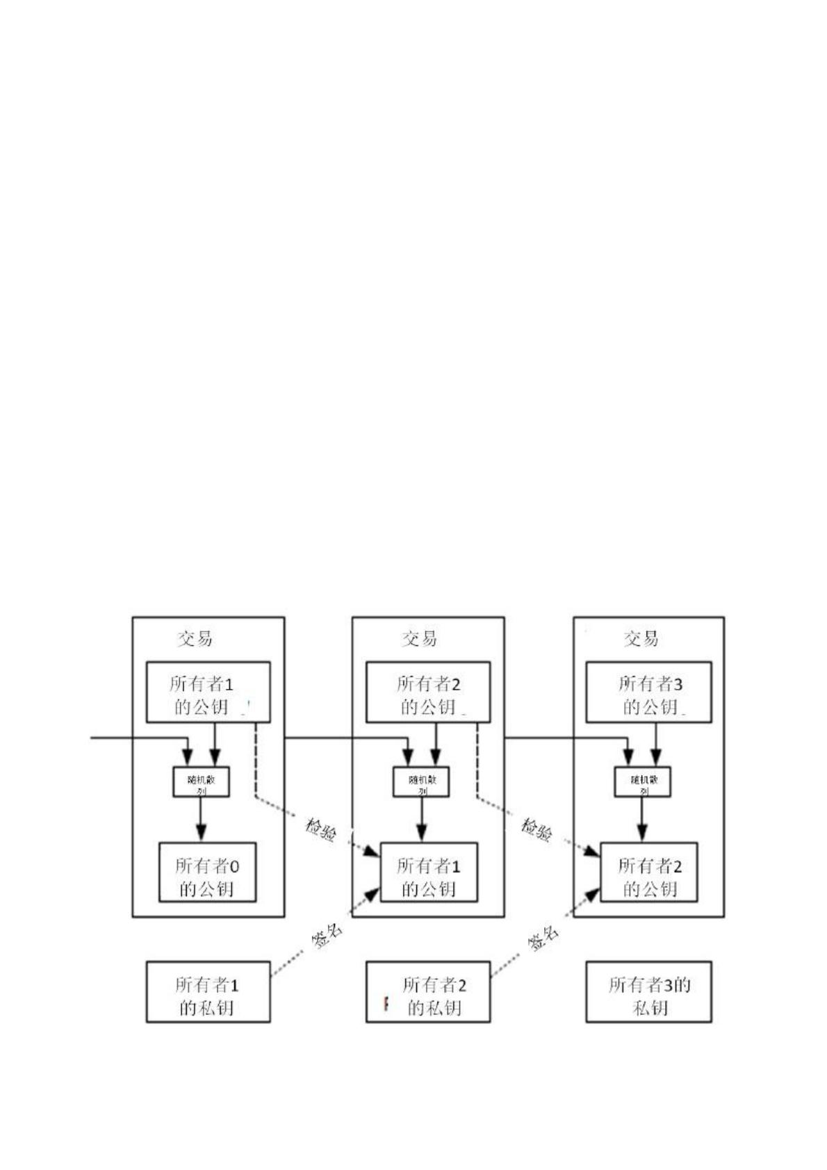
付问题。该网络通过随机散列(hashing)对全部交易加上时间戳(timestamps),
将它们合并入一个不断延伸的基于随机散列的工作量证明(proof-of-work)的链条作
为交易记录,除非重新完成全部的工作量证明,形成的交易记录将不可更改。最长
的链条不仅将作为被观察到的事件序列(sequence)的证明,而且被看做是来自 CPU
计算能力最大的池(pool)。只要大多数的 CPU 计算能力都没有打算合作起来对全
网进行攻击,那么诚实的节点将会生成最长的、超过攻击者的链条。这个系统本身
需要的基础设施非常少。信息尽最大努力在全网传播即可,节点(nodes)可以随时离
开和重新加入网络,并将最长的工作量证明链条作为在该节点离线期间发生的交易
互联网上的贸易,几乎都需要借助金融机构作为可资信赖的第三方来处理电子支付信息。
虽然在绝大多数情况下这类系统都运作良好,但是这类系统仍然内生性地受制于“基于信用的
模式”(trust based model)的弱点。人们无法实现完全不可逆的交易,因为金融机构总是不可避
免地会出面协调争端。而金融中介的存在,也会增加交易的成本,并且限制了实际可行的最小
交易规模,也限制了日常的小额支付交易。并且潜在的损失还在于,很多商品和服务本身是无
法退货的,如果缺乏不可逆的支付手段,互联网的贸易就大大受限。因为有潜在的退款的可能,
评论