暂无图片
暂无图片
暂无图片
暂无图片
暂无图片
一种分布式数据库负载均衡预测方法和预测分析器_CN-105550323-B_孙乔_北京万里开源软件, 国网信息通信产业集团.pdf
474
17页
2次
2021-11-13
免费下载
(19)中华人共和国国家知识产
(12)发明专
(10)授权公告号
(45)授权公告
(21)请号 201510938406.9
(22)请日 2015 .12 .15
(65)一申请的已公布文献号
布号 CN 105550323 A
(43)请公布日 2016 .05 .04
(73)专利权人 北京中普华信息技术有
地址 100085 北京市海淀区清河小营东路
15号
专利权人 国家 
国网浙江力有公司 
国网冀北力有 
北京中飞华通信股份有限公 
北京万里开源软件有 
国网信息通信产业集限公
(72)发明人 孙乔 王思宁 付兰梅  
吴舜 
(74)专利代理机构 北京风雅颂专利代理有
11403
代理人 李阳
(51)Int.Cl .
G06F
16/27
(2019 .01)
G06F
16/21
(2019 .01)
G06N
3/08
(2006.01)
(56)文件
CN 104239194 A ,2014 .12.24 ,说明书
[0025]-[0031] .
CN 103678004 A ,2014 .03.26 ,全文 .
审查
(54)
布式衡预方法
分析器
(57)摘要
发明种分负载
方法和预测分析器采集每个本地数据节点
上的指标训练始化
环神经网络模型练集数据中提取一段时间
数据作为多层循环神经网络模型输入
据中段时后同段的
数据作为多层循环神经网络模型输出训练所
述多层循环神经网络模型练集数提取
该同等时间数据之后且相时间段的数
作为多层循环神经网络模型的输入该本
节点指标所述布式
负载衡预测方和预测分器能更为
负载据的进行
测。
权利要求书3页 说明书8页 附图5页
CN 105550323 B
2020.04.28
CN 105550323 B
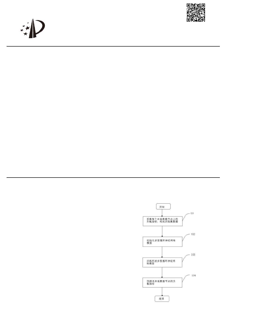
1 .一种分布式数据库负载均衡预测方法其特征在于包括步骤
集每地数节点上的指标构成训练集数其中所述指标CPU
率R
c
内存率R
m
网络下行速度S
d
及网络上行速度S
u
并且一秒采集一次所
负载指标共采集2T秒构成练集数据L=[R
c
,R
m
,S
d
,S
u
]
初始化多层循环神经网络模型确定多层循神经网络模型的隐层个及多层循
神经网络模型每层的神经元个数n
m
将多层循环神经网络模型输入层和每个隐藏层的
经元之间网络连接权重 机初始化并记做
练集数据中提取第1条至第T条数据并且将每组数据通过如下公式进行
x
i
=[1 ,sin(L(i)) ,cos(L(i))]
射后数据作为多层循环神经网络模型输入x
i
练集数据中提取第T+1条至第2T条数据作为多层循环神经络模型的输出y
i
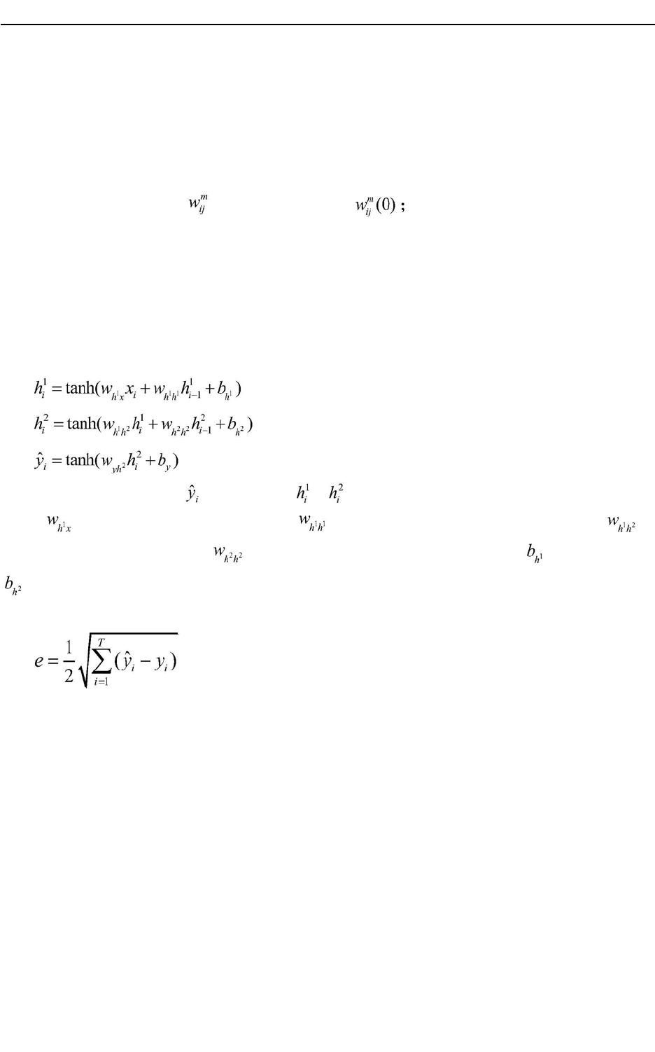
所述多层循环经网络模型
通过如下公式计算多层循环神经网络模型每个含层输出
其中x
i
为网输入 为网输出 别代第一层隐层和第二层隐层的
输出 为h
1
层与输入之间的权重矩 为h
1
层不时间序列之间权重矩阵
h
1
层与h
2
层之间的权重矩阵 为h
2
层不同时间列之间的重矩阵 为h
1
层的偏置
为h
2
偏置b
y
为输出层偏置tanh为激活函数
计算多层循环神经网络模型每个含层输出误差根据如下公
计算得的对多神经型的部权
所述输出误差在预设的允许范围内多层循环神经网络模型练结
训练集数据中提取第T+1条至第2T条将第T+1条第2T条数据作为多层循环
神经网络模型的输入多层循环经网络模型的输出为预测2T+1至3T时间段的本地数据节
负载指标。
2.种多层循环神经络预测分析器其特征在于包括
采集用于采集地数节点上的指标构成训练其中
述数采集单元的载指标包括CPU用率R
c
R
m
络下行速度S
d
及网络上
度S
u
所述采集单元秒采一次述的负载采集2T秒构成
练集数据L=[R
c
,R
m
,S
d
,S
u
]
初始用于始化神经模型定多神经型的
层个数以及多层循环神经网络模型每神经元个数n
m
将多层循环神经网络模型输
权 利 要 求 书
1/3
2
CN 105550323 B
2
of 17
免费下载
【版权声明】本文为墨天轮用户原创内容,转载时必须标注文档的来源(墨天轮),文档链接,文档作者等基本信息,否则作者和墨天轮有权追究责任。如果您发现墨天轮中有涉嫌抄袭或者侵权的内容,欢迎发送邮件至:contact@modb.pro进行举报,并提供相关证据,一经查实,墨天轮将立刻删除相关内容。

评论

关注
最新上传
暂无内容,敬请期待...
下载排行榜
Top250 周榜 月榜