暂无图片
暂无图片
暂无图片
暂无图片
暂无图片
数据库查询方法、服务器和系统_CN110309171B_陈由峰.pdf
154
26页
0次
2021-12-27
免费下载
(19)中华人民共和国国家知识产权局
(12)发明专利
(10)授权公告号
(45)授权公告日
(21)申请号 201810162856.7
(22)申请日 2018.02 .26
(65)同一申请的已公布的文献号
申请公布号 CN 110309171 A
(43)申请公布日 2019.10 .08
(73)专利权人 华为技术有
地址 518129 广东省深圳市龙岗区坂田华
为总部办公楼
(72)发明人 陈由峰 
(74)专利代理机构 北京中博世达专利商标代理
11274
代理人
(51)Int.Cl.
G06F
16/2453
(2019 .01)
G06F
16/2457
(2019 .01)
(56)对比文件
CN 101021874 A ,2007 .08 .22
CN 101788992 A ,2010 .07 .28
CN 102073490 A ,2011 .05 .25
CN 102156740 A ,2011 .08 .17
CN 105260403 A ,2016 .01 .20
CN 106547796 A ,2017 .03 .29
US 9146957 B2,2015 .09 .29
CN 105279276 A ,2016 .01 .27
US 8285708 B2,2012 .10 .09
谷震离 .基于SQL查询语句的查询优化方法 .
计算机时代》.2005 ,(第02期) ,
袁兆争等.基于SQL的HBase查询的设计与实
.计算机与现代化.2017 ,(第07期) ,
审查员 王辞
(54)发明
数据库查方法服务器和系统
(57)摘要
本申请公开了一种数据库查询方法、服务
系统及数库领用于防在先
后提询语句的
行。该数据库查询方法包括接收查询语句对所
询语句进析以对应平台
物理语法其中
数据库平台并能指示所述查询语句的语法结
的图表示根据所述物理语法树得到所述查
询语句杂程度和待扫描的记录数根据所述
描的和复杂程度估述查
的资消耗指数据所述资源消耗指数将所述
询语句加入对应的队按照资源消耗从低至
高的列顺序执到查
结果。本申请实施例应用于数据库查询。
权利要求书2页 说明书11页 附图12页
CN 110309171 B
2021.08.20
CN 110309171 B
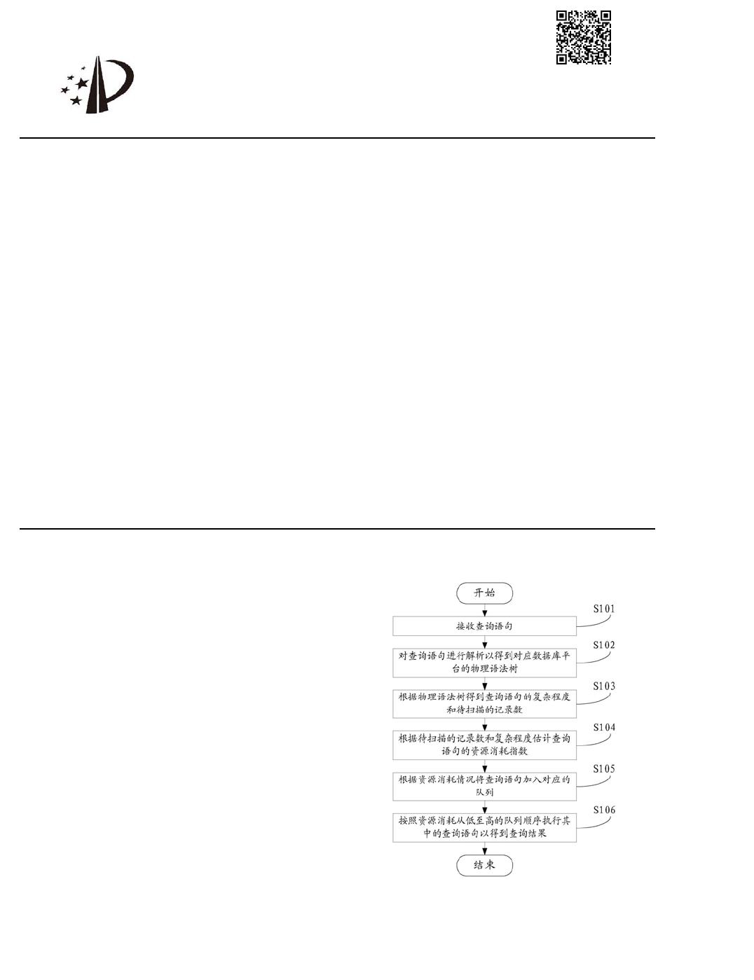
1 .一种数据库查询方法其特征在于包括
接收查询语句
询语句进析以对应平台物理语法
树指适配所述数据库平台并能够指示所述查询语句语法结构的表示
根据所述物理语法树得到所述查杂程度和待扫描记录数
根据所述待扫描记录数和杂程度估计所述查资源消耗指数
根据所述资源指数将所述查询语句加入对应的队
按照资源消耗从低至高的队列顺序执行其中的查询语句得到查询结果。
2.据权利要求1所述的特征在于所述对所述查询语句进行解析以到语
包括
对所述查询语句进行解析得逻辑语法述逻辑语法树中包括供户查找的逻辑
字段和逻辑表
据逻辑配置对所述逻辑语法树解析到各据库平台对应的物理法树所述
理语法树中包括各数据库平台中实际存储的物理字和物理表述逻辑表配置中包括所
述逻辑字段、逻辑表与所述物理字段、物理表的映射关系。
3 .据权利要求1所述的特征所述据所述物理法树到所述查询语
的复杂程度和待扫描记录数包括
根据所述物理语法树中来自子句得到被查询物理表的
根据所述物理表称从元数据系统中获取所述物理表中包括扫描记录数
根据所述物理语法树中操作的复杂程度计算得到所述查杂程度。
4 .据权利要求13任一项所述的方法其特在于述根据所扫描的记录
杂程度估计所述查询语句资源消耗指数包括
估计所述资消耗指数=所述扫描的记录数*K1+所述复杂程度*K2 ,其中K1和K2为
例系数K1+K2=1且K1>0K2>0。
5 .根据权利要求13任一项所述的方法其特征在于所述方法还包括
询语句的实际耗时询语句的描的和复杂程度之
间的映射关系。
6 .根据权利要求5所述的方法其特征在于所述方法还包括
询语句的描的和复杂程度以及所述映系估
的执行耗时
7 .一种数据库查询服务器其特征在于包括
接收单元用于接收查询语句
解析单元用于对所述接收接收的询语句进行解析以到对应数库平台的
理语法其中所述物理语法树指适配所述数据库平台并能够指示所述查询语语法
结构的表示
获取单元用于根据所述解析单元解析的物理法树到所述查询语杂程
待扫描记录数
估计单元用于根据所述获取单元到的扫描的录数和复杂程估计所询语
的资源消耗指数
权 利 要 求 书
1/2
2
CN 110309171 B
2
of 26
免费下载
【版权声明】本文为墨天轮用户原创内容,转载时必须标注文档的来源(墨天轮),文档链接,文档作者等基本信息,否则作者和墨天轮有权追究责任。如果您发现墨天轮中有涉嫌抄袭或者侵权的内容,欢迎发送邮件至:contact@modb.pro进行举报,并提供相关证据,一经查实,墨天轮将立刻删除相关内容。

评论

关注
最新上传
暂无内容,敬请期待...
下载排行榜
Top250 周榜 月榜