暂无图片
暂无图片
暂无图片
暂无图片
暂无图片
溯源分析报告(模板供参考).docx
1562
6页
11次
2022-05-10
免费下载
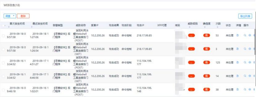
攻击者画像:发现利用冰蝎 Webshell 工具连接后门
一、事件描述
发现攻击者尝试用冰蝎 Webshell 工具连接后门。冰蝎
是一款使用加密方式连接后门程序的客户端工具。攻击者
正在连接并访问后门程序。
受害主机可能已经被植入后门、远控或木马,导致受
害主机已经沦陷,成为傀儡机。
二、行为分析
通过对传输的数据包进行分析,发现以下 1 个账号存
在弱口令登录行为。天眼告警中发现利用冰蝎 Webshell
具连接后门告警
经过天眼告警分析,发现以下两个网站存在冰蝎后门:
xxx.xxx.org
xxx.xxx.xxx.org:8080
其中 xxx.xxx.org webshell 地址为:
xxx.xxx.org/apk/14/hf1t.jsp
xxx.xxx.xxx.org:8080 webshell 地址为:
xxx.xxx.xxx.org:8080/gd_interface/shell.jsp
of 6
免费下载
【版权声明】本文为墨天轮用户原创内容,转载时必须标注文档的来源(墨天轮),文档链接,文档作者等基本信息,否则作者和墨天轮有权追究责任。如果您发现墨天轮中有涉嫌抄袭或者侵权的内容,欢迎发送邮件至:contact@modb.pro进行举报,并提供相关证据,一经查实,墨天轮将立刻删除相关内容。

评论

关注
最新上传
暂无内容,敬请期待...
下载排行榜
Top250 周榜 月榜