
比特币白皮书:一种点对点的电子
现金系统
1. 简介
互联网上的贸易,几乎都需要借助金融机构作为可资信赖的第三方来处理电子支付信息。虽
然这类系统在绝大多数情况下都运作良好,但是这类系统仍然内生性地受制于“基于信用的
模式”(trust based model)的弱点。我们无法实现完全不可逆的交易,因为金融机构总是
不可避免地会出面协调争端。而金融中介的存在,也会增加交易的成本,并且限制了实际可
行的最小交易规模,也限制了日常的小额支付交易。并且潜在的损失还在于,很多商品和服
务本身是无法退货的,如果缺乏不可逆的支付手段,互联网的贸易就大大受限。因为有潜在
的退款的可能,就需要交易双方拥有信任。而商家也必须提防自己的客户,因此会向客户索
取完全不必要的个人信息。而实际的商业行为中,一定比例的欺诈性客户也被认为是不可避
免的,相关损失视作销售费用处理。而在使用物理现金的情况下,这些销售费用和支付问题
上的不确定性却是可以避免的,因为此时没有第三方信用中介的存在。
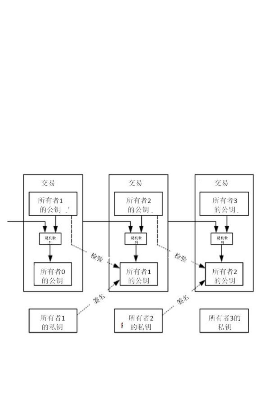
所以,我们非常需要这样一种电子支付系统,它基于密码学原理而不基于信用,使得任何达
成一致的双方,能够直接进行支付,从而不需要第三方中介的参与。杜绝回滚(reverse)支
付交易的可能,这就可以保护特定的卖家免于欺诈;而对于想要保护买家的人来说,在此环
境下设立通常的第三方担保机制也可谓轻松加愉快。在这篇论文中,我们(we)将提出一种通
过点对点分布式的时间戳服务器来生成依照时间前后排列并加以记录的电子交易证明,从而
文档被以下合辑收录
评论