🐇玉兔迎春至,榜单焕新颜。 2023年2月,兔年开年的 墨天轮中国数据库流行度排行 火热出炉,本月共有259个数据库参与排名,排行榜样式去掉了较上月和半年前得分差的数据显示,更加聚焦各产品之间的排名变化以及当月的得分差距。本月榜单前十可以概括为:人大金仓上升两名排名有突破,AnalyticDB 进军榜单第九,OTO组合稳健开局。

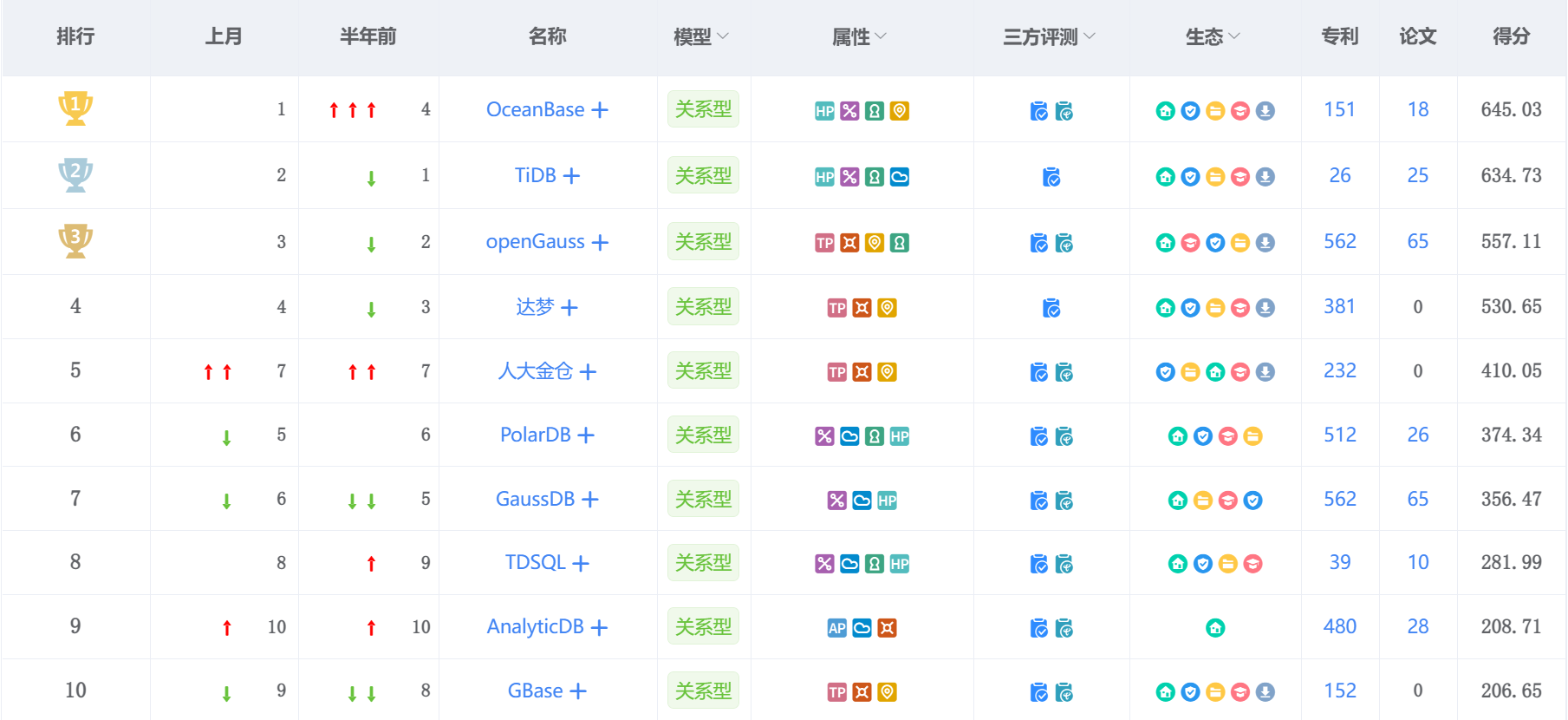
(2023年2月排行榜TOP10得分详情表)
目 录
一、厚积薄发竞前十
在本月排行榜前十中,OTO组合稳健开局。OceanBase 连续三月问鼎榜首,给年度榜首之主带来了悬念。排行榜前四获得者较上月虽未发生变化,但是各厂商之间的得分差距有所拉大,尤其是前三中第二名与第三名之间的得分差距达到了77.62分。此外,人大金仓、AnalyticDB 强势来袭,给后续榜单各产品的排名带来了更多可能性。 接下来具体看看排行榜前十名的得分以及排名情况。
-
以645.03分连续三个月雄踞榜首的 OceanBase 专利新增14个,是本月得以维持榜首的主要原因。 从2020年6月 OceanBase 开启商业化至今,经过两年多的发展,其在技术创新以及生态建设等方面取得了丰硕的成果。上月,其联合墨天轮举办的第五届技术征文大赛获奖名单公布吸引了众多朋友关注,为其增加了热度。
-
本月 TiDB 以10.3分的分数差距位列第二,排名较上月未发生变化。 2023年1月5日,TiDB 6.5 LTS 发版,这个版本作为 TiDB 版本6的第二个长期支持版,是推荐企业级用户采用的最新版本。TiDB 自2022年12月排名有所下滑,暂未回归最高位的原因是其近日将精力主要放在开发产品,较少注重外部宣传,热度有所下降。
-
openGauss 自2022年12月以来,已经连续三个月摘得探花。 2022年其联合了10+企业,在多地开展了openGauss Meetup,有效地提升了在各地的知名度,热度也有显著的提升。近日,其成功入选 《墨天轮2022年度中国数据库墨力象限》 中的领导者象限,代表 openGauss 产品及服务能力强,市场销售表现好,客户满意度较高,同时有清晰完整的未来战略。
(墨天轮2022年度中国数据库墨力象限)
-
达梦排名较上月未发生变化,以530.65分处于第四名的位置。 新年伊始,达梦开启了逐梦新征程。市场方面,其在四川省住建厅多个业务系统陆续上线,成功替换原国外主流数据库,彰显了其产品和性能都能接受住检验。距上市“临门一脚”的达梦深受行业瞩目,达梦上市也将成为国产数据库史上一次重要的里程碑事件。
-
人大金仓以410.05分排名较上月跃升两位至第五,这也是自2019年9月以来,取得的历史排名最高位。 上月,人大金仓获得了多项殊荣,其荣登“科创中国”先导技术榜、获得“2022信创产业数据库领域实干者企业”称号。市场开拓上,其成功中标湖北省武汉市公安局核心业务系统,为武汉市公安局多个核心业务系统提供数据库技术支撑及服务,这也是客户对金仓的信任。多个事项宣传导致金仓热度飙升,排名提升明显。
-
排名较上月下降一位的 PolarDB ,本月以374.34分排名第六。 近日,PolarDB 获评墨天轮 2022年度最具影响力数据库奖,这代表其在学术成果、生态建设、市场份额等方面都具有领导性作用,在中国数据库行业具有强大的号召力和凝聚力。
(墨天轮2022年度数据库获奖名单)
-
云数据库的另一个佼佼者 GaussDB 本月排名顺次下降一位,现以17.87分的分数差距位列榜单第七。 GaussDB 是华为云主打政企核心业务负载的企业级分布式数据库旗舰产品,其紧跟技术前沿、全面协同产学研用、积极扩大伙伴生态圈,但是在线下推广上的力度还不够,所以导致了本月排名下降。
-
TDSQL 本月排名与上月保持一致,以第八名的地位优势彰显了其成就。 其目前已经成功应用在金融、政府、电信、医疗等行业的核心业务系统,能够真正实现降本增效。自腾讯发布了统一的数据库品牌已经两年有余,TDSQL 也一直开拓海外市场,赢得了多方的认可,整体表现不俗。
-
连续15个月蝉联排行榜第十的 AnalyticDB ,2023年2月排名取得了重要进展。 其本月反超 GBase,位列第九。 作为阿里云的一款数据库产品,AnalyticDB 近年来始终立足创新,一直围绕数据价值从实时数仓再到湖仓一体化,支撑了多个业务。厚积薄发,AnalyticDB 的排名有了质的提升。
-
GBase 以2.06分的分数劣势暂退一位至榜单第十。 GBase 作为传统四大数据库厂商之一,自成立之日起努力实现关键核心技术领域的突破,积极推动区域内部的技术、人才合作。本月 GBase 以微弱劣势排名第十,与其12月宣传、线下推广力度有关。
二、“库”中能者露锋芒
经过了2022年一年的积淀,2023年2月榜单有众多数据库排名有了质的飞跃,他们主要集中于关系型数据库领域,在各自的细分领域崭露头角。

(2023年2月排行榜能者得分详情表)
-
在榜单11-20这一赛段内,神舟通用排名跃升最多,提升了13个位次,现排名第16,这也是其自2022年5月以来,拥有的最优地位。2022年神舟通用完成了260余款产品的兼容适配工作,在政府、航天、军工等行业形成了众多标杆案例。其在航天领域拥有不可撼动的地位,通过多年的持续深耕,热度有所升温。
-
KunDB 是星环科技基于分布式技术自主研发的国产分布式交易型数据库,其本月排名较上月上升5位至第23名。近日,KunDB 成功入选墨天轮2022年中国数据库墨力象限中的挑战者象限,这表明其产品及服务能力较强,实力不可低估。此外,KunDB 与国产主流软硬件信创厂商高度适配,可实现低成本数据库国产化迁移和替代,受到了业内用户的赞许。
-
本月排名较上月提升35位的 SelectDB 是飞轮科技基于 Doris 内核研发的云原生发行版,是运行在云上的实时数据仓库。自2022年4月,飞轮科技在正式成立的第四个月,就完成超3亿元的天使轮和天使+轮融资。在资本的助力之下,SelectDB 在开源社区、产品创新、生态建设等方面高歌猛进,蒸蒸日上。
-
自主研发的国产“硬核”分布式 HTAP 数据库 Hubble,是天云数据公司旗下的一款数据库产品,本月排名上升8位至第35名,新增3个专利。其本月专利的新增和在市场竞争中日积月累的沉淀,多重因素的叠加促使 Hubble 数据库得到了更多的关注。
-
易鲸捷自主研发的一款高可靠、高兼容、高扩展、高安全、易使用、易管理的融合型分布式数据库 QianBase,本月排名较上月飙升99位,现排名第44名。其应用于金融、通信运营商、5G物联网、政务、智能制造等多个领域,能够满足用户多样的需求。
三、海外厂商份额正逐年下降
2021年中国数据库市场规模超200亿元,信创渗透率约为16%,中国数据库市场规模为36亿元,有望于2027年超250亿元。Oracle、IBM 等国外厂商凭借先发优势在数据库市场中占据有利地位。根据 IDC 数据,2021年下半年,在国内关系型数据库市场中,Oracle、微软、SAP、IBM 份额总和近45%。根据亿欧智库发布的 《2022中国信创产业竞争力研究报告》,随着信创的推广,中国数据库厂商奋起直追,打造了多个标杆案例。市场份额逐步上升,达梦、人大金仓数据库份额分别约为11%和5%。
在金融、电信等重点行业,由于业务系统要求复杂,国外数据库份额仍然较高。 以金融行业为例,国外厂商占据90%以上的份额。其中,Oracle 以其稳定性、功能黏性、服务保障体系完善性占据大比例市场份额,而 DB2 以一体机捆绑销售方式,也根植于银行现有数据库体系中。

目前政府端数据库国产化已经取得了阶段性成果,金融、电信行业由于对于风险的容忍度极低,因此在数据库选型上也更加的小心谨慎,这类重点行业国产替代存量空间大。中国数据库厂商从金融领域突围,进而向其他行业进行拓展的策略正在逐步得到验证。例如:OceanBase 在银行业的应用、GaussDB 在金融、电信行业的稳定上线,这些数据库在中国数据库的市场中也占据着优势地位。可以说、电信、金融等领域将成为中国数据库厂商的下一块“淘金地”。
四、总结
躬身入局,挺膺负责。 近几个月的榜单排名显示出中国数据库厂商渐成寡头格局,这是中国数据库市场竞争优胜劣汰的结果,也是多年来厂商们厚积薄发的成就。随着达梦、星环陆续申请上市,中国数据库进入了快速发展期,国产化替代已成确定性趋势。各家厂商要注意找准自家产品的竞争优势,逐步完善生态建设,紧跟技术趋势和市场需求提前布局,方可寻求破局之道。
👏👏欢迎大家在评论区一起共话2月中国数据库排行榜。限于篇幅,笔者不在此罗列1月国产数据库大事记,感兴趣的朋友可以点此查看:《2023年1月国产数据库大事记》。
更多阅读:
《2023年1月国产数据库大事记》:https://www.modb.pro/db/608990
《2022 中国信创产业竞争力研究报告》:https://www.modb.pro/doc/96157




